TOP
|
特許
|
意匠
|
商標
特許ウォッチ
Twitter
他の特許を見る
10個以上の画像は省略されています。
公開番号
2025144231
公報種別
公開特許公報(A)
公開日
2025-10-02
出願番号
2024043908
出願日
2024-03-19
発明の名称
建具
出願人
株式会社LIXIL
代理人
個人
,
個人
,
個人
主分類
E06B
1/56 20060101AFI20250925BHJP(戸,窓,シャッタまたはローラブラインド一般;はしご)
要約
【課題】屋外側の部材が垂れ下がることを防止できる建具を提供する。
【解決手段】躯体11に固定された金属製の既設枠21に取り付けられる新設枠31を有し、新設枠31は、屋外側に設けられる金属製の屋外側部材42と、屋内側に設けられる金属製の屋内側部材41と、屋外側部材42と屋内側部材41との間に設けられ屋外側部材42と屋内側部材41とを連結する樹脂製のブリッジ材43と、屋外側部材42を既設枠21に固定する屋外側固定部材45と、を有する。
【選択図】図5
特許請求の範囲
【請求項1】
躯体に固定された金属製の既設枠に取り付けられる新設枠を有し、
前記新設枠は、
屋外側に設けられる金属製の屋外側部材と、
屋内側に設けられる金属製の屋内側部材と、
前記屋外側部材と前記屋内側部材との間に設けられ前記屋外側部材と前記屋内側部材とを連結する樹脂製のブリッジ材と、
前記屋外側部材を前記既設枠に固定する屋外側固定部と、を有する建具。
続きを表示(約 560 文字)
【請求項2】
前記新設枠は、
前記屋内側部材を前記既設枠に固定する屋内側固定部を有する請求項1に記載の建具。
【請求項3】
前記屋外側固定部と前記既設枠との間に設けられ、前記屋外側固定部を前記既設枠に固定する固定補助部材を有する請求項1に記載の建具。
【請求項4】
前記新設枠は、
前記屋内側部材を前記既設枠に固定する屋内側固定部を有し、
前記固定補助部材は、前記屋内側固定部である請求項3に記載の建具。
【請求項5】
前記屋外側固定部は、
屋外側に位置し前記屋外側部材に固定される新設枠固定部と、
屋内側に位置し前記既設枠に固定される既設枠固定部と、
前記新設枠固定部と前記既設枠固定部の間に位置し前記新設枠固定部と前記既設枠固定部とを接続する接続部と、を有し、
前記新設枠固定部は、前記接続部の屋外側の端部から上下方向の一方側に突出し、
前記既設枠固定部は、前記接続部の屋内側の端部から上下方向の他方側に突出している請求項1または2に記載の建具。
【請求項6】
前記新設枠は、前記接続部と前記新設枠固定部とがなす角部が重なって配置される受け角部を有する請求項5に記載の建具。
発明の詳細な説明
【技術分野】
【0001】
本開示は、建具に関する。
続きを表示(約 1,900 文字)
【背景技術】
【0002】
従来、建物の建具を改装する際に、新設する建具の枠を既存の建具の枠の内側に設置し、建物の躯体に固定している。新設する建具には、アルミなどの金属と樹脂との複合サッシが用いられる。このような場合、建具の断熱性能を高めるために、屋内側に設けられる金属製の部材と屋外側に設けられる金属製の部材とを樹脂製のブリッジ材で連結している(例えば、特許文献1参照)。
【先行技術文献】
【特許文献】
【0003】
特開2023-040306号公報
【発明の概要】
【発明が解決しようとする課題】
【0004】
新設する建具の枠にブリッジ材が設けられている場合、屋内側の部材のみを建物の躯体に固定すると、屋外側の部材が垂れ下がる虞がある。
【0005】
本開示は、屋外側の部材が垂れ下がることを防止できる建具を提供することを目的とする。
【課題を解決するための手段】
【0006】
上記目的を達成するため、本開示に係る建具は、躯体に固定された金属製の既設枠に取り付けられる新設枠を有し、前記新設枠は、屋外側に設けられる金属製の屋外側部材と、屋内側に設けられる金属製の屋内側部材と、記屋外側部材と前記屋内側部材との間に設けられ前記屋外側部材と前記屋内側部材とを連結する樹脂製のブリッジ材と、前記屋内側部材を前記既設枠に固定する屋内側固定部材と、前記屋外側部材を前記既設枠に固定する屋外側固定部材と、を有する。
【図面の簡単な説明】
【0007】
第1実施形態による建具の鉛直断面図である。
第1実施形態による建具の水平断面図である。
既設の建具の鉛直断面図である。
既設の建具の水平断面図である。
第1実施形態の新設上枠の鉛直断面図である。
第1実施形態の新設下枠の鉛直断面図である。
第1実施形態の第1新設縦枠の水平断面図である。
第2実施形態の新設上枠の鉛直断面図である。
第2実施形態の新設下枠の鉛直断面図である。
第2実施形態の第1新設縦枠の水平断面図である。
【発明を実施するための形態】
【0008】
(第1実施形態)
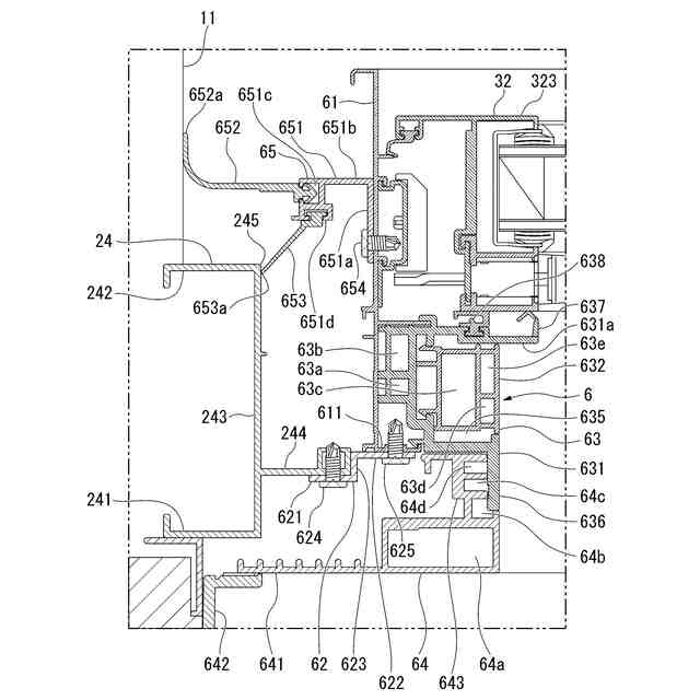
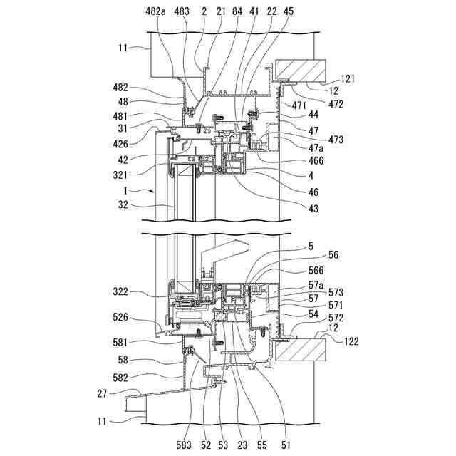
図1および図2に示すように、第1実施形態による建具1は、建物の躯体11に固定されている既設建具2の改装を行う際に新設される建具である。建具1は、横すべり出し窓である。建具1は、枠31と、障子32と、を有する。枠31は、既設枠21の内側に設置される。枠31は、既設枠21を覆うように設けられる。新設される建具1の枠31を新設枠31と表記する。既設建具2は、金属製のサッシである。新設される建具1は、金属と樹脂の複合サッシである。屋内と屋外とを結ぶ方向を屋内外方向と表記し、屋内外方向に直交する水平方向を幅方向と表記する。
【0009】
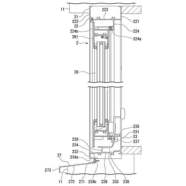
図3および図4に示すように、既設枠21は、既設上枠22、既設下枠23、一対の既設縦枠24,25と、を有する。既設上枠22および既設下枠23は、幅方向に延びている。既設上枠22および既設下枠23は、それぞれ上下方向全体にわたって略同じ断面形状である。一対の既設縦枠24,25は、上下方向に延びている。一対の既設縦枠24,25は、それぞれ幅方向全体にわたって略同じ断面形状である。
【0010】
図3に示すように、既設上枠22は、屋内板部221と、屋外板部222と、上板部223と、突出板部224と、を有する。屋内板部221、屋外板部222および突出板部224は、それぞれ平板状である。屋内板部221、屋外板部222および突出板部224の板面は、屋内外方向を向いている。屋内板部221は、屋外板部222の屋内側に間隔をあけて設けられている。上板部223は、平板状である。上板部223の板面は、上下方向を向いている。上板部223の屋内側の端部は、屋内板部221の下端部と接続されている。上板部223の屋外側の端部は、屋外板部222の下端部と接続されている。突出板部224は、上板部223の屋内外方向の中間部から下方に突出している。突出板部224の下端部には、既存の障子26の上框261と接触する気密材224bが取り付けられている気密材取付部224aが設けられている。気密材取付部224aは、突出板部224よりも屋外側に突出している。既設枠21に新設枠31を取り付ける際には、気密材取付部224aから気密材224bが取り外される。
(【0011】以降は省略されています)
この特許をJ-PlatPat(特許庁公式サイト)で参照する
関連特許
株式会社LIXIL
建具
1か月前
株式会社LIXIL
トイレ装置
1か月前
株式会社LIXIL
トレーラー
16日前
株式会社LIXIL
シリンダ錠
1か月前
株式会社LIXIL
シャワー装置
1日前
株式会社LIXIL
湯水混合装置
14日前
株式会社LIXIL
カーテンウォール
1か月前
株式会社LIXIL
洗浄水タンク装置
1か月前
株式会社LIXIL
二重窓の改装方法
7日前
株式会社LIXIL
カーテンウォール
1か月前
株式会社LIXIL
可燃性ガス回収装置
1か月前
株式会社LIXIL
カバー材及び改装建具
22日前
株式会社LIXIL
カバー材及び改装建具
22日前
株式会社LIXIL
カバー材及び改装建具
22日前
株式会社LIXIL
ドア開閉装置及びドア
1日前
株式会社LIXIL
混合装置及び水回り装置
28日前
株式会社LIXIL
建具及び建具の施工方法
1か月前
株式会社LIXIL
シリンダ錠及び建物設備機器群
1か月前
株式会社LIXIL
ソファベッド、及び、トレーラー
16日前
株式会社LIXIL
支援装置、支援プログラム、及び方法
1か月前
株式会社LIXIL
トイレ装置、トイレシステム及び排卵推測装置
1か月前
株式会社LIXIL
太陽光発電給電シート、建物およびペリカバー
1か月前
株式会社LIXIL
物品収納提案装置、物品収納提案方法、端末装置
1か月前
株式会社LIXIL
床モジュール、床構造体及び床構造体の施工方法
1か月前
株式会社LIXIL
管理装置、管理方法、及びコンピュータプログラム
22日前
株式会社LIXIL
管理装置、管理方法、及びコンピュータプログラム
22日前
株式会社LIXIL
管理装置、管理方法、及びコンピュータプログラム
22日前
株式会社LIXIL
液膜装置、液膜形成方法、制御装置、及び水回り装置
16日前
株式会社LIXIL
開き窓
1日前
株式会社LIXIL
屋根構造体
1か月前
株式会社LIXIL
改装サッシ
1か月前
株式会社LIXIL
表示制御装置、表示制御システム、プログラム及び表示制御方法
1か月前
株式会社LIXIL
吐水システム、浴室ユニット、コンピュータプログラム及び制御方法
1か月前
株式会社LIXIL
制御装置、コンピュータプログラム、調整方法、及び、制御システム
28日前
株式会社LIXIL
汚水処理装置、汚水処理システム、および汚水処理システムの施工方法
1か月前
大和ハウス工業株式会社
外壁の断熱改修構造および外壁の断熱改修方法
28日前
続きを見る
他の特許を見る