TOP
|
特許
|
意匠
|
商標
特許ウォッチ
Twitter
他の特許を見る
公開番号
2025145251
公報種別
公開特許公報(A)
公開日
2025-10-03
出願番号
2024045336
出願日
2024-03-21
発明の名称
太陽光発電給電シート、建物およびペリカバー
出願人
株式会社LIXIL
代理人
個人
主分類
H02S
40/34 20140101AFI20250926BHJP(電力の発電,変換,配電)
要約
【課題】発電した電力を有効に利用することのできる太陽光発電給電シートを提供する。
【解決手段】太陽光発電給電シート10は、シート状部材12と、シート状部材12に設けられた太陽電池セル14と、シート状部材12に設けられた、太陽電池セル14で発電された電力を受電コイルを有する電子デバイス30に出力するための送電コイル16と、を備える。
【選択図】図1
特許請求の範囲
【請求項1】
シート状部材と、
前記シート状部材に設けられた太陽電池セルと、
前記シート状部材に設けられた、前記太陽電池セルで発電された電力を受電コイルを有する電子デバイスに出力するための送電コイルと、
を備える太陽光発電給電シート。
続きを表示(約 570 文字)
【請求項2】
前記シート状部材は、太陽電池セルおよび前記送電コイルを内包する封止材と、前記封止材の上面に配置されるフロントシートと、前記封止材の下面に配置されるバックシートとを含む、請求項1に記載の太陽光発電給電シート。
【請求項3】
前記太陽電池セルで生じた電力の制御を行うための制御基板をさらに備える、請求項1に記載の太陽光発電給電シート。
【請求項4】
別の太陽光発電給電シートと電気的に接続可能に構成された、請求項1に記載の太陽光発電給電シート。
【請求項5】
縦方向に延びる方立と、
横方向に延びる無目と、
前記方立と前記無目とによって形成される開口部に配置されるガラスパネルと、
前記ガラスパネルの室内側に配置されるペリカバーと、
前記ペリカバーに配置される請求項1から4のいずれかに記載の太陽光発電給電シートと、
を備える建物。
【請求項6】
前記方立に設けられた太陽光発電シートをさらに備え、
前記太陽光発電シートで発電された電力が前記太陽光発電給電シートに供給される、請求項5に記載の建物。
【請求項7】
請求項1から4のいずれかに記載の太陽光発電給電シートが配置されているペリカバー。
発明の詳細な説明
【技術分野】
【0001】
本発明は、太陽光発電給電シート並びに該太陽光発電給電シートを用いた建物およびペリカバーに関する。
続きを表示(約 1,100 文字)
【背景技術】
【0002】
従来、複数の太陽電池セルを備える太陽光発電シートが知られている(例えば特許文献1参照)。
【先行技術文献】
【特許文献】
【0003】
特開2023-143885号公報
【発明の概要】
【発明が解決しようとする課題】
【0004】
しかしながら、特許文献1に開示されるような従来の発電機能を備える太陽光発電シートでは、発電した電力をどのように利用するのか開示されていない。
【0005】
本開示は、このような課題に鑑みてなされ、その目的は、発電した電力を有効に利用することのできる太陽光発電給電シートを提供することにある。
【課題を解決するための手段】
【0006】
上記課題を解決するために、本発明のある態様の太陽光発電給電シートは、シート状部材と、シート状部材に設けられた太陽電池セルと、シート状部材に設けられた、太陽電池セルで発電された電力を受電コイルを有する電子デバイスに出力するための送電コイルと、を備える。
【0007】
本発明の別の態様は、縦方向に延びる方立と、横方向に延びる無目と、方立と無目とによって形成される開口部に配置されるガラスパネルと、ガラスパネルの室内側に配置されるペリカバーと、ペリカバーに配置される上述の太陽光発電給電シートと、を備える建物である。
【0008】
本発明のさらに別の態様は、上述の太陽光発電給電シートが配置されているペリカバーである。
【図面の簡単な説明】
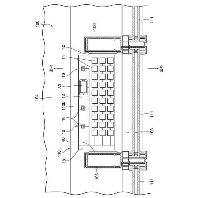
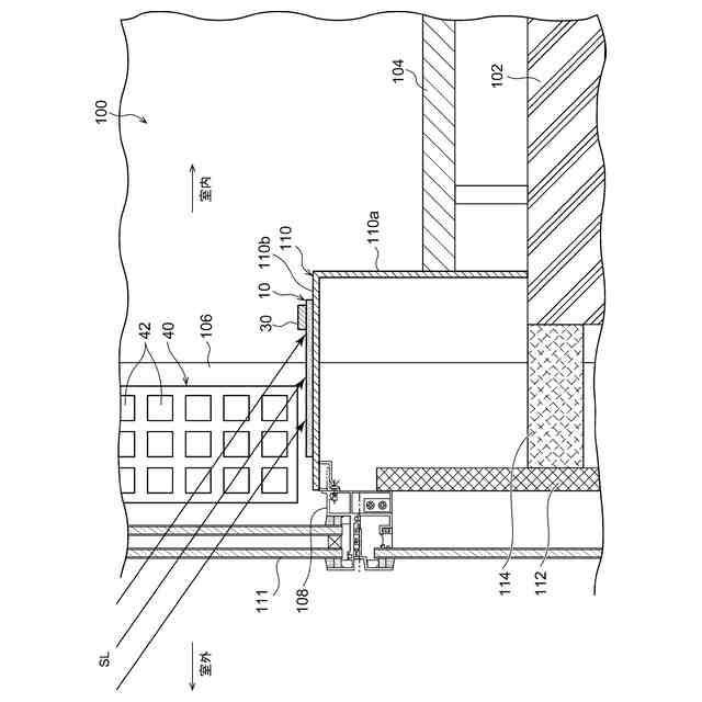
【0009】
実施形態に係る太陽光発電給電シートの概略平面図である。
図1に示す太陽光発電給電シートのA-A概略断面図である。
建物の開口部付近の概略縦断面図である。
建物の開口部付近の概略横断面図である。
【発明を実施するための形態】
【0010】
以下、本発明を好適な実施の形態をもとに図面を参照しながら説明する。以下の構成は本開示を理解するための例示を目的とするものであり、本開示の範囲は、添付の請求の範囲によってのみ定まる。各図面に示される同一または同等の構成要素、部材には、同一の符号を付するものとし、適宜重複した説明は省略する。また、各図面における部材の寸法は、理解を容易にするために適宜拡大、縮小して示される。また、各図面において実施の形態を説明する上で重要ではない部材の一部は省略して表示する。
(【0011】以降は省略されています)
この特許をJ-PlatPat(特許庁公式サイト)で参照する
関連特許
株式会社LIXIL
建具
25日前
株式会社LIXIL
トイレ装置
25日前
株式会社LIXIL
カーテンウォール
18日前
株式会社LIXIL
カーテンウォール
18日前
株式会社LIXIL
カバー材及び改装建具
5日前
株式会社LIXIL
カバー材及び改装建具
5日前
株式会社LIXIL
カバー材及び改装建具
5日前
株式会社LIXIL
建具及び建具の施工方法
25日前
株式会社LIXIL
混合装置及び水回り装置
11日前
株式会社LIXIL
シリンダ錠及び建物設備機器群
28日前
株式会社LIXIL
支援装置、支援プログラム、及び方法
21日前
株式会社LIXIL
物品収納提案装置、物品収納提案方法、端末装置
25日前
株式会社LIXIL
床モジュール、床構造体及び床構造体の施工方法
14日前
株式会社LIXIL
管理装置、管理方法、及びコンピュータプログラム
5日前
株式会社LIXIL
管理装置、管理方法、及びコンピュータプログラム
5日前
株式会社LIXIL
管理装置、管理方法、及びコンピュータプログラム
5日前
株式会社LIXIL
屋根構造体
20日前
株式会社LIXIL
制御装置、コンピュータプログラム、調整方法、及び、制御システム
11日前
株式会社LIXIL
吐水システム、浴室ユニット、コンピュータプログラム及び制御方法
19日前
大和ハウス工業株式会社
外壁の断熱改修構造および外壁の断熱改修方法
11日前
株式会社LIXIL
制御装置、混合装置ユニット、水回り装置、コンピュータプログラム、及び制御方法
11日前
株式会社LIXIL
制御装置、混合装置ユニット、水回り装置、コンピュータプログラム、及び制御方法
11日前
株式会社LIXILトータルサービス
コンピュータープログラム、情報管理装置、端末装置、情報管理システム及び制御方法
25日前
個人
単極モータ
21日前
キヤノン電子株式会社
モータ
5日前
株式会社アイシン
ロータ
25日前
株式会社アイシン
ロータ
21日前
コーセル株式会社
電源装置
6日前
日本精機株式会社
サージ保護回路
28日前
西部電機株式会社
充電装置
28日前
西部電機株式会社
充電装置
28日前
日星電気株式会社
ケーブル組立体
13日前
トヨタ自動車株式会社
固定子
26日前
トヨタ自動車株式会社
製造装置
26日前
個人
連続ガウス加速器形磁力増幅装置
28日前
株式会社デンソー
回転機
19日前
続きを見る
他の特許を見る