TOP
|
特許
|
意匠
|
商標
特許ウォッチ
Twitter
他の特許を見る
10個以上の画像は省略されています。
公開番号
2025146713
公報種別
公開特許公報(A)
公開日
2025-10-03
出願番号
2025034606
出願日
2025-03-05
発明の名称
トイレ装置、トイレシステム及び排卵推測装置
出願人
株式会社LIXIL
代理人
個人
,
個人
,
個人
主分類
A61B
10/00 20060101AFI20250926BHJP(医学または獣医学;衛生学)
要約
【課題】女性の月経開始日などを容易に推測して報知できるトイレ装置を提供すること。
【解決手段】トイレ装置1は、便座12と、便座12の表面に配置され、便座12に着座した人の体温を測定する体温測定センサ14と、体温測定センサ14により測定された人の体温に基づいて、女性の月経及び排卵に関する月経排卵情報を推測する推測部と、推測部182により推測された月経排卵情報の推測情報を外部に送信する送信部183と、を備える、トイレ装置に関する。
【選択図】図2
特許請求の範囲
【請求項1】
便座と、
前記便座の表面に配置され、前記便座に着座した人の体温を測定する体温測定センサと、
前記体温測定センサにより測定された人の体温に基づいて、女性の月経及び排卵に関する月経排卵情報を推測する推測部と、
前記推測部により推測された前記月経排卵情報の推測情報を外部に送信する送信部と、を備える、トイレ装置。
続きを表示(約 1,100 文字)
【請求項2】
前記月経排卵情報は、月経開始日、月経終了日、月経周期、排卵日、月経前症候群開始日、月経前症候群終了日及び月経前症候群期間の少なくともいずれか一以上である、請求項1に記載のトイレ装置。
【請求項3】
前記便座は、内側に開口部を有する環状に形成され、
前記体温測定センサにおける人の体温を検出する検出部は、平面視で、前記便座の環状部分の幅方向の中央に沿って延びる中央仮想ラインに対して、前記開口部側寄りに配置される、請求項1に記載のトイレ装置。
【請求項4】
前記便座は、内側に開口部を有する環状に形成され、
前記体温測定センサにおける人の体温を検出する検出部は、平面視で、前記便座の環状部分の幅方向の中央に沿って延びる中央仮想ラインに対して、前記開口部側の領域に配置される前記検出部の面積が、前記開口部と反対側の領域に配置される前記検出部の面積以上の面積割合となるように配置される、請求項1に記載のトイレ装置。
【請求項5】
前記便座は、前記体温測定センサにおける人の体温を検出する検出部が配置されるセンサ配置部分を有し、
前記センサ配置部分は、前記便座における前記センサ配置部分の周囲の表面よりも隆起して形成される、請求項1に記載のトイレ装置。
【請求項6】
前記体温測定センサにおける人の体温を検出する検出部は、前記便座の平面視で、前記便座の内部に収容される加温部に重ならない位置に配置される、請求項1に記載のトイレ装置。
【請求項7】
前記体温測定センサにおける人の体温を検出する検出部は、前記便座の内部に内蔵して配置され、
前記便座は、樹脂材料により形成され、前記体温測定センサの前記検出部が配置される部分の前記樹脂材料の肉厚が前記検出部の周囲の部分の肉厚よりも薄く形成される、請求項1に記載のトイレ装置。
【請求項8】
前記体温測定センサは、前記便座に人が着座した場合における人の前後方向に並んで配置される複数の検出部を有する、請求項1に記載のトイレ装置。
【請求項9】
前記推測部は、前記複数の検出部から取得した体温データのうち、最も高い温度、あるいは、予め定められた温度範囲の中で最も高い体温データを採用して、女性の月経及び排卵に関する月経排卵情報を推測する、請求項8に記載のトイレ装置。
【請求項10】
前記複数の検出部は、前記便座に人が着座した場合における人の前後方向に等間隔で並んで配置される、請求項8に記載のトイレ装置。
(【請求項11】以降は省略されています)
発明の詳細な説明
【技術分野】
【0001】
本開示は、女性の月経開始日などを推測するトイレ装置及びトイレシステムに関する。
続きを表示(約 2,600 文字)
【背景技術】
【0002】
従来、女性の尿の尿温度を測定して、測定された尿温の変化に基づいて月経周期から月経開始日などを推測することで、その推測した月経開始日などの結果を表示により報知するトイレ装置が知られている(例えば、特許文献1参照)。特許文献1に記載のトイレ装置においては、女性の尿の尿温度を測定する場合において、尿温度を赤外線センサで計測したり、尿受けにより尿を採取して尿温度を温度計で測定する。
【先行技術文献】
【特許文献】
【0003】
特開2005-30992号公報
【発明の概要】
【発明が解決しようとする課題】
【0004】
特許文献1に記載のような、女性の尿の尿温度を測定して月経周期などを推測する技術では、尿をセンサに検知させることや尿受けに狙いを定めることが難しく、ユーザーにとって不便であり、積極的に使用することが難しかった。そのため、月経開始日、月経終了日、月経周期、排卵日、月経前症候群(PMS)開始日、PMS終了日、およびPMS期間(以下、これらを総称して「女性の月経開始日など」とも言う)を容易に推測できることが求められている。
【0005】
本開示は、女性の月経開始日などを容易に推測して報知できるトイレ装置及びトイレシステムを提供することを目的とする。
【課題を解決するための手段】
【0006】
本開示は、便座と、前記便座の表面に配置され、前記便座に着座した人の体温を測定する体温測定センサと、前記体温測定センサにより測定された人の体温に基づいて、女性の月経及び排卵に関する月経排卵情報を推測する推測部と、前記推測部により推測された前記月経排卵情報の推測情報を外部に送信する送信部と、を備える、トイレ装置に関する。
【図面の簡単な説明】
【0007】
第1実施形態のトイレ装置を示す図である。
第1実施形態のトイレ装置の機能ブロック図である。
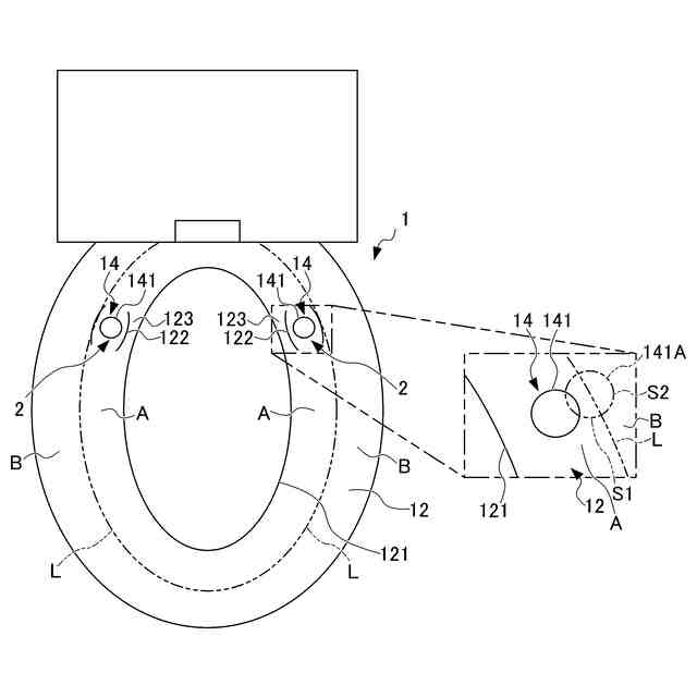
便座に設けられる体温測定センサの検出部の配置について説明する図である。
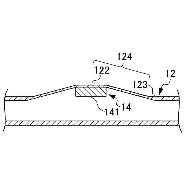
便座に設けられる体温測定センサの検出部を配置する部分を隆起させた形状とした場合を示す断面図である。
便座に設けられる体温測定センサの検出部をヒータの電熱線が配置される位置を避けて配置した状態を示す図である。
基礎体温法における月経周期の一例を示すグラフである。
トイレ装置を女性の使用者が使用する場合のフローを示すフローチャートである。
第2実施形態のトイレ装置において、便座に複数のセンサを並べて配置した状態を示す図である。
第2実施形態のトイレ装置の機能ブロック図である。
人が便座に着座した場合の位置ずれを検知する方法を説明する図であって、人が便座に深く着座した場合を示す図である。
人が便座に着座した場合の位置ずれを検知する方法を説明する図であって、人が便座に浅く着座した場合を示す図である。
第3実施形態の体温測定センサの便座への取り付け状態を示す断面図である。
リモコン端末の表示部に表示される第1表示例を示す図である。
リモコン端末の表示部に表示される第2表示例を示す図である。
第4実施形態の排卵推測装置を備える後付け便座を示す図である。
第4実施形態の排卵推測装置を備える後付け便座が取り付けられた便座を示す図である。
第5実施形態の排卵推測装置が取り付けられた便座を示す図である。
【発明を実施するための形態】
【0008】
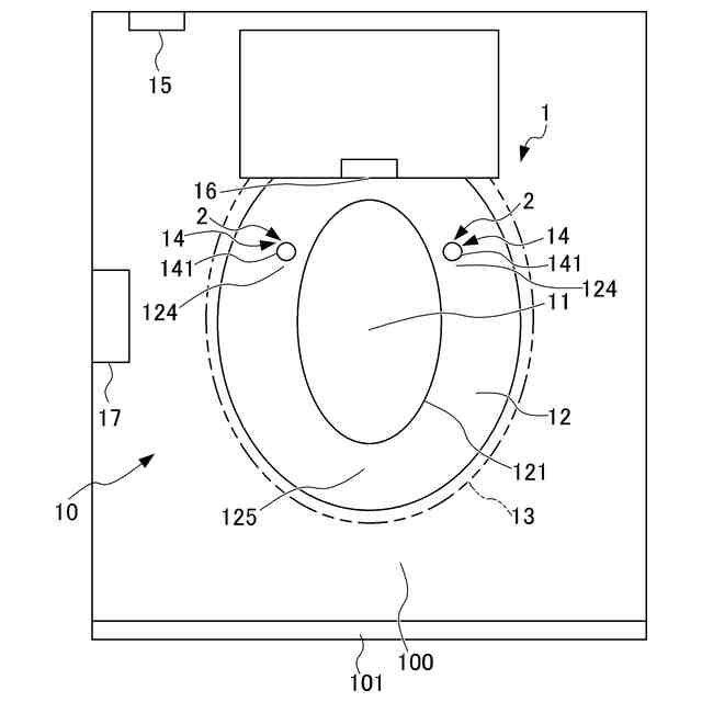
以下、本開示の実施形態について図面を参照しながら詳細に説明する。以下の説明において、便座12に着座した使用者から見た場合の前後の向きを前後方向とする。便座12に着座した使用者から見た場合の左右の向きを左右方向とする。便器11が設置される床面に対する鉛直方向に沿う上下の向きを上下方向とする。
【0009】
第1実施形態のトイレ装置1は、女性特有の健康管理を行うため、女性の使用者が便座12に着座することで便座12に設けられた体温測定センサ14により女性の体温を日々測定して、日々測定した女性の使用者の体温に基づいて、女性の月経及び排卵に関する月経排卵情報、つまり、女性特有の月経開始日、月経終了日、月経周期、排卵日、月経前症候群(PMS)の開始日、PMSの終了日、PMS期間を推測し、月経開始推測日、月経終了推測日、推測月経周期、排卵推測日、月経前症候群(PMS)の開始推測日、PMSの終了推測日、推測PMS周期を報知する装置である。また、トイレ装置1は、日々測定した女性の使用者の体温に基づいて、過去の排卵日なども推測し、推測した過去の排卵日を報知する機能も有する。
【0010】
図1及び図2に示すように、トイレシステム10は、トイレ装置1と、リモコン端末17(報知部)と、を備える。トイレ装置1は、トイレ室100に配置される。トイレ装置1の前方側には、トイレ室100への人の入退出時に開閉される扉101が取り付けられている。トイレ装置1は、便器11と、便座12と、便蓋13と、体温測定センサ14と、入室センサ15と、着座センサ16と、制御部18(図2参照)と、を備える。便座12は、人が着座する着座部を構成する。トイレ装置1は、排卵推測装置2を備える。排卵推測装置2は、体温測定センサ14と、制御部18と、を備える。排卵推測装置2は、便座12に設けられた体温測定センサ14により女性の体温を日々測定して、日々測定した女性の使用者の体温に基づいて、女性の月経及び排卵に関する月経排卵情報、つまり、女性特有の月経開始日、月経終了日、月経周期、排卵日、月経前症候群(PMS)の開始日、PMSの終了日、PMS期間を推測し、月経開始推測日、月経終了推測日、推測月経周期、排卵推測日、月経前症候群(PMS)の開始推測日、PMSの終了推測日、推測PMS周期を推測する。本実施形態においては、制御部18は、トイレ装置1の制御部と排卵推測装置2の制御部との両方を兼ねている。
(【0011】以降は省略されています)
この特許をJ-PlatPat(特許庁公式サイト)で参照する
関連特許
株式会社LIXIL
建具
19日前
株式会社LIXIL
トイレ装置
19日前
株式会社LIXIL
カーテンウォール
12日前
株式会社LIXIL
カーテンウォール
12日前
株式会社LIXIL
混合装置及び水回り装置
5日前
株式会社LIXIL
建具及び建具の施工方法
19日前
株式会社LIXIL
シリンダ錠及び建物設備機器群
22日前
株式会社LIXIL
支援装置、支援プログラム、及び方法
15日前
株式会社LIXIL
物品収納提案装置、物品収納提案方法、端末装置
19日前
株式会社LIXIL
床モジュール、床構造体及び床構造体の施工方法
8日前
株式会社LIXIL
屋根構造体
14日前
株式会社LIXIL
表示制御装置、表示制御システム、プログラム及び表示制御方法
22日前
株式会社LIXIL
吐水システム、浴室ユニット、コンピュータプログラム及び制御方法
13日前
株式会社LIXIL
制御装置、コンピュータプログラム、調整方法、及び、制御システム
5日前
大和ハウス工業株式会社
外壁の断熱改修構造および外壁の断熱改修方法
5日前
株式会社LIXIL
制御装置、混合装置ユニット、水回り装置、コンピュータプログラム、及び制御方法
5日前
株式会社LIXIL
制御装置、混合装置ユニット、水回り装置、コンピュータプログラム、及び制御方法
5日前
株式会社LIXILトータルサービス
コンピュータープログラム、情報管理装置、端末装置、情報管理システム及び制御方法
19日前
個人
貼付剤
2日前
個人
短下肢装具
3か月前
個人
嚥下鍛錬装置
3か月前
個人
前腕誘導装置
3か月前
個人
排尿補助器具
15日前
個人
アイマスク装置
2か月前
個人
矯正椅子
5か月前
個人
腰ベルト
5日前
個人
歯の修復用材料
4か月前
個人
ウォート指圧法
13日前
個人
バッグ式オムツ
4か月前
個人
胸骨圧迫補助具
1か月前
個人
汚れ防止シート
1か月前
個人
哺乳瓶冷まし容器
3か月前
個人
シャンプー
6か月前
個人
歯の保護用シール
5か月前
個人
陣痛緩和具
3か月前
個人
湿布連続貼り機。
2か月前
続きを見る
他の特許を見る