TOP
|
特許
|
意匠
|
商標
特許ウォッチ
Twitter
他の特許を見る
公開番号
2025145670
公報種別
公開特許公報(A)
公開日
2025-10-03
出願番号
2024045969
出願日
2024-03-22
発明の名称
可燃性ガス回収装置
出願人
株式会社LIXIL
,
東京瓦斯株式会社
,
東京ガスエンジニアリングソリューションズ株式会社
代理人
個人
,
個人
,
個人
主分類
C25D
21/04 20060101AFI20250926BHJP(電気分解または電気泳動方法;そのための装置)
要約
【課題】安全性に優れ、かつ回収した可燃性ガスの利用価値を向上できる可燃性ガス回収装置を提供すること。
【解決手段】液中から発生する可燃性ガスを回収する回収室を有し、回収室は、液中に浸漬される、可燃性ガス回収装置。可燃性ガスは、例えば電解液中に浸漬される電極表面から発生する水素である。回収室は、電極の一面側と、一面側と対向する他面側とにそれぞれ配置される一対の回収室であることが好ましい。回収室と電極との間、及び電極同士の間には閉塞材が配置されることが好ましい。
【選択図】図1
特許請求の範囲
【請求項1】
液中から発生する可燃性ガスを回収する回収室を有し、
前記回収室は、前記液中に浸漬される、可燃性ガス回収装置。
続きを表示(約 750 文字)
【請求項2】
前記可燃性ガスは、水素である、請求項1に記載の可燃性ガス回収装置。
【請求項3】
前記可燃性ガスは、電解液中に浸漬される電極表面から発生する、請求項1に記載の可燃性ガス回収装置。
【請求項4】
前記回収室は、前記電極の一面側と、前記一面側と対向する他面側とにそれぞれ配置される一対の回収室である、請求項3に記載の可燃性ガス回収装置。
【請求項5】
前記回収室と前記電極との間には、閉塞材が配置される、請求項3又は4に記載の可燃性ガス回収装置。
【請求項6】
複数の前記電極が列状に配置され、
隣接する前記電極の間には、アスカー硬度が8~50である閉塞材が配置される、請求項5に記載の可燃性ガス回収装置。
【請求項7】
前記回収室から前記可燃性ガスを吸引する吸引部を有し、
複数の前記回収室のうち少なくとも一部は連結されていると共に、
連結された複数の前記回収室に回収される前記可燃性ガスは、単一の前記吸引部によって吸引される、請求項1に記載の可燃性ガス回収装置。
【請求項8】
複数の前記回収室を連結する流路は、複数段階で分岐するトーナメント構造を有する、請求項7に記載の可燃性ガス回収装置。
【請求項9】
前記回収室から前記可燃性ガスを吸引する吸引部と、
前記回収室内の圧力を検出する検出部と、
前記吸引部により前記可燃性ガスを吸引する流量を調整可能な調整部と、を有し、
前記調整部は、前記検出部により検出された前記回収室内の圧力に応じて前記可燃性ガスを吸引する流量を調整する、請求項1に記載の可燃性ガス回収装置。
発明の詳細な説明
【技術分野】
【0001】
本開示は、可燃性ガス回収装置に関する。
続きを表示(約 1,700 文字)
【背景技術】
【0002】
近年、環境保全及び省エネルギーの観点から、産業活動において発生する水素、メタンガス等の可燃性ガスを、燃料等の資源として有効活用しようとする試みが注目されている。例えば、アルミニウムのアルマイト処理時に、電極から発生する可燃性ガスである水素を回収して利用する試みが知られている(例えば、特許文献1参照)。
【先行技術文献】
【特許文献】
【0003】
特開2023-57600号公報
【発明の概要】
【発明が解決しようとする課題】
【0004】
特許文献1に開示された技術は、可燃性ガスを回収する回収室内を大気圧に対して正圧に維持するように、不活性ガスの圧力を調整するものである。しかし、上記技術は、回収室が仮に破損した場合に、回収室内に空気が流入する可能性があるため、安全性の面で改善の余地がある。上記に加えて、不活性ガスの圧力を調整するための構成にコストを要する上、回収した可燃性ガスに不活性ガスが混入することで、回収した可燃性ガスの濃度が低下(変動)して利用価値が低下するという課題もある。
【0005】
本開示は、上記に鑑みてなされたものであり、安全性に優れ、かつ回収した可燃性ガスの利用価値を向上できる可燃性ガス回収装置を提供することを目的とする。
【課題を解決するための手段】
【0006】
本開示は、液中から発生する可燃性ガスを回収する回収室を有し、前記回収室は、前記液中に浸漬される、可燃性ガス回収装置に関する。
【図面の簡単な説明】
【0007】
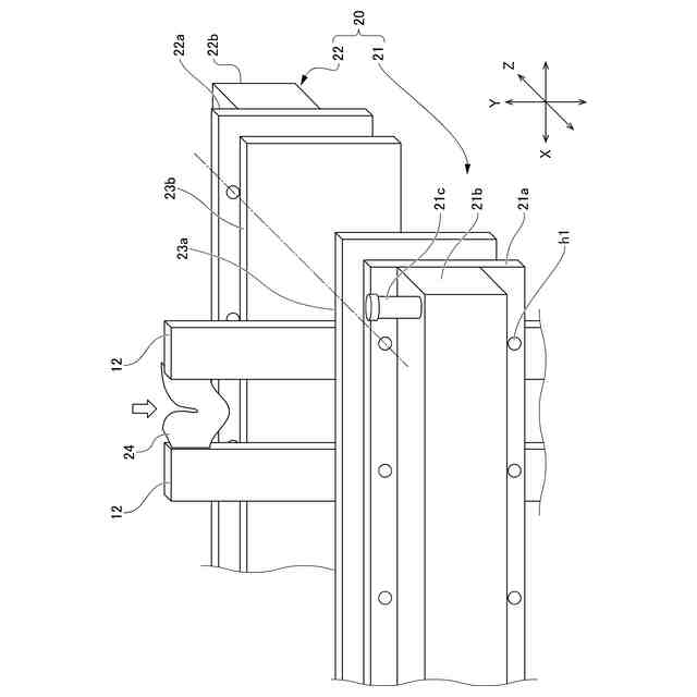
第1実施形態に係る可燃性ガス回収装置の概要を示す図である。
第1実施形態に係る可燃性ガス回収装置の分解斜視図である。
第1実施形態に係る可燃性ガス回収装置の回収室の側面図である。
第2実施形態に係る可燃性ガス回収装置の概要を示す図である。
【発明を実施するための形態】
【0008】
(第1実施形態)
<可燃性ガス回収装置>
本実施形態に係る、可燃性ガス回収装置としての水素回収装置1は、可燃性ガスの発生源としての電解槽10から発生する、可燃性ガスとしての水素ガスを回収する装置である。本明細書において、「可燃性ガス」とは、上記例示した水素ガスだけでなく、空気との混合気が爆発範囲(燃焼範囲)を有する全てのガスを意味する。以下、可燃性ガス回収装置を、可燃性ガスとしての水素を回収する水素回収装置1として説明する。一方で、可燃性ガスとしては水素以外の可燃性ガスであってもよい。
【0009】
[電解槽]
可燃性ガスの発生源としての電解槽10は、例えば、アルミニウム材等の金属材料を被処理対象とする陽極酸化処理に用いられる電解槽である。以下、可燃性ガスとしての水素を発生させる発生源を、上記陽極酸化処理に用いられる電解槽10として説明する。一方で、可燃性ガスの発生源としては、上記電解槽10に限定されず、水素以外の可燃性ガス、例えばメタンガスを発生させるメタン発酵槽等であってもよい。可燃性ガスとして水素を発生させる発生源としては、上記電解槽以外に、例えば、被処理対象の表面をエッチングして水素を発生させるエッチング槽であってもよい。
【0010】
電解槽10は、図1に示すように、電解液11が貯留された槽であり、一又は複数の陰極12が電解液11中に浸漬される。電解槽10に貯留された電解液11に対して、被処理対象であり陽極となるアルミ材(図示省略)及び対極になる陰極12を浸漬させる。この状態で通電することで、アルミ材の表面に陽極酸化皮膜(アルマイト皮膜)が形成され、陰極12の表面からは水素が発生する。電解液11としては、例えば、硫酸を含む水溶液が設けられる。陽極酸化処理によって発生する水素は、回収室20に流入する。回収室20の構成の詳細については後述する。
(【0011】以降は省略されています)
この特許をJ-PlatPat(特許庁公式サイト)で参照する
関連特許
株式会社LIXIL
トレーラー
18日前
株式会社LIXIL
湯水混合装置
16日前
株式会社LIXIL
シャワー装置
3日前
株式会社LIXIL
カーテンウォール
1か月前
株式会社LIXIL
二重窓の改装方法
9日前
株式会社LIXIL
カバー材及び改装建具
24日前
株式会社LIXIL
カバー材及び改装建具
24日前
株式会社LIXIL
カバー材及び改装建具
24日前
株式会社LIXIL
ドア開閉装置及びドア
3日前
株式会社LIXIL
混合装置及び水回り装置
1か月前
株式会社LIXIL
ソファベッド、及び、トレーラー
18日前
株式会社LIXIL
床モジュール、床構造体及び床構造体の施工方法
1か月前
株式会社LIXIL
管理装置、管理方法、及びコンピュータプログラム
24日前
株式会社LIXIL
管理装置、管理方法、及びコンピュータプログラム
24日前
株式会社LIXIL
管理装置、管理方法、及びコンピュータプログラム
24日前
株式会社LIXIL
液膜装置、液膜形成方法、制御装置、及び水回り装置
18日前
株式会社LIXIL
開き窓
3日前
株式会社LIXIL
制御装置、コンピュータプログラム、調整方法、及び、制御システム
1か月前
大和ハウス工業株式会社
外壁の断熱改修構造および外壁の断熱改修方法
1か月前
株式会社LIXIL
樹脂組成物成形体の製造方法
3日前
株式会社LIXIL
情報処理装置、サーバ、情報処理システム、情報処理方法および情報処理プログラム
3日前
株式会社LIXIL
制御装置、混合装置ユニット、水回り装置、コンピュータプログラム、及び制御方法
1か月前
株式会社LIXIL
制御装置、混合装置ユニット、水回り装置、コンピュータプログラム、及び制御方法
1か月前
株式会社セブン-イレブン・ジャパン
店舗営業支援システム
11日前
株式会社LIXIL
便器装置及び便器装置のカバー構造
16日前
株式会社LIXIL
ホームシステム、トリガー発生装置、トリガー発生方法およびトリガー発生プログラム
11日前
株式会社堤水素研究所
水電解装置
17日前
株式会社神戸製鋼所
接点材料
16日前
株式会社ケミカル山本
電解研磨装置用電極
17日前
本田技研工業株式会社
差圧式電解装置
1か月前
東レ株式会社
液体電解用多孔質輸送層およびその製造方法
16日前
メルテックス株式会社
極薄電解銅箔及びその製造方法
1か月前
株式会社デンソー
電解装置
18日前
旭化成株式会社
電解装置の運転方法
1か月前
大阪瓦斯株式会社
共電解メタネーション装置
1か月前
大阪瓦斯株式会社
共電解メタネーション装置
1か月前
続きを見る
他の特許を見る