TOP
|
特許
|
意匠
|
商標
特許ウォッチ
Twitter
他の特許を見る
10個以上の画像は省略されています。
公開番号
2025166381
公報種別
公開特許公報(A)
公開日
2025-11-06
出願番号
2024070369
出願日
2024-04-24
発明の名称
縦型ブラインド
出願人
株式会社ニチベイ
代理人
個人
,
個人
主分類
E06B
9/36 20060101AFI20251029BHJP(戸,窓,シャッタまたはローラブラインド一般;はしご)
要約
【課題】第1キャリアの操作部材によって第2キャリアのルーバーを移動させる際、操作コードをヘッドレール内で安定して移動させることができる縦型ブラインドを提供する。
【解決手段】縦型ブラインド1は、ヘッドレール2と、操作部材が連結される第1キャリア8と、ルーバーを支持する第2キャリア10と、複数のキャリアを移動操作可能とする操作コード4と、操作コード4をヘッドレール2の他端部側で折り返すためのエンドユニット5とを備える。操作コード4の一端は、ヘッドレール2の他端部側の端部キャリアにヘッドレール2の他端部側から導かれたのち連結され、エンドユニット5は、操作部材を介して第1キャリア8をヘッドレール2の他端部側に移動操作することにより弛緩状態となった操作コード4が当接する傾斜状のガイド部57を備える。
【選択図】図10
特許請求の範囲
【請求項1】
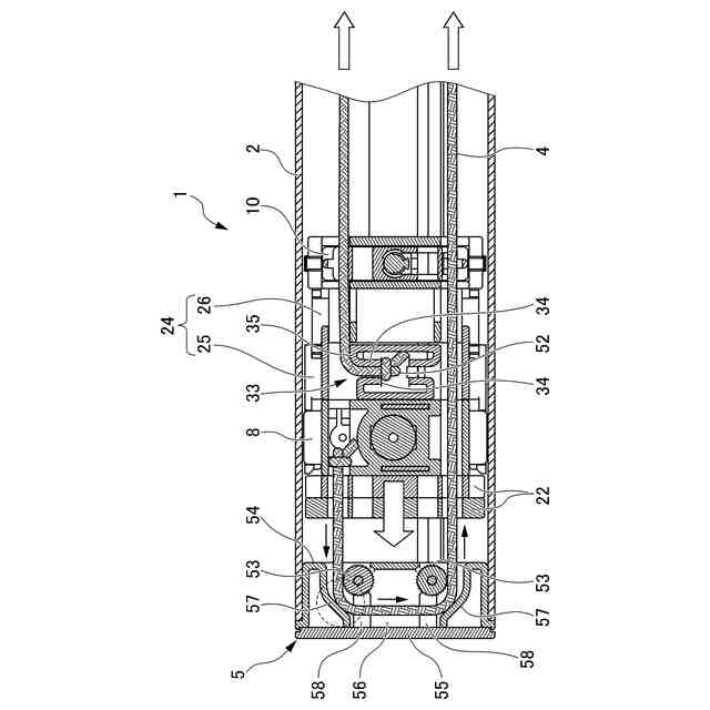
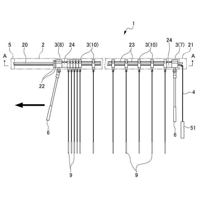
中空状のヘッドレールと、
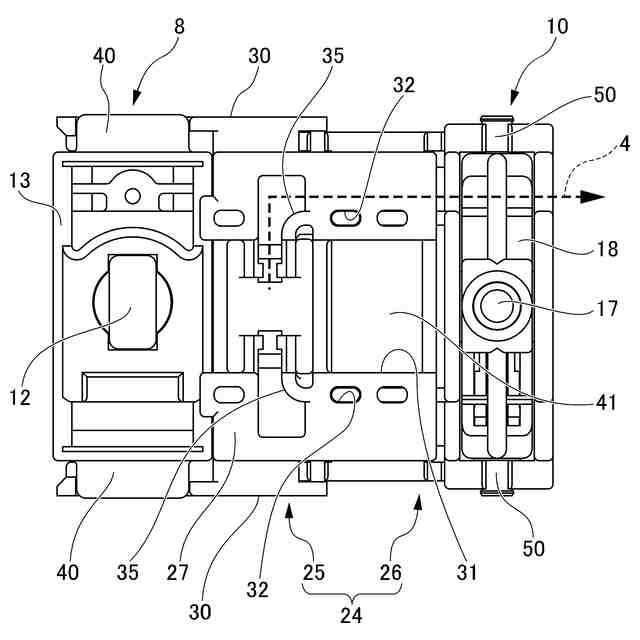
前記ヘッドレール内を長手方向に沿って移動可能に設けられ、操作部材が連結される第1キャリアと、ルーバーを吊下支持する第2キャリアとを含む複数のキャリアと、
前記ヘッドレール内に緊張状態で配回され、前記ヘッドレールの一端部から無端状に垂下して前記複数のキャリアを移動操作可能とする操作部を構成する操作コードと、
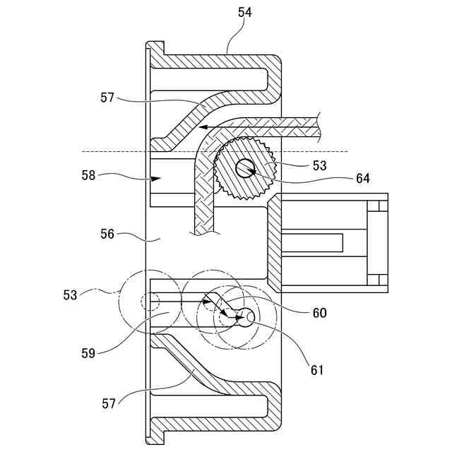
前記ヘッドレールの他端部に設けられ、前記操作コードを前記ヘッドレールの他端部側で折り返すためのエンドユニットと、を備え、
前記操作コードは、その一端が前記ヘッドレールの一端部側の端部キャリア及び前記ヘッドレールの他端部側の端部キャリアの何れか一方の端部キャリアに前記ヘッドレールの他端部側から導かれたのち連結され、
前記エンドユニットは、前記操作部材を介して前記第1キャリアを前記ヘッドレールの他端部側に移動操作することにより弛緩状態となった前記操作コードが当接する傾斜状のガイド部を備える、縦型ブラインド。
続きを表示(約 580 文字)
【請求項2】
前記複数のキャリアは、前記ヘッドレールの一端部側の端部キャリア及び前記ヘッドレールの他端部側の端部キャリアの少なくとも何れか一方に前記第1キャリアを含む、請求項1に記載の縦型ブラインド。
【請求項3】
前記エンドユニットは、前記操作コードを折り返すためのローラーを備え、
前記ローラーは、緊張状態にある前記操作コードが前記ガイド部に当接しない位置に配置される、請求項1に記載の縦型ブラインド。
【請求項4】
前記ローラーは、前記ヘッドレールの長手方向に延びる直線に対して、前記ガイド部とオーバーラップする位置に配置される、請求項3に記載の縦型ブラインド。
【請求項5】
前記エンドユニットは、前記ローラーを挿入させて取付可能にする取付溝と前記ガイド部とが形成されたケースを備え、前記ケースに前記ローラーが取り付けられることで構成される、請求項3に記載の縦型ブラインド。
【請求項6】
前記取付溝は、
前記ローラーが前記ガイド部とオーバーラップしない位置から前記ローラーを挿入可能な挿入部と、
前記挿入部に連接され、前記挿入部に挿入された前記ローラーを前記ガイド部とオーバーラップする位置まで案内する案内部と、を有する、請求項5に記載の縦型ブラインド。
発明の詳細な説明
【技術分野】
【0001】
本発明は、縦型ブラインドに関する。
続きを表示(約 1,700 文字)
【背景技術】
【0002】
従来、下記特許文献1に開示されるように、ルーバー(スラット)を吊下支持する複数のキャリア(ランナー)をヘッドレール(ハンガーレール)内に移動可能に支持し、ヘッドレールの一端から無端状に垂下する操作コードで先頭キャリアを移動操作して各キャリアを移動させる操作方式の縦型ブラインドが知られている。この縦型ブラインドは、先頭キャリアに操作コードの端部を接続し、ヘッドレールには操作コードをヘッドレールの一端に案内する案内溝を設け、先頭キャリアには操作コードを案内溝に案内するガイド部を設けている。このような構成によれば、縦型ブラインドは、ヘッドレール内の案内溝に沿って操作コードを安定して移動させることができる。
【先行技術文献】
【特許文献】
【0003】
特開2006-183275号公報
【発明の概要】
【発明が解決しようとする課題】
【0004】
ところで、縦型ブラインドには、バトン等の操作部材が連結される第1キャリアとルーバーを吊下支持する第2キャリアとを含む複数のキャリアを備え、ヘッドレールの一端から無端状に垂下する操作コードの操作によってルーバーを移動させたり、操作部材を介して第1キャリアを移動操作することでルーバーを移動させたりできる操作方式のものがある。
【0005】
この種の操作方式の縦型ブラインドでは、操作部材を介して第1キャリアを勢いよくヘッドレールの他端側に移動操作した場合、操作コードが弛緩状態となりフケることで、操作コードがヘッドレール内を安定して移動することができなくなるという課題があった。このような課題は、その操作方式特有の課題であるため、操作方式の異なる特許文献1の縦型ブラインドの構成を適用しても解消できるものではない。
【0006】
本発明は、このような課題に鑑みてなされたものであり、第1キャリアに連結された操作部材の操作によって第2キャリアに吊下支持されたルーバーを移動操作する際に、操作コードをヘッドレール内で安定して移動させることができる縦型ブラインドを提供することを目的とする。
【課題を解決するための手段】
【0007】
本発明者は、ルーバーの移動時に弛緩状態となった操作コードが当接する傾斜状のガイド部が設けられた構成とすることで、上記の課題を解決できると考え、これに基づいて、以下のような新たな縦型ブラインドを発明するに至った。
【0008】
(1)本発明による縦型ブラインドは、中空状のヘッドレールと、前記ヘッドレール内を長手方向に沿って移動可能に設けられ、操作部材が連結される第1キャリアと、ルーバーを吊下支持する第2キャリアとを含む複数のキャリアと、前記ヘッドレール内に緊張状態で配回され、前記ヘッドレールの一端部から無端状に垂下して前記複数のキャリアを移動操作可能とする操作部を構成する操作コードと、前記ヘッドレールの他端部に設けられ、前記操作コードを前記ヘッドレールの他端部側で折り返すためのエンドユニットと、を備え、前記操作コードは、その一端が前記ヘッドレールの一端部側の端部キャリア及び前記ヘッドレールの他端部側の端部キャリアの何れか一方の端部キャリアに前記ヘッドレールの他端部側から導かれたのち連結され、前記エンドユニットは、前記操作部材を介して前記第1キャリアを前記ヘッドレールの他端部側に移動操作することにより弛緩状態となった前記操作コードが当接する傾斜状のガイド部を備える。
【0009】
(2)上記(1)において、前記複数のキャリアは、前記ヘッドレールの一端部側の端部キャリア及び前記ヘッドレールの他端部側の端部キャリアの少なくとも何れか一方に前記第1キャリアを含むのが好ましい。
【0010】
(3)上記(1)又は(2)において、前記エンドユニットは、前記操作コードを折り返すためのローラーを備え、前記ローラーは、緊張状態にある前記操作コードが前記ガイド部に当接しない位置に配置されるのが好ましい。
(【0011】以降は省略されています)
この特許をJ-PlatPat(特許庁公式サイト)で参照する
関連特許
株式会社ニチベイ
遮蔽装置
4日前
株式会社ニチベイ
遮蔽装置
1か月前
株式会社ニチベイ
縦型ブラインド
24日前
株式会社ニチベイ
ロールスクリーン
1か月前
株式会社ニチベイ
ブラインド用カバー装置
1か月前
株式会社ESP
止水板
3か月前
株式会社ナカオ
作業台
2か月前
中国電力株式会社
脚立
3か月前
株式会社ニチベイ
遮蔽装置
1か月前
三協立山株式会社
開口部装置
3か月前
三協立山株式会社
開口部装置
1か月前
三協立山株式会社
開口部装置
3か月前
三協立山株式会社
開口部建材
24日前
三協立山株式会社
開口部建材
24日前
三協立山株式会社
開口部装置
2か月前
三協立山株式会社
開口部装置
2か月前
三協立山株式会社
開口部装置
3か月前
ミサワホーム株式会社
水切り材
3か月前
豊田合成株式会社
調光装置
23日前
文化シヤッター株式会社
引戸装置
1か月前
株式会社ニチベイ
縦型ブラインド
3か月前
豊田合成株式会社
調光装置
1か月前
不二サッシ株式会社
引違いサッシ
1か月前
文化シヤッター株式会社
止水装置
1か月前
不二サッシ株式会社
引違いサッシ
2か月前
三協立山株式会社
サッシの製造方法
2か月前
株式会社LIXIL
太陽電池ガラス
2か月前
株式会社LIXIL
建具
1か月前
株式会社LIXIL
建具
1か月前
三協立山株式会社
エクステリア構成材
3か月前
株式会社LIXIL
建具
1か月前
株式会社LIXIL
建具
1か月前
株式会社LIXIL
建具
3か月前
倉敷紡績株式会社
外構ユニット
1か月前
三和シヤッター工業株式会社
水密構造
3か月前
株式会社LIXIL
建具
1か月前
続きを見る
他の特許を見る