TOP
|
特許
|
意匠
|
商標
特許ウォッチ
Twitter
他の特許を見る
10個以上の画像は省略されています。
公開番号
2025144435
公報種別
公開特許公報(A)
公開日
2025-10-02
出願番号
2024044204
出願日
2024-03-19
発明の名称
建具
出願人
株式会社LIXIL
代理人
個人
,
個人
,
個人
主分類
E06B
7/23 20060101AFI20250925BHJP(戸,窓,シャッタまたはローラブラインド一般;はしご)
要約
【課題】縦材の端部又は横材の端部の加工を少なくすることができる建具を提供すること。
【解決手段】建具1は、一対の縦材13,14と一対の横材11,12とを有し、枠組みされて構成されたフレーム体10と、縦材13,14及び横材11,12のいずれか一方の内周側に取り付けられる長尺のアタッチメント部材136,146と、アタッチメント部材136,146に取り付けられる部品138,148と、を備える。
【選択図】図3
特許請求の範囲
【請求項1】
一対の縦材と一対の横材とを有し、枠組みされて構成されたフレーム体と、
前記縦材及び前記横材のいずれか一方の内周側に取り付けられる長尺のアタッチメント部材と、
前記アタッチメント部材に取り付けられる部品と、を備える建具。
続きを表示(約 340 文字)
【請求項2】
前記部品は、前記アタッチメント部材の長手方向の全域に亘って配置される、請求項1に記載の建具。
【請求項3】
前記部品は、気密材である、請求項1又は2に記載の建具。
【請求項4】
前記アタッチメント部材は、前記縦材及び前記横材のいずれか一方に係合して取り付け可能な係合部分を有する、請求項1又は2に記載の建具。
【請求項5】
前記縦材及び前記横材は、枠体を構成する枠である、請求項1又は2に記載の建具。
【請求項6】
前記枠を有する枠体と、
前記枠体内に配置される障子と、を有し、
前記アタッチメント部材に取り付けられた前記部品は、前記障子に対向して配置される、請求項5に記載の建具。
発明の詳細な説明
【技術分野】
【0001】
本開示は、建具に関する。
続きを表示(約 2,800 文字)
【背景技術】
【0002】
従来、一対の縦枠(縦材)と一対の横枠(縦材)とが枠組みされた枠体(フレーム体)と、枠体内に配置される障子、を備える建具が知られている(例えば、特許文献1参照)。
【先行技術文献】
【特許文献】
【0003】
特開2018-3397号公報
【発明の概要】
【発明が解決しようとする課題】
【0004】
特許文献1に記載の建具においては、縦枠(縦材)と横枠(横材)とを組み合わせて取り付ける場合に、縦枠の端部又は横枠の端部を加工する必要があった。また、障子の框体(フレーム体)の縦框(縦材)と横框(横材)とを組み合わせて取り付ける場合においても、縦框の端部又は横框の端部を加工する必要があった。そのため、縦材(縦枠、縦框)の端部又は横材(横枠、横框)の端部の加工を少なくすることが求められている。
【0005】
本開示は、縦材の端部又は横材の端部の加工を少なくすることができる建具を提供することを目的とする。
【課題を解決するための手段】
【0006】
本開示は、一対の縦材と一対の横材とを有し、枠組みされて構成されたフレーム体と、前記縦材及び前記横材のいずれか一方の内周側に取り付けられる長尺のアタッチメント部材と、前記アタッチメント部材に取り付けられる部品と、を備える建具に関する。
【図面の簡単な説明】
【0007】
第1実施形態の縦辷り出し窓を室内側から見た図である。
図1のA-A線断面図である。
図1のB-B線断面図である。
第1実施形態の縦辷り出し窓の枠体を室内側から見た斜視図である。
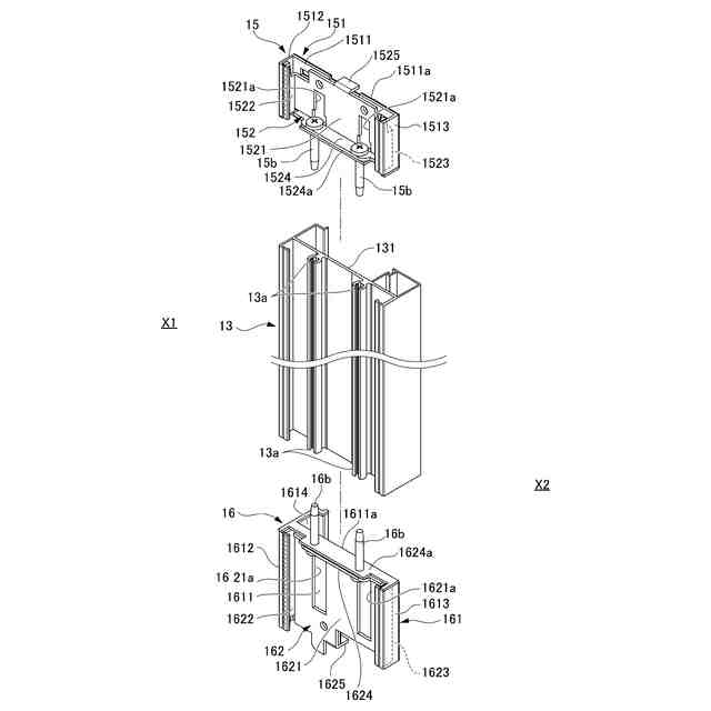
図4の状態から、コーナーブロックを取り付けた一対の縦枠を、上枠及び下枠から取り外した状態を示す斜視図である。
アタッチメント部材を縦枠に取り付ける状態を示す図である。
縦枠からコーナーブロックを取り外した状態を示す斜視図である。
第1実施形態の縦辷り出し窓の障子を室内側から見た斜視図である。
第1実施形態の縦辷り出し窓の障子を室外側から見た斜視図である。
図8の状態から、コーナーブロックを取り付けた一対の縦框を、上框及び下框から取り外した状態を示す斜視図である。
図8のC-C線断面図である。
図8のD-D線断面図である。
縦框からコーナーブロックを取り外した状態を示す斜視図である。
第1実施形態の第1変形例を示す図であって、図13と比べて加熱発泡材を異なる位置に配置した図である。
第1実施形態の第2変形例を示す図であって、図13と比べて加熱発泡材を異なる位置に配置した図である。
第2実施形態の引き違い窓を室内側から見た図である。
図16のE-E線断面図である。
図16のF-F線断面図である。
第2実施形態の内障子を室内側から見た斜視図である。
第2実施形態の内障子を室外側から見た斜視図である。
図19の状態から、コーナーブロックを取り付けた一対の縦框を、上框及び下框から取り外した状態を示す斜視図である。
図19のG-G線断面図である。
図19のH-H線断面図である。
図19のI-I線断面図である。
内障子の召し合わせ縦框からコーナーブロックを取り外した状態を示す斜視図である。
内障子の戸先縦框からコーナーブロックを取り外した状態を示す斜視図である。
第2実施形態の第1変形例を示す図であって、図26の下框とは加熱発泡材を異なる位置に配置した図である。
障子の下框に戸車が取り付けられた状態を示す斜視図である。
図28において、障子の下框にスペーサ部材を介して戸車を取り付ける状態を示す図である。
第2実施形態の第2変形例を示す図であって、内障子の下框に2連の車を有すると戸車が取り付けられた状態を示す斜視図である。
図30において、障子の下框にスペーサ部材を介して2連の戸車を取り付ける状態を示す図である。
第3実施形態の内障子を室内側から見た斜視図である。
第3実施形態の内障子を室外側から見た斜視図である。
図32の状態から、コーナーブロックを取り付けた一対の縦框を、上框及び下框から取り外した状態を示す斜視図である。
図32のJ-J線断面図である。
図32のK-K線断面図である。
図32のL-L線断面図である。
内障子の召し合わせ縦框からコーナーブロックを取り外した状態を示す斜視図である。
内障子の戸先縦框からコーナーブロックを取り外した状態を示す斜視図である。
第4実施形態の連窓を室内側から見た図である。
第4実施形態の連窓を室内側から見た斜視図である。
第4実施形態の連窓を上方側から見た図である。
【発明を実施するための形態】
【0008】
以下、本開示の実施形態について、図面を参照しながら詳しく説明する。なお、本明細書において、「見込み方向」とは、建具における室内外方向に沿う方向である。「見付け方向」とは、建具における面材(ガラス)の面方向に沿う方向であり、見込み方向に対して直交する方向である。「見付け面」は、建具における室外側及び室内側に面するそれぞれの面を意味し、「見込み面」は、建具において室内外方向に延びる面を意味する。図面において、建具の室外側を「室外側X1」とし、建具の室内側を「室内側X2」とする。建具を正面視したときの横方向を「左右」とする。
【0009】
第1実施形態について説明する。第1実施形態は、建具を、縦辷り出し窓1により構成した実施形態である。図1~図3に示すように、縦辷り出し窓1(建具)は、建物躯体100に設けられた開口部110に納められる。縦辷り出し窓1は、枠体10(フレーム体)と、枠体10内に開閉可能に配置される障子20と、を備える。枠体10は、建物躯体100に固定されている。障子20は、戸先側を室外側X1に押出し、吊元側に設けられた図示しない回動軸を中心として回動させることで、開放可能となっている。
【0010】
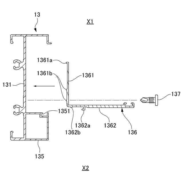
図2~図5に示すように、枠体10は、上枠11(横枠、横材)、下枠12(横枠、横材)及び左右の縦枠13,14(吊元側縦枠13及び戸先側縦枠14)(枠、縦材)が矩形に枠組みされて構成される。上枠11、下枠12及び左右の縦枠13,14は、アルミニウム材料などの金属材料を押出し成形することで形成される。
(【0011】以降は省略されています)
この特許をJ-PlatPat(特許庁公式サイト)で参照する
関連特許
株式会社LIXIL
建具
23日前
株式会社LIXIL
シリンダ錠
26日前
株式会社LIXIL
トイレ装置
23日前
株式会社LIXIL
カーテンウォール
16日前
株式会社LIXIL
カーテンウォール
16日前
株式会社LIXIL
カバー材及び改装建具
3日前
株式会社LIXIL
カバー材及び改装建具
3日前
株式会社LIXIL
カバー材及び改装建具
3日前
株式会社LIXIL
混合装置及び水回り装置
9日前
株式会社LIXIL
建具及び建具の施工方法
23日前
株式会社LIXIL
シリンダ錠及び建物設備機器群
26日前
株式会社LIXIL
支援装置、支援プログラム、及び方法
19日前
株式会社LIXIL
物品収納提案装置、物品収納提案方法、端末装置
23日前
株式会社LIXIL
床モジュール、床構造体及び床構造体の施工方法
12日前
株式会社LIXIL
管理装置、管理方法、及びコンピュータプログラム
3日前
株式会社LIXIL
管理装置、管理方法、及びコンピュータプログラム
3日前
株式会社LIXIL
管理装置、管理方法、及びコンピュータプログラム
3日前
株式会社LIXIL
屋根構造体
18日前
株式会社LIXIL
表示制御装置、表示制御システム、プログラム及び表示制御方法
26日前
株式会社LIXIL
吐水システム、浴室ユニット、コンピュータプログラム及び制御方法
17日前
株式会社LIXIL
制御装置、コンピュータプログラム、調整方法、及び、制御システム
9日前
大和ハウス工業株式会社
外壁の断熱改修構造および外壁の断熱改修方法
9日前
株式会社LIXIL
制御装置、混合装置ユニット、水回り装置、コンピュータプログラム、及び制御方法
9日前
株式会社LIXIL
制御装置、混合装置ユニット、水回り装置、コンピュータプログラム、及び制御方法
9日前
株式会社LIXILトータルサービス
コンピュータープログラム、情報管理装置、端末装置、情報管理システム及び制御方法
23日前
株式会社ナカオ
作業台
1か月前
株式会社ESP
止水板
2か月前
中国電力株式会社
脚立
2か月前
三協立山株式会社
構造体
4か月前
株式会社ニチベイ
遮蔽装置
3日前
三協立山株式会社
開口部装置
2か月前
三協立山株式会社
開口部装置
1か月前
三協立山株式会社
開口部装置
26日前
三協立山株式会社
開口部装置
1か月前
三協立山株式会社
開口部装置
2か月前
三協立山株式会社
開口部装置
2か月前
続きを見る
他の特許を見る