TOP
|
特許
|
意匠
|
商標
特許ウォッチ
Twitter
他の特許を見る
公開番号
2025151817
公報種別
公開特許公報(A)
公開日
2025-10-09
出願番号
2024053408
出願日
2024-03-28
発明の名称
外構ユニット
出願人
倉敷紡績株式会社
代理人
個人
,
個人
主分類
E06B
11/02 20060101AFI20251002BHJP(戸,窓,シャッタまたはローラブラインド一般;はしご)
要約
【課題】機能部材を照らす照明を備えた外構ユニットにおいて、簡単な構造で、且つ、組み立て容易な外構ユニットを提供する。
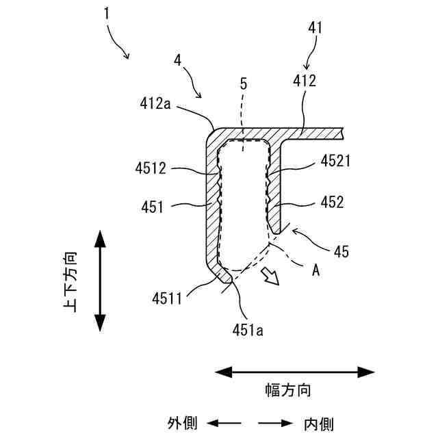
【解決手段】外構ユニット1は、一対の支柱2と、機能部材3と、天面部材4と、LED照明5とを有する。天面部材4は、アルミニウム製であり、長手方向に対して直交する幅方向の一側の端部における下面に、それぞれ前記長手方向に延びて前記幅方向に並んだ一対の照明保持用リブ45を有する。一対の照明保持用リブ45のうち前記幅方向の外側に位置する外側リブ451の下端部は、一対の照明保持用リブ45のうち前記幅方向の内側に位置する内側リブ452の下端部よりも下方に位置し、下端451a側が内側リブ452に向かって傾斜するような傾斜部4511を有する。LED照明5は、一対の照明保持用リブ45の間に収容されている。
【選択図】図3
特許請求の範囲
【請求項1】
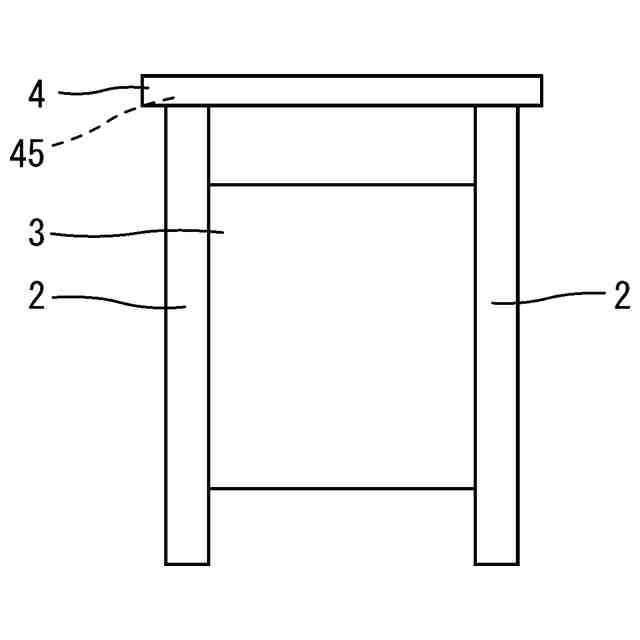
上下方向に延びる一対の支柱と、
前記一対の支柱の間に取り付けられた機能部材と、
水平方向に延びる板状であり、長手方向の一側の端部及び他側の端部がそれぞれ前記一対の支柱の上側に接続された天面部材と、
前記機能部材を照らすように前記天面部材に取り付けられているLED照明と、
を有する外構ユニットであって、
前記天面部材は、
アルミニウム製であり、
前記長手方向に対して直交する幅方向の一側の端部における下面に、それぞれ前記長手方向に延びて前記幅方向に並んだ一対の照明保持用リブを有し、
前記一対の照明保持用リブのうち前記幅方向の外側に位置する外側リブの下端部は、
前記一対の照明保持用リブのうち前記幅方向の内側に位置する内側リブの下端部よりも下方に位置し、
下端側が前記内側リブに向かって傾斜するような傾斜部を有し、
前記LED照明は、
前記一対の照明保持用リブの間に収容されている、
外構ユニット。
続きを表示(約 590 文字)
【請求項2】
請求項1に記載の外構ユニットにおいて、
前記外側リブは、
前記内側リブ側の面に、前記内側リブに向かって突出する突部を有し、
前記内側リブは、
前記外側リブ側の面に、前記外側リブに向かって突出する突部を有する、
外構ユニット。
【請求項3】
請求項1または請求項2に記載の外構ユニットにおいて、
前記LED照明は、
弾性変形可能であり、
弾性変形した状態で、前記一対の照明保持用リブの間に収容されている、
外構ユニット。
【請求項4】
請求項1または請求項2に記載の外構ユニットにおいて、
前記天面部材は、
前記一対の支柱に対する前記天面部材の前記幅方向の位置を位置決めする位置決めリブを有する、
外構ユニット。
【請求項5】
請求項1または請求項2に記載の外構ユニットにおいて、
前記外側リブは、
前記天面部材の前記幅方向の先端に位置している、
外構ユニット。
【請求項6】
請求項1または請求項2に記載の外構ユニットにおいて、
前記外側リブの下端部は、
前記天面部材の下面のうち前記一対の支柱と接触している部分よりも下方に突出している、
外構ユニット。
発明の詳細な説明
【技術分野】
【0001】
本発明は、住宅、集合住宅、アパート、マンションのような建築物の周囲に設置される外構ユニットに関する。
続きを表示(約 1,600 文字)
【背景技術】
【0002】
住宅、集合住宅、アパート、マンションのような建物の周囲には、表札、ポスト、インターホン等の付加的な機能部材を有する機能性門柱、建築物の名称を表示した館名板等の屋外構造物(外構)が設置されている。
【0003】
前記機能性門柱等の前記外構に、夜間における前記機能部材の視認性を良くするために、照明が備えられた構成が開示されている。例えば、特許文献1には、門柱本体の上端部に照明が取り付けられた門柱が開示されている。前記照明は、ランプ等が取付けられた基板と、略下向コ字状のカバーと、このカバーの両端面に取り付けた小口キャップと、アクリルパネル等の透光板と、透光板支持材等を備えている。前記照明は、前記門柱本体にビスによって固着されている。
【0004】
また、特許文献2には、門柱本体の上部に照明デバイスが取り付けられた門柱が開示されている。前記照明デバイスは、門柱本体の上端部の小口を塞ぐキャップ部材の内面に、取付部材を介して取り付けられている。
【0005】
また、特許文献3には、門柱本体と、門柱カバーとの隙間内に、LED光源を用いた線状照明が設けられた門柱が開示されている。前記照明は、門柱前面及び側面を被覆する被覆部材の内部空間に内蔵されている。
【先行技術文献】
【特許文献】
【0006】
特開2001-262962号
特開2017-160755号
特開2020-94370号
【発明の概要】
【発明が解決しようとする課題】
【0007】
ところで、照明を備えた機能性門柱及び館名板などの外構ユニットを設置場所に設置した状態で、照明を取り付けたり、取り外したりしたい場合がある。前記特許文献1及び前記特許文献2の構成では、照明は、門柱本体に取付部材を介して取り付けられている。また、前記特許文献3の構成では、照明は、門柱本体に内蔵されている。したがって、前記特許文献1から特許文献3に開示される構成では、照明の取付構造が複雑である。そのため、外構ユニットを設置場所に設置した状態で、容易に、照明を取り付けたり、取り外したりすることができない。そこで、機能部材を照らす照明を備えた外構ユニットにおいて、簡単な構造で、且つ、組み立て容易な構成が求められている。
【0008】
本発明の目的は、機能部材を照らす照明を備えた外構ユニットにおいて、簡単な構造で、且つ、組み立て容易な構成を提供することである。
【課題を解決するための手段】
【0009】
本発明の一実施形態に係る外構ユニットは、上下方向に延びる一対の支柱と、前記一対の支柱の間に取り付けられた機能部材と、水平方向に延びる板状であり、長手方向の一側の端部及び他側の端部がそれぞれ前記一対の支柱の上側に接続された天面部材と、前記機能部材を照らすように前記天面部材に取り付けられているLED照明と、を有する外構ユニットである。前記天面部材は、アルミニウム製であり、前記長手方向に対して直交する幅方向の一側の端部における下面に、それぞれ前記長手方向に延びて前記幅方向に並んだ一対の照明保持用リブを有する。前記一対の照明保持用リブのうち前記幅方向の外側に位置する外側リブの下端部は、前記一対の照明保持用リブのうち前記幅方向の内側に位置する内側リブの下端部よりも下方に位置し、下端側が前記内側リブに向かって傾斜するような傾斜部を有する。前記LED照明は、前記一対の照明保持用リブの間に収容されている(第1の構成)。
【0010】
この構成により、内側リブと、下端部に下端が前記内側リブに向かって傾斜する傾斜部を有する外側リブとによって、LED照明を保持することができる。これにより、照明を備えた外構ユニットを簡単な構造によって実現できる。
(【0011】以降は省略されています)
この特許をJ-PlatPat(特許庁公式サイト)で参照する
関連特許
倉敷紡績株式会社
外構ユニット
25日前
倉敷紡績株式会社
線状物の3次元計測方法
1か月前
倉敷紡績株式会社
セメント系造形物の製造方法
25日前
倉敷紡績株式会社
セメント系造形物の製造方法
25日前
倉敷紡績株式会社
ハンドおよびコネクタ接続方法
1か月前
倉敷紡績株式会社
詰め物用糸及びこれを含む中綿構造体
1か月前
倉敷紡績株式会社
繊維強化無機成形体、及びその製造方法
24日前
倉敷紡績株式会社
清涼性混紡紡績糸及びこれを用いた清涼性生地
2か月前
倉敷紡績株式会社
機能性混紡紡績糸及びこれを用いた機能性生地
2か月前
倉敷紡績株式会社
線状物保持ブロック、線状物保持治具および装置
20日前
倉敷紡績株式会社
ケーブル保持治具、ケーブル処理システムおよびケーブル処理方法
20日前
倉敷紡績株式会社
セルロース系グラフト繊維、これを含む繊維構造体及びその製造方法
1か月前
倉敷紡績株式会社
コネクタ接続システム、リード線制御装置、コネクタ接続方法およびリード線移動方法
1か月前
中国電力株式会社
脚立
2か月前
株式会社ナカオ
作業台
1か月前
株式会社ESP
止水板
2か月前
三協立山株式会社
構造体
4か月前
三協立山株式会社
構造体
4か月前
株式会社ニチベイ
遮蔽装置
4日前
三協立山株式会社
開口部装置
2か月前
三協立山株式会社
開口部装置
4か月前
三協立山株式会社
開口部装置
1か月前
三協立山株式会社
開口部装置
1か月前
三協立山株式会社
開口部装置
2か月前
三協立山株式会社
開口部装置
2か月前
三協立山株式会社
開口部装置
27日前
ミサワホーム株式会社
水切り材
2か月前
株式会社ニチベイ
縦型ブラインド
3か月前
文化シヤッター株式会社
止水装置
26日前
株式会社TJMデザイン
脚立用ホルダー
3か月前
不二サッシ株式会社
引違いサッシ
1か月前
不二サッシ株式会社
引違いサッシ
26日前
豊田合成株式会社
調光装置
19日前
文化シヤッター株式会社
引戸装置
17日前
永大産業株式会社
開閉構造体
4か月前
三協立山株式会社
サッシの製造方法
1か月前
続きを見る
他の特許を見る