TOP
|
特許
|
意匠
|
商標
特許ウォッチ
Twitter
他の特許を見る
公開番号
2025154244
公報種別
公開特許公報(A)
公開日
2025-10-10
出願番号
2024057138
出願日
2024-03-29
発明の名称
繊維強化無機成形体、及びその製造方法
出願人
倉敷紡績株式会社
代理人
弁理士法人池内アンドパートナーズ
主分類
C04B
28/26 20060101AFI20251002BHJP(セメント;コンクリート;人造石;セラミックス;耐火物)
要約
【課題】マトリックス材としてジオポリマーを使用し、繊維基材の材料としてEガラスのように耐アルカリ性に劣る強化繊維を使用した場合でも、当該強化繊維のアルカリによる劣化が抑制された、繊維強化無機成形体、及びその製造方法を提供する。
【解決手段】本開示は、一態様において、強化層を含む繊維強化無機成形体であって、前記強化層は、強化繊維を含む繊維基材とマトリックス樹脂としてジオポリマーとを含み、前記ジオポリマーの原料に含まれる活性フィラーが、電気伝導率差が1.5mS/cm以上2.1mS/cm以下のメタカオリンであり、前記強化繊維が、ガラス繊維(但し、耐アルカリ性繊維を除く)およびバサルト繊維から選らばれる少なくとも1種の繊維である、繊維強化無機成形体に関する。前記ガラス繊維は、好ましくはEガラス繊維である。
【選択図】図1
特許請求の範囲
【請求項1】
強化層を含む繊維強化無機成形体であって、
前記強化層は、強化繊維を含む繊維基材とマトリックス樹脂としてジオポリマーとを含み、
前記ジオポリマーの原料に含まれる活性フィラーが、電気伝導率差が1.5mS/cm以上2.1mS/cm以下のメタカオリンであり、
前記強化繊維が、ガラス繊維(但し、耐アルカリ性繊維を除く)およびバサルト繊維から選らばれる少なくとも1種の繊維である、繊維強化無機成形体。
続きを表示(約 600 文字)
【請求項2】
前記メタカオリンの平均粒子径が、1μm以上20μm以下である、請求項1に記載の繊維強化無機成形体。
【請求項3】
前記ガラス繊維が、Eガラス繊維である、請求項1に記載の繊維強化無機成形体。
【請求項4】
前記繊維基材は、マット状である、請求項1に記載の繊維強化無機成形体。
【請求項5】
前記繊維強化無機成形体の一方の表面層は、前記強化繊維を含まないか前記強化層よりも前記強化繊維の含有量が少なく、前記ジオポリマーを含む、請求項1に記載の繊維強化無機成形体。
【請求項6】
請求項1から5のいずれかの項に記載の繊維強化無機成形体の製造方法であり、
成形型内に、ジオポリマー組成物が含浸され前記繊維基材を複数枚配置し、それを養生して硬化させ、次いで離型することを含み、
前記ジオポリマー組成物は、ケイ酸アルカリ溶液と電気伝導率差が1.5mS/cm以上2.1mS/cm以下の前記メタカオリンとを含む、繊維強化無機成形体の製造方法。
【請求項7】
前記ジオポリマー組成物が前記繊維基材に含浸されたポリマー含有繊維基材を複数枚用意し、それらを、前記前記成形型内に積層配置して積層構造体を作製し、前記積層構造体を養生して硬化させ、次いで離型する、請求項6に記載の繊維強化無機成形体の製造方法。
発明の詳細な説明
【技術分野】
【0001】
本発明は、繊維強化無機成形体、及びその製造方法に関する。
続きを表示(約 1,900 文字)
【背景技術】
【0002】
建造物の壁面に設置するパネルやモニュメントなどの成形体は地表から高いところに設置されることもあり、軽量かつ強度が求められる。繊維強化プラスチックを利用することで、強度を保ったまま成形体の軽量化が可能であるが、耐火性能はよくない。一方、難燃および防火性能を求める場合は、繊維強化コンクリート、繊維強化石膏などが使用されるが、これらは、軽量性に関し、繊維強化プラスチックよりも劣る。また、石膏は、耐水性がないため屋外での使用ができず、また脆い点に欠点がある。一方、ガラス繊維は、強度、不燃性、耐熱性、電気絶縁性、耐薬品性に優れるため、広範囲の用途に使用されている。
【0003】
特許文献1には、ジオポリマーの硬化体を含む表面層と、繊維基材と前記繊維基材に含浸され硬化されたジオポリマーを含む強化層と、を含む繊維強化無機成形体が開示されている。当該繊維強化無機成形体では、表面層と強化層のマトリックス材が、いずれもジオポリマーの硬化体であり、強化層に含まれる強化繊維がガラス繊維又はバサルト繊維であるため、成形体は軽量かつ不燃性である。
【先行技術文献】
【特許文献】
【0004】
特開2022-174741公報
【発明の概要】
【発明が解決しようとする課題】
【0005】
ジオポリマーはアルカリ性の材料であるため、耐アルカリ性に劣る繊維、例えば、Eガラスからなる強化繊維は、繊維基材の材料として使用できないと考えられてきた。一方で、Eガラス繊維等の通常のガラス繊維は比較的安価であることから、FRP用の強化繊維として多用されている。しかも、市販の繊維基材の形態もマット状、テープ状等と種々のものがあり、ガラス繊維同士を結着させるためのバインダーの使用量についても種々のものがある。すなわち、Eガラス繊維等の通常のガラス繊維を含む繊維基材は、経済的であり、しかも使い勝手がよい。
【0006】
そこで、本開示はマトリックス材としてジオポリマーを使用し、繊維基材の材料としてEガラスのように耐アルカリ性に劣る強化繊維を使用した場合でも、当該強化繊維のアルカリによる劣化が抑制された、繊維強化無機成形体、及びその製造方法を提供する。
【課題を解決するための手段】
【0007】
本発明は、一態様において、強化層を含む繊維強化無機成形体であって、
強化層を含む繊維強化無機成形体であって、
前記強化層は、強化繊維を含む繊維基材とマトリックス樹脂としてジオポリマーとを含み、
前記ジオポリマーの原料に含まれる活性フィラーが、電気伝導率差が1.5mS/cm以上2.1mS/cm以下のメタカオリンであり、
前記強化繊維が、ガラス繊維(但し、耐アルカリ性繊維を除く)およびバサルト繊維から選らばれる少なくとも1種の繊維である、繊維強化無機成形体に関する。
【0008】
本開示は、一態様において、本開示の繊維強化無機成形体の製造方法であり、
成形型内に、ジオポリマー組成物が含浸され前記繊維基材を複数枚配置し、それを養生して硬化させ、次いで離型することを含み、
前記ジオポリマー組成物は、ケイ酸アルカリ溶液と、電気伝導率差が1.5mS/cm以上2.1mS/cm以下の前記メタカオリンとを含む、繊維強化無機成形体の製造方法に関する。
【発明の効果】
【0009】
本開示は、マトリックス材としてジオポリマーを使用し、繊維基材の材料としてEガラスのように耐アルカリ性に劣る強化繊維を使用した場合でも、当該強化繊維のアルカリによる劣化が抑制された、繊維強化無機成形体、及びその製造方法を提供できる。
【図面の簡単な説明】
【0010】
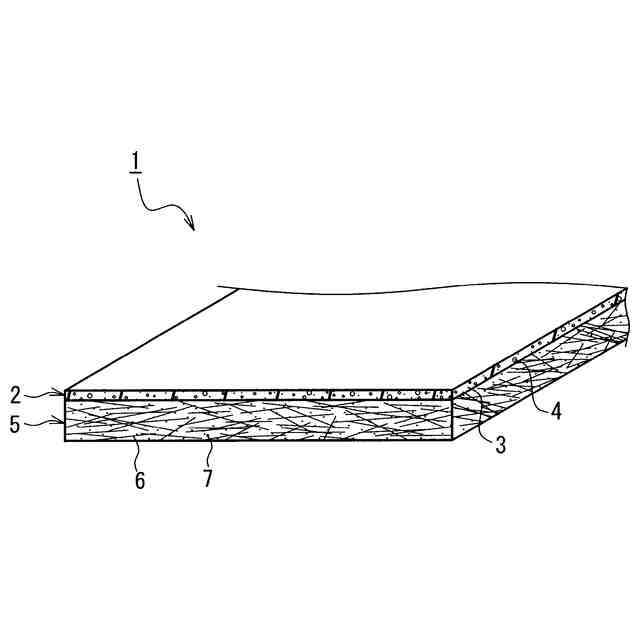
図1は、本開示の一態様の繊維強化無機成形体の模式的斜視図である。
図2は、本開示の一態様の繊維強化無機成形体の模式的斜視図である。
図3は、実施例1、2、比較例1の繊維強化無機成形体の製造過程における養生時間(室温)とpHとの関係を示したグラフである。
図4は、実施例1の繊維強化無機成形体の80℃温水試験後の曲げ強度とpHの経時変化を示したグラフである。
図5は、実施例1および比較例2の繊維強化無機成形体の80℃温水試験後のpHの経時変化を示したグラフである。
【発明を実施するための形態】
(【0011】以降は省略されています)
特許ウォッチbot のツイートを見る
この特許をJ-PlatPat(特許庁公式サイト)で参照する
関連特許
倉敷紡績株式会社
外構ユニット
2か月前
倉敷紡績株式会社
線状物の3次元計測方法
2か月前
倉敷紡績株式会社
セメント系造形物の製造方法
2か月前
倉敷紡績株式会社
セメント系造形物の製造方法
2か月前
倉敷紡績株式会社
ダイシングシート用基材フィルム
1か月前
倉敷紡績株式会社
繊維強化無機成形体、及びその製造方法
1か月前
倉敷紡績株式会社
線状物保持ブロック、線状物保持治具および装置
1か月前
倉敷紡績株式会社
ケーブル保持治具、ケーブル処理システムおよびケーブル処理方法
1か月前
個人
吸収材
1か月前
個人
空気清浄材
1か月前
個人
水質浄化剤
1か月前
個人
振動吸収材
1か月前
東ソー株式会社
焼結体
1か月前
東ソー株式会社
焼結体
1か月前
株式会社トクヤマ
窒化ケイ素基板
2か月前
太平洋マテリアル株式会社
膨張材
2か月前
東ソー株式会社
焼結体の製造方法
1か月前
太平洋マテリアル株式会社
裏込め材
2か月前
太平洋マテリアル株式会社
水硬性組成物
3日前
太平洋マテリアル株式会社
吹付モルタル
1か月前
日本電気硝子株式会社
光学部材の製造方法
2か月前
ノリタケ株式会社
焼成用治具
2か月前
太平洋マテリアル株式会社
セメント組成物
2か月前
ノリタケ株式会社
焼成用治具
2か月前
ノリタケ株式会社
焼成用治具
2か月前
デンカ株式会社
モルタル材料
1か月前
株式会社トクヤマ
改質フライアッシュの製造方法
2か月前
日本特殊陶業株式会社
セラミック部品
2か月前
TOTO株式会社
構造部材
2か月前
TOTO株式会社
構造部材
1か月前
TOTO株式会社
構造部材
1か月前
イビデン株式会社
断熱材
1か月前
太平洋マテリアル株式会社
モルタル組成物及びモルタル
1か月前
太平洋マテリアル株式会社
軽量繊維層及びその形成方法
1か月前
株式会社西田
コンクリート成形体を製造する方法
1か月前
UBE三菱セメント株式会社
コンクリート組成物
1か月前
続きを見る
他の特許を見る