TOP
|
特許
|
意匠
|
商標
特許ウォッチ
Twitter
他の特許を見る
公開番号
2025146435
公報種別
公開特許公報(A)
公開日
2025-10-03
出願番号
2024047197
出願日
2024-03-22
発明の名称
詰め物用糸及びこれを含む中綿構造体
出願人
倉敷紡績株式会社
代理人
弁理士法人池内アンドパートナーズ
主分類
D02G
3/42 20060101AFI20250926BHJP(糸;糸またはロープの機械的な仕上げ;整経またはビーム巻き取り)
要約
【課題】制御された伸縮性を有する詰め物用糸1及びこれを含む中綿構造体を提供する。
【解決手段】芯糸2,3と花糸4を含み、芯糸2,3と花糸4の少なくとも一部は交絡により一体化されており、芯糸2,3に比べて花糸4は相対的に長く、花糸4は非伸縮性糸であり、芯糸2,3は非伸縮性糸3と伸縮性糸2の組み合わせ、又は伸縮性糸に比べて相対的に伸縮性の高い伸縮性糸と相対的に伸縮性が低い伸縮性糸の組み合わせの糸である。この製法は、芯糸と花糸を流体交絡装置に供給して交絡一体化処理する際に、芯糸に比べて花糸は相対的に長く供給し、芯糸の非伸縮性糸と伸縮性糸、又は伸縮性糸に比べて相対的に伸縮性の高い伸縮性糸と相対的に伸縮性が低い伸縮性糸は定長供給するか、又は伸縮性糸又は相対的に伸縮性の高い伸縮性糸は伸長して供給する。
【選択図】図1
特許請求の範囲
【請求項1】
芯糸(A)と花糸(B)を含む詰め物用糸であって、
前記芯糸(A)と花糸(B)の少なくとも一部は交絡により一体化されており、
前記芯糸(A)に比べて花糸(B)は相対的に長く、
前記花糸(B)は非伸縮性糸であり、
前記芯糸(A)は非伸縮性糸(A1)と伸縮性糸(A2)の組み合わせ、又は伸縮性糸(A4)に比べて相対的に伸縮性の高い伸縮性糸(A3)と相対的に伸縮性が低い伸縮性糸(A4)の組み合わせの糸であることを特徴とする詰め物用糸。
続きを表示(約 920 文字)
【請求項2】
前記詰め物用糸は、静置状態において前記伸縮性糸(A2)又は相対的に伸縮性の高い伸縮性糸(A3)が収縮して弛緩状態であり、前記弛緩状態の長さ(L1)から、前記芯糸の非伸縮性糸(A1)又は相対的に伸縮性が低い伸縮性糸(A4)が伸びた長さ(L2)まで伸び、前記L1とL2の間で繰り返し伸縮が可能である請求項1に記載の詰め物用糸。
【請求項3】
前記長さ(L1)と前記長さ(L2)の関係は、L1×(1~3倍)≦L2である請求項2に記載の詰め物用糸。
【請求項4】
前記伸縮性糸(A2)及び/又は相対的に伸縮性の高い伸縮性糸(A3)は、弾性糸、コンジュゲートマルチフィラメント糸及び仮撚マルチフィラメント糸なる群から選ばれる少なくとも一つである請求項1に記載の詰め物用糸。
【請求項5】
前記伸縮性糸(A2)及び相対的に伸縮性の高い伸縮性糸(A3)は伸縮性弾性糸であり、前記伸縮性弾性糸は添え糸として配置されている請求項1に記載の詰め物用糸。
【請求項6】
前記非伸縮性糸(A1)と花糸(B)は共にポリエステルマルチフィラメント糸である請求項1に記載の詰め物用糸。
【請求項7】
請求項1~6のいずれか1項に記載の詰め物用糸の製造方法であって、
芯糸(A)と花糸(B)を流体交絡装置に供給して交絡一体化処理する際に、
前記芯糸(A)に比べて花糸(B)は相対的に長く供給し、
前記花糸(B)は非伸縮性糸であり、
前記芯糸(A)の非伸縮性糸(A1)と伸縮性糸(A2)、又は伸縮性糸(A4)に比べて相対的に伸縮性の高い伸縮性糸(A3)と相対的に伸縮性が低い伸縮性糸(A4)は定長供給するか、又は前記伸縮性糸(A2)又は相対的に伸縮性の高い伸縮性糸(A3)は伸長して供給することを特徴とする詰め物用糸の製造方法。
【請求項8】
請求項1~6のいずれか1項に記載の詰め物用糸を含む中綿構造体。
【請求項9】
前記中綿構造体は、衣類、布団、寝具、寝袋又はこれらのパーツである請求項8に記載の中綿構造体。
発明の詳細な説明
【技術分野】
【0001】
本発明は、制御された伸縮性を有する詰め物用糸及びこれを含む中綿構造体に関する。
続きを表示(約 2,500 文字)
【背景技術】
【0002】
羽毛布団、羽毛ジャケットなどの羽毛製品に充填される羽毛は、一般的には水鳥の羽毛が使用されている。水鳥としてはグース(ガチョウ)、ダック(アヒル)、北極圏の海岸線に生息するアイダー(野生の鴨)などである。羽毛には、胸毛にあたるダウンと、羽根と呼ばれるフェザーがあり、ともに羽毛製品に使われている。羽毛の産地はポーランド、ハンガリーなどの中欧、スカンジナビア半島を含む北欧、中国などである。羽毛は、嵩高性に優れ、暖かく、掛け布団や羽毛ジャケットの羽毛製品として高級素材の地位を占めている。
しかし、天然の羽毛は水鳥に依存しており、その供給量には限度がある上、自然条件や厄病(例えば鳥ウィルス)の影響によって供給量も変動するという問題がある。あるいは自然保護の観点から、野生の鳥を捕捉することには限度がある。その上、天然の羽毛は、洗いが不充分であると悪臭の原因となるため、事前に悪臭の原因となる汚物を除去し、羽毛の洗浄の程度を見る清浄度と酸素計数を一定のレベルに保つ管理が必要である。加えて、羽毛布団、羽毛ジャケットなどの羽毛製品の洗濯は容易ではないという基本的な問題がある。
そこで、従来から詰め綿については多くの提案がある。本出願人は特許文献1で芯糸に伸縮糸を使用し、伸縮性生地に充填が可能な詰め物用糸及びこれを用いた詰め物体を提案した。特許文献2には、芯糸は特定の平均分子量を有するポリウレタン弾性繊維からなるマルチフィラメントを芯糸とした加工糸と、これを用いた詰め物および前記詰め物を含む繊維製品について提案されている。特許文献3には2本の芯糸を、糸長差を付けて供給し嵩高性の高い糸とすることが提案されている。
【先行技術文献】
【特許文献】
【0003】
特許7240207号公報
特開2023-110885号公報
特開2018-193642号公報
【発明の概要】
【発明が解決しようとする課題】
【0004】
しかし、前記特許文献1は詰め物用糸(中綿)の伸縮性が制御されていないという問題があり、前記特許文献2は、芯糸にポリウレタン弾性糸を使用しているため伸度が大きく、詰め物として充填する際に型崩れが大きいという問題があり、特許文献3は芯糸にポリエステルマルチフィラメント糸を配置しているため、伸縮性が無いという問題があった。
【0005】
本発明は、上記問題を解決するため、制御された伸縮性を有する詰め物用糸及びこれを含む中綿構造体を提供する。
【課題を解決するための手段】
【0006】
本発明の一実施形態は、芯糸(A)と花糸(B)を含む詰め物用糸であって、
前記芯糸(A)と花糸(B)の少なくとも一部は交絡により一体化されており、
前記芯糸(A)に比べて花糸(B)は相対的に長く、
前記花糸(B)は非伸縮性糸であり、
前記芯糸(A)は非伸縮性糸(A1)と伸縮性糸(A2)の組み合わせ、又は伸縮性糸(A4)に比べて相対的に伸縮性の高い伸縮性糸(A3)と相対的に伸縮性が低い伸縮性糸(A4)の組み合わせの糸であることを特徴とする詰め物用糸に関する。
【0007】
本発明の一実施形態の製造方法は、前記の詰め物用糸の製造方法であって、
芯糸(A)と花糸(B)を流体交絡装置に供給して交絡一体化処理する際に、
前記芯糸(A)に比べて花糸(B)は相対的に長く供給し、
前記花糸(B)は非伸縮性糸であり、
前記芯糸(A)の非伸縮性糸(A1)と伸縮性糸(A2)、又は伸縮性糸(A4)に比べて相対的に伸縮性の高い伸縮性糸(A3)と相対的に伸縮性が低い伸縮性糸(A4)は定長供給するか、又は前記伸縮性糸(A2)又は相対的に伸縮性の高い伸縮性糸(A3)は伸長して供給する詰め物用糸の製造方法に関する。
【0008】
本発明の一実施形態の中綿構造体は、前記の詰め物用糸を含む中綿構造体に関する。
【発明の効果】
【0009】
本発明の一実施形態の詰め物用糸は、芯糸(A)と花糸(B)を含み、芯糸(A)と花糸(B)の少なくとも一部は交絡により一体化されており、前記芯糸(A)に比べて花糸(B)は相対的に長く、花糸(B)は非伸縮性糸であり、芯糸(A)は非伸縮性糸(A1)と伸縮性糸(A2)の組み合わせ、又は伸縮性糸(A4)に比べて相対的に伸縮性の高い伸縮性糸(A3)と相対的に伸縮性が低い伸縮性糸(A4)の組み合わせの糸とすることにより、芯糸の非伸縮性糸(A1)の糸長と伸縮性糸(A2)の糸長との間、又は伸縮性糸(A4)と伸縮性糸(A3)との間で伸縮が可能であり、制御された伸縮性を有する詰め物用糸及びこれを含む中綿構造体を提供できる。これにより、詰め物用糸として詰め物に充填した際に型崩れし難く、かつ中綿構造体は制御された伸縮性を有し、ツッパリ感がなく、着用感が向上する。ここで「型崩れ」とは、詰め物用糸を側地内に充填する際に詰め物用糸の花糸同士が絡み合い、あるいは絡み合って毛玉となり、元の状態に戻らないことをいう。
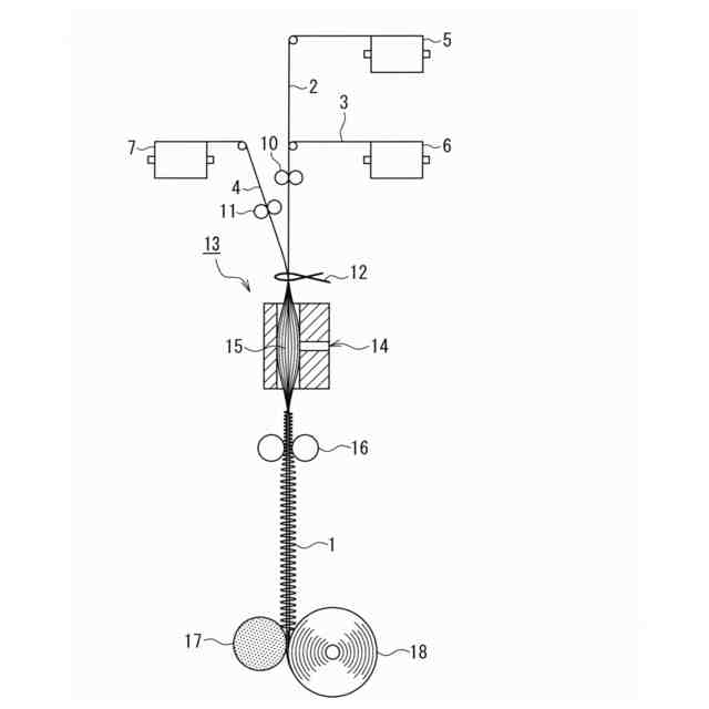
【図面の簡単な説明】
【0010】
図1は本発明の一実施形態における詰め物用糸の側面写真である。
図2Aは本発明の一実施形態における交絡糸の伸縮性糸を弛緩したときの模式的側面図、図2Bは伸長したときの模式的側面図、図2Cは図2AのI-I線の模式的断面図である。
図3は本発明の一実施形態における詰め物用糸(エアー交絡糸)の製造方法の模式的説明図である。
図4は本発明の別の実施形態における詰め物用糸(エアー交絡糸)の製造方法の模式的説明図である。
図5は本発明で使用する糸のパワーとストレッチ率を示すヒステリシス曲線である。
【発明を実施するための形態】
(【0011】以降は省略されています)
この特許をJ-PlatPat(特許庁公式サイト)で参照する
関連特許
倉敷紡績株式会社
外構ユニット
27日前
倉敷紡績株式会社
線状物の3次元計測方法
1か月前
倉敷紡績株式会社
セメント系造形物の製造方法
27日前
倉敷紡績株式会社
セメント系造形物の製造方法
27日前
倉敷紡績株式会社
ハンドおよびコネクタ接続方法
1か月前
倉敷紡績株式会社
詰め物用糸及びこれを含む中綿構造体
1か月前
倉敷紡績株式会社
繊維強化無機成形体、及びその製造方法
26日前
倉敷紡績株式会社
清涼性混紡紡績糸及びこれを用いた清涼性生地
2か月前
倉敷紡績株式会社
機能性混紡紡績糸及びこれを用いた機能性生地
3か月前
倉敷紡績株式会社
線状物保持ブロック、線状物保持治具および装置
22日前
倉敷紡績株式会社
ケーブル保持治具、ケーブル処理システムおよびケーブル処理方法
22日前
倉敷紡績株式会社
セルロース系グラフト繊維、これを含む繊維構造体及びその製造方法
1か月前
倉敷紡績株式会社
コネクタ接続システム、リード線制御装置、コネクタ接続方法およびリード線移動方法
1か月前
株式会社クラレ
混紡糸およびそれを含む織編物ならびに難燃性衣類
20日前
旭化成株式会社
耐熱性縫製糸、ガラスクロス、及びガラスクロスの製造方法
9日前
サンコ テキスタイル イスレットメレリ サン ベ ティク エーエス
短尺セルロースステープル繊維及びポリマー繊維を含んでなるコアスパンヤーン及びその製法
1日前
他の特許を見る