TOP
|
特許
|
意匠
|
商標
特許ウォッチ
Twitter
他の特許を見る
公開番号
2025162507
公報種別
公開特許公報(A)
公開日
2025-10-27
出願番号
2024184309
出願日
2024-10-18
発明の名称
耐熱性縫製糸、ガラスクロス、及びガラスクロスの製造方法
出願人
旭化成株式会社
代理人
個人
,
個人
,
個人
,
個人
,
個人
,
個人
主分類
D02G
3/18 20060101AFI20251020BHJP(糸;糸またはロープの機械的な仕上げ;整経またはビーム巻き取り)
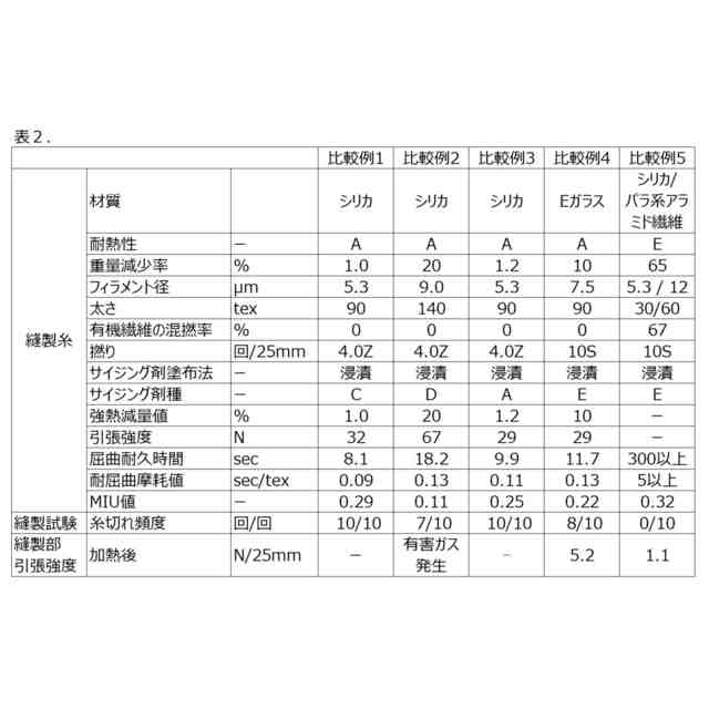
要約
【課題】縫製時の糸切れが少なく、高温処理後でも高い引張強度を持つ縫製部を形成できる縫製糸、並びに、これを用いて縫製されたガラスクロス及びその製造方法を提供すること。
【解決手段】無機繊維を含む、縫製糸であって、上記縫製糸は、500℃で1時間焼成したときの重量減少量が50%未満であり、下記式:耐屈曲摩耗値=摺動試験時の屈曲耐久時間[s]/上記縫製糸の太さ[tex]で表される耐屈曲摩耗値が、0.16以上4.2以下の範囲である、縫製糸。
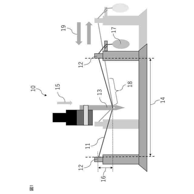
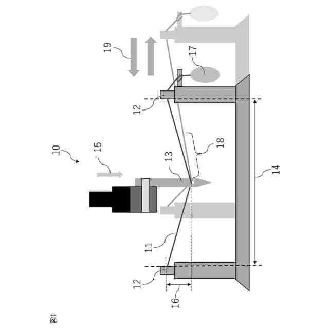
【選択図】図1
特許請求の範囲
【請求項1】
無機繊維を含む、縫製糸であって、
前記縫製糸は、500℃で1時間焼成したときの重量減少量が50%未満であり、
前記縫製糸は、下記式:
耐屈曲摩耗値=摺動試験時の屈曲耐久時間[s]/前記縫製糸の太さ[tex]
で表される耐屈曲摩耗値が、0.16以上4.2以下の範囲であり、前記摺動試験時の屈曲耐久時間は、以下の手順(1)~(4)で測定される、縫製糸。
(1)前記縫製糸の一端を、内寸18cmの2つの固定部の一方に固定し、前記縫製糸の他端を日本番手における#21の針の針穴に通した後に、前記固定部の他方に1.5×前記縫製糸の太さ(tex)gの荷重をかけて張る;
(2)前記針穴が、前記2つの固定部の中央に位置し、かつ、前記針穴の中心から前記縫製糸の前記固定部までの高さが1.5cmとなるように、荷重118gをかけて前記針を押し下げた状態で固定し、初期位置とする;
(3)前記初期位置を中心に、前記縫製糸の張られた方向に4cmずつ(一往復で8cm)の距離を、1秒間に2往復の摺動速度で摺動させ、摺動開始から前記縫製糸が完全に破断するまでの時間(s)を計測する;
(4)手順(1)~(3)を5回行い、得られた時間(s)を平均して、前記縫製糸の前記屈曲耐久時間(s)を算出する。
続きを表示(約 490 文字)
【請求項2】
前記縫製糸を500℃で1時間焼成したときの重量減少量が35%未満である、請求項1に記載の縫製糸。
【請求項3】
前記縫製糸は、金属繊維が混撚されていないものである、請求項1に記載の縫製糸。
【請求項4】
有機繊維が混撚されていない、請求項1に記載の縫製糸。
【請求項5】
前記屈曲耐久時間が13秒以上である、請求項1に記載の縫製糸。
【請求項6】
前記縫製糸の太さが200tex以下である、請求項1に記載の縫製糸。
【請求項7】
前記縫製糸の表面がサイジング剤で表面処理されている、請求項1に記載の縫製糸。
【請求項8】
前記サイジング剤がフッ素化合物を含有しない、請求項7に記載の縫製糸。
【請求項9】
前記縫製糸の強熱減量値が2.0質量%以上である、請求項1に記載の縫製糸。
【請求項10】
前記縫製糸の撚り数が0.3回/25mm以上8.0回/25mm以下の範囲である、請求項1に記載の縫製糸。
(【請求項11】以降は省略されています)
発明の詳細な説明
【技術分野】
【0001】
本開示は、耐熱性縫製糸、ガラスクロス、及びガラスクロスの製造方法に関する。
続きを表示(約 3,400 文字)
【背景技術】
【0002】
防炎布、耐熱保護布等に用いられるガラスクロスは、その縫い合わせに高耐熱性の縫製糸が使用される。一般に縫製性能が高い有機繊維は耐熱性が低く、比較的高い耐熱性を持つアラミド繊維でも、その耐熱性は400℃~500℃程度である。そのため、それを超える温度、例えば500℃を超える温度に対する高耐熱性が求められる用途では、無機繊維や金属繊維が使用されている。しかしながら、無機繊維の縫製糸は、耐久性が低く、縫製時にミシンの針穴や糸のガイドから受ける摩擦や張力などの様々な外力により、縫製糸の表面が毛羽立ち、糸のほつれや切断が生じ易い。
【0003】
無機繊維の縫製性能を向上させる手段としては、例えば、有機繊維との複合が知られている(特許文献1~3)。より具体的に、特許文献1は、ガラス繊維糸とパラ型アラミド繊維糸を混撚した糸を記載しており、また、パラ型アラミド繊維の耐熱性不足をガラス繊維糸によって補い、ガラス繊維特有の耐屈曲性不良による機械的脆さをパラ型アラミド繊維糸によって補うことができると記載している。特許文献2は、ガラス繊維に対して有機繊維が外周に配置されるように合撚し、かつフッ素樹脂に浸漬させて糸表面に被膜を作った糸を記載している。また、特許文献3には、ガラス繊維と化学繊維との混撚糸のピッチが所定範囲であり、かつ糸の表面にシリコーン被膜を持つ、ガラスクロス縫製用撚り糸について記載されている。
【0004】
ガラスクロスには、防炎や耐熱保護用途の他に、より薄地のプリント配線板の絶縁材料等の電子材料用途のものがある。スマートフォン等の情報端末の高性能化、及び5G通信に代表される高速通信化に伴い、例えば、高速通信用のプリント配線板の絶縁材料となるガラスクロスに対して、更なる誘電特性の向上(例えば、低誘電正接化)が望まれている。
【0005】
誘電特性を向上させる手段として、例えば、低誘電ガラスを用いてプリプレグを作製する手法が知られている(特許文献4、特許文献5)。より具体的に、特許文献4は、二酸化ケイ素(SiO
2
)組成量が98質量%以上100質量%以下のガラス糸を用いてプリプレグを作製することを記載している。特許文献5は、更なる低誘電正接化を目的として、石英ガラスクロスを加熱処理することを記載している。
【0006】
プリント配線板用途として使用されるガラスクロスは、ガラス糸に付着しているデンプン、PVA等の有機バインダーを除去するために、加熱脱油処理されることが知られている。生産性の観点から、加熱脱油処理は巻物の状態のガラスクロスに対して、複数本の製品を一度にバッチ式の加熱炉を用いて処理されることが多い。また、特許文献6は、生産性向上のため、Roll-tо-Roll方式でガラスクロスに対して何らかの加工を施す工程において、熱接着テープを用いた接着によって、ガラスクロス同士を接続する方法を記載している。
【先行技術文献】
【特許文献】
【0007】
特開平2-68326号公報
特開2001-064836号公報
実開昭62-088774号公報
特開2018-127747号公報
国際公開第2022/215287号
特開2003-166164号公報
【発明の概要】
【発明が解決しようとする課題】
【0008】
本開示は、縫製時の糸切れが少なく、高温処理後でも高い引張強度を持つ縫製部を形成できる縫製糸、並びに、これを用いて縫製されたガラスクロス及びその製造方法を提供することを目的の一つとする。
【課題を解決するための手段】
【0009】
本開示の実施形態の一部を以下の項目[1]~[20]に例示する。
[1]
無機繊維を含む、縫製糸であって、
上記縫製糸は、500℃で1時間焼成したときの重量減少量が50%未満であり、
上記縫製糸は、下記式:
耐屈曲摩耗値=摺動試験時の屈曲耐久時間[s]/上記縫製糸の太さ[tex]
で表される耐屈曲摩耗値が、0.16以上4.2以下の範囲であり、上記摺動試験時の屈曲耐久時間は、以下の手順(1)~(4)で測定される、縫製糸。
(1)上記縫製糸の一端を、内寸18cmの2つの固定部の一方に固定し、上記縫製糸の他端を日本番手における#21の針の針穴に通した後に、上記固定部の他方に1.5×上記縫製糸の太さ(tex)gの荷重をかけて張る;
(2)上記針穴が、上記2つの固定部の中央に位置し、かつ、上記針穴の中心から上記縫製糸の上記固定部までの高さが1.5cmとなるように、荷重118gをかけて上記針を押し下げた状態で固定し、初期位置とする;
(3)上記初期位置を中心に、上記縫製糸の張られた方向に4cmずつ(一往復で8cm)の距離を、1秒間に2往復の摺動速度で摺動させ、摺動開始から上記縫製糸が完全に破断するまでの時間(s)を計測する;
(4)手順(1)~(3)を5回行い、得られた時間(s)を平均して、上記縫製糸の上記屈曲耐久時間(s)を算出する。
[2]
上記縫製糸を500℃で1時間焼成したときの重量減少量が35%未満である、項目1に記載の縫製糸。
[3]
上記縫製糸は、金属繊維が混撚されていないものである、項目1に記載の縫製糸。
[4]
有機繊維が混撚されていない、項目1に記載の縫製糸。
[5]
上記屈曲耐久時間が13秒以上である、項目1に記載の縫製糸。
[6]
上記縫製糸の太さが200tex以下である、項目1に記載の縫製糸。
[7]
上記縫製糸の表面がサイジング剤で表面処理されている、項目1に記載の縫製糸。
[8]
上記サイジング剤がフッ素化合物を含有しない、項目7に記載の縫製糸。
[9]
上記縫製糸の強熱減量値が2.0質量%以上である、項目1に記載の縫製糸。
[10]
上記縫製糸の撚り数が0.3回/25mm以上8.0回/25mm以下の範囲である、項目1に記載の縫製糸。
[11]
上記縫製糸の平均摩擦係数(MIU値)が0.23以下である、項目1に記載の縫製糸。
ただし、上記MIU値は、摩擦子の進行方向に沿って上記縫製糸を6本/cmの間隔で並べた試料を用い、下記条件にて摩擦子を進行させた際の摩擦係数を測定し、この測定を5回行い、得られた値を平均することで得られる。
測定装置:摩擦感テスターKES―SE(カトーテック社製)
接触部材:10mm角ピアノワイヤセンサー
SENS:H
SPEED:1(1mm/sec)
摩擦子の荷重:50g
測定距離:30mm
温度:25℃
湿度:50%
[12]
Na及びMgの含有量の総和が、Na
2
O換算及びMgO換算で1.5質量%以下である、項目1に記載の縫製糸。
[13]
ガラスクロスの縫製用である、項目1に記載の縫製糸。
[14]
上記ガラスクロスが複数本のフィラメントを含むガラス糸を経糸及び緯糸として構成され、上記ガラス糸のケイ素(Si)含有量が、二酸化ケイ素(SiO
2
)換算で95.0質量%~100質量%である、項目13に記載の縫製糸。
[15]
項目1~12のいずれか一項に記載の縫製糸で縫製された、ガラスクロス。
【発明の効果】
【0010】
本開示によれば、縫製時の糸切れが少なく、高温処理後でも高い引張強度を持つ縫製部を構成できる縫製糸、並びに、これを用いて縫製されたガラスクロス及びその製造方法を提供することができる。
【図面の簡単な説明】
(【0011】以降は省略されています)
この特許をJ-PlatPat(特許庁公式サイト)で参照する
関連特許
他の特許を見る