TOP
|
特許
|
意匠
|
商標
特許ウォッチ
Twitter
他の特許を見る
10個以上の画像は省略されています。
公開番号
2025136607
公報種別
公開特許公報(A)
公開日
2025-09-19
出願番号
2024035301
出願日
2024-03-07
発明の名称
建具
出願人
株式会社LIXIL
代理人
個人
,
個人
,
個人
主分類
E06B
3/46 20060101AFI20250911BHJP(戸,窓,シャッタまたはローラブラインド一般;はしご)
要約
【課題】枠体の変形を防止し、耐風圧性を高めることができる建具を提供する。
【解決手段】躯体の開口部の縁部に沿って設けられた枠体2と、枠体2にスライド可能に支持される内障子3および外障子4と、を有する。内障子3および外障子4は、複層ガラス32,42と、複層ガラス32,42の外周部に設けられた框31,41と、を有する。框31,41は、上框33,43、下框34,44および召合框を有し、内障子3は、上框33から召合框にわたって設けられる上荷重伝達部材51および下框34から召合框にわたって設けられる下荷重伝達部材52を有し、上荷重伝達部材51および下荷重伝達部材52は、枠体2と屋内外方向に対向する。
【選択図】図2
特許請求の範囲
【請求項1】
躯体の開口部の縁部に沿って設けられた枠体と、
前記枠体にスライド可能に支持される複数の障子と、を有し、
前記複数の障子は、
面材と、
前記面材の外周部に設けられた框と、を有し、
前記框は、上框、下框および召合框を有し、
前記複数の障子の少なくとも1つは、前記上框から前記召合框および/または前記下框から前記召合框にわたって設けられる荷重伝達部材を有し、
前記荷重伝達部材は、前記枠体と屋内外方向に対向する建具。
続きを表示(約 230 文字)
【請求項2】
前記荷重伝達部材は、前記上框および前記召合框の屋外側に設けられている請求項1に記載の建具。
【請求項3】
前記荷重伝達部材は、前記下框および前記召合框における前記枠体の下レールと対向する部分に設けられている請求項1または2に記載の建具。
【請求項4】
前記框は、縦框と横框とが縦勝ちに組まれている請求項1または2に記載の建具。
【請求項5】
前記障子は、内障子である請求項1または2に記載の建具。
発明の詳細な説明
【技術分野】
【0001】
本開示は、建具に関する。
続きを表示(約 2,700 文字)
【背景技術】
【0002】
建物に設けられる建具は、障子が受けた風荷重が障子の框から枠体に伝達し、建物の躯体に伝達する。特許文献1に開示されているような内障子と外障子とがスライドする引き違いサッシの場合、風荷重は、障子の上框から上枠に、障子の下框から下枠に、障子の戸先框から縦枠に伝達する。内障子の召合框と外障子の召合框とが重なる召合わせ部では、風荷重は、召合框の上端部から上枠に、召合框の下端部から下枠に伝達する。
【先行技術文献】
【特許文献】
【0003】
特開2019-163658号公報
【発明の概要】
【発明が解決しようとする課題】
【0004】
召合框から上枠や下枠に伝達する風荷重は、上框および下框から上枠および下枠に伝達する風荷重よりも上枠および下枠に局所的に作用する。このため、風荷重が大きくなる建物の高層階では、召合框から上枠や下枠に伝達する風荷重によって、枠体が変形し耐風圧性が低下する虞がある。
【0005】
本開示は、枠体の変形を防止し、耐風圧性を高めることができる建具を提供することを目的とする。
【課題を解決するための手段】
【0006】
上記目的を達成するため、本開示に係る建具は、躯体の開口部の縁部に沿って設けられた枠体と、前記枠体にスライド可能に支持される複数の障子と、を有し、前記複数の障子は、面材と、前記面材の外周部に設けられた框と、を有し、前記框は、上框、下框および召合框を有し、前記複数の障子の少なくとも1つは、前記上框から前記召合框および/または前記下框から前記召合框にわたって設けられる荷重伝達部材を有し、前記荷重伝達部材は、前記枠体と屋内外方向に対向する。
【図面の簡単な説明】
【0007】
第1実施形態の建具の正面図である。
建具の鉛直断面図である。
建具の水平断面図である。
図2の上部の拡大図である。
図2の下部の拡大図である。
内障子の上框と召合框との接合部分の斜視図である。
上荷重伝達部材の斜視図である。
下荷重伝達部材の斜視図である。
框に安全キャップが取り付けられている様子を示す斜視図である。
内障子の戸先框の上端部に取り付けられた安全キャップの側面図である。
内障子の戸先框の上端部に取り付けられた安全キャップの平面図である。
内障子の戸先框の上端部に取り付けられた安全キャップの背面図である。
内障子の戸先框の上端部に取り付けられた安全キャップの斜視図である。
内障子の戸先框の上端部に取り付けられた安全キャップの他の斜視図である。
内障子の戸先框の上端部に取り付けられた安全キャップの更に他の斜視図である。
内障子の戸先框の下端部に取り付けられた安全キャップの側面図である。
内障子の戸先框の下端部に取り付けられた安全キャップの平面図である。
内障子の戸先框の下端部に取り付けられた安全キャップの背面図である。
外障子の戸先框の上端部に取り付けられた安全キャップの側面図である。
外障子の戸先框の上端部に取り付けられた安全キャップの平面図である。
外障子の戸先框の上端部に取り付けられた安全キャップの背面図である。
外障子の戸先框の下端部に取り付けられた安全キャップの側面図である。
外障子の戸先框の下端部に取り付けられた安全キャップの平面図である。
外障子の戸先框の下端部に取り付けられた安全キャップの背面図である。
外障子の戸先框の下端部に取り付けられた安全キャップの斜視図である。
内障子下レールの他の形態を示す図である。
安全キャップの他の形態を示す斜視図である。
端部部材が取り付けられた下框を示す図である。
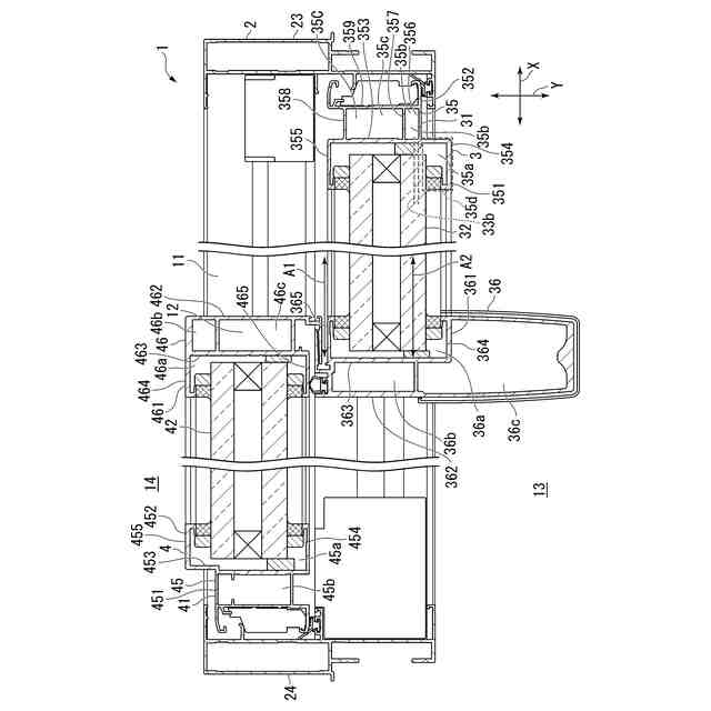
端部部材の斜視図である。
荷重伝達部材が設けられたアルミ樹脂複合サッシの建具の鉛直断面図である。
【発明を実施するための形態】
【0008】
図1から図3に示すように、本実施形態の建具1は、引き違い窓である。建具1は、アルミサッシである。建具1は、枠体2と、内障子3と、外障子4と、上荷重伝達部材51と、下荷重伝達部材52と、を有する。枠体2は、建物の屋内外を仕切る壁部の開口部11の縁部に沿って設けられる。壁部に直交する方向であり、屋内と屋外とを結ぶ方向を屋内外方向と表記する。図面では、屋内外方向を矢印Yで示す。図面では、屋内を符号「13」で示し、屋外を符号「14」で示す。壁部に沿った方向であり、屋内外方向に直交する水平方向を幅方向と表記する。図面では、幅方向を矢印Xで示す。内障子3および外障子4は、幅方向にスライドする。内障子3および外障子4は、枠体2の内側に設けられる。内障子3および外障子4は、枠体2の内側において幅方向にスライド可能である。幅方向のうち、内障子3および外障子4が開口部11を閉鎖した際に内障子3が配置される側を一方側と表記し、外障子4が配置される側を他方側と表記する。各部材の説明は、その部材が定位置に配置されている場合の姿勢であるものとして説明する。
【0009】
枠体2は、四方枠である。枠体2は、上枠21と、下枠22と、一対の縦枠23,24と、を有する。上枠21、下枠22および一対の縦枠23,24は、アルミニウムの形材である。上枠21および下枠22は、幅方向に延びている。一対の縦枠23,24は上下方向に延びている。上枠21、下枠22および一対の縦枠23,24は、それぞれ長さ方向全体にわたって略同じ断面形状である。
【0010】
内障子3は、框31と、複層ガラス32と、を有する。框31は、上框33と、下框34と、戸先框35と、召合框36と、を有する。上框33、下框34、戸先框35および召合框36は、アルミの形材である。上框33および下框34は、幅方向に延びている。戸先框35および召合框36は、上下方向に延びている。上框33は、戸先框35の上端部と召合框36の上端部との間に設けられている。下框34は、戸先框35の下端部と召合框36の下端部との間に設けられている。上框33、下框34、戸先框35および召合框36は、それぞれ長さ方向全体にわたって略同じ断面形状である。框31は、上框33および下框34の横框と、戸先框35および召合框36の縦框とが縦勝ちに組まれている。
(【0011】以降は省略されています)
この特許をJ-PlatPat(特許庁公式サイト)で参照する
関連特許
株式会社LIXIL
建具
1日前
株式会社LIXIL
トイレ装置
1日前
株式会社LIXIL
シリンダ錠
4日前
株式会社LIXIL
建具及び建具の施工方法
1日前
株式会社LIXIL
シリンダ錠及び建物設備機器群
4日前
株式会社LIXIL
物品収納提案装置、物品収納提案方法、端末装置
1日前
株式会社LIXIL
改装サッシ
8日前
株式会社LIXIL
表示制御装置、表示制御システム、プログラム及び表示制御方法
4日前
株式会社LIXILトータルサービス
コンピュータープログラム、情報管理装置、端末装置、情報管理システム及び制御方法
1日前
株式会社ナカオ
作業台
1か月前
中国電力株式会社
脚立
1か月前
株式会社ESP
止水板
2か月前
三協立山株式会社
構造体
3か月前
三協立山株式会社
開口部装置
1か月前
三協立山株式会社
開口部装置
1か月前
三協立山株式会社
開口部装置
1か月前
三協立山株式会社
開口部装置
1か月前
三協立山株式会社
開口部装置
4日前
三協立山株式会社
開口部装置
1か月前
ミサワホーム株式会社
水切り材
1か月前
株式会社TJMデザイン
脚立用ホルダー
3か月前
不二サッシ株式会社
引違いサッシ
1か月前
不二サッシ株式会社
引違いサッシ
3日前
文化シヤッター株式会社
止水装置
3日前
株式会社ニチベイ
縦型ブラインド
2か月前
株式会社LIXIL
太陽電池ガラス
12日前
永大産業株式会社
開閉構造体
3か月前
三協立山株式会社
サッシの製造方法
1か月前
株式会社LIXIL
建具
8日前
株式会社LIXIL
建具
1か月前
倉敷紡績株式会社
外構ユニット
2日前
株式会社LIXIL
建具
1か月前
株式会社LIXIL
建具
1か月前
株式会社LIXIL
建具
1か月前
株式会社LIXIL
建具
12日前
株式会社LIXIL
建具
2か月前
続きを見る
他の特許を見る