TOP
|
特許
|
意匠
|
商標
特許ウォッチ
Twitter
他の特許を見る
公開番号
2025174472
公報種別
公開特許公報(A)
公開日
2025-11-28
出願番号
2024080871
出願日
2024-05-17
発明の名称
シャッター構造
出願人
文化シヤッター株式会社
代理人
個人
主分類
E06B
9/11 20060101AFI20251120BHJP(戸,窓,シャッタまたはローラブラインド一般;はしご)
要約
【課題】シャッターカーテンに向けて物が飛ばされる状況においてもサッシの破損を有効に防止することができるシャッター構造を提案する。
【解決手段】シャッター構造1Aは、建物の開口部101に設けられるサッシ2と、昇降可能であってサッシ2に対して屋外側に設けられるシャッターカーテン7と、シャッターカーテン7が下降した状態でシャッターカーテン7の屋外面及び/又は屋内面を覆ってサッシ2に向けてのシャッターカーテン7の撓みを抑制する緩衝部材15と、を備える。
【選択図】図1
特許請求の範囲
【請求項1】
建物の開口部に設けられるサッシと、
昇降可能であって前記サッシに対して屋外側に設けられるシャッターカーテンと、
前記シャッターカーテンが下降した状態で当該シャッターカーテンの屋外面及び/又は屋内面を覆って前記サッシに向けての当該シャッターカーテンの撓みを抑制する緩衝部材と、を備えるシャッター構造。
続きを表示(約 290 文字)
【請求項2】
前記シャッターカーテンは、前記緩衝部材の先端部が着脱可能に連結する取り付け部を備える請求項1に記載のシャッター構造。
【請求項3】
前記シャッターカーテンの屋外面を覆う前記緩衝部材の先端部が着脱可能に連結し、前記シャッターカーテンに対して屋内側に設けられる、又は、前記シャッターカーテンの屋内面を覆う前記緩衝部材の先端部が着脱可能に連結し、前記シャッターカーテンに対して屋外側に設けられる取り付け部を備える請求項1に記載のシャッター構造。
【請求項4】
前記緩衝部材を巻取る巻取り部を備える請求項1に記載のシャッター構造。
発明の詳細な説明
【技術分野】
【0001】
本発明は、サッシとシャッターカーテンを含むシャッター構造に関する。
続きを表示(約 1,600 文字)
【背景技術】
【0002】
従前より、住宅等の建物における窓等の開口部に設けられるサッシと、昇降可能であってこのサッシの屋外側に設けられるシャッターカーテンとを含んで構成されるシャッター構造が知られている。例えば特許文献1には、サッシとシャッターカーテンを備え、更にシャッターカーテンの屋外側にロールスクリーンを設けたシャッター構造が示されている。
【0003】
特許文献1に示されたシャッター構造によれば、日中、シャッターカーテンを開けているときにサッシから屋内に日射しが射し込む場合には、ロールスクリーンを下降させてサッシを覆うことによって日射しを遮ることができる。また強雨時や夜間等においては、シャッターカーテンを下降させてサッシを覆うことにより、防雨、防風、防犯、遮音等の効果を得ることができる。
【先行技術文献】
【特許文献】
【0004】
特開2001-323752号公報
【発明の概要】
【発明が解決しようとする課題】
【0005】
一方、近年は自然環境の変化に伴って台風の大型化や発生回数の増大が予想されていて、風速が15m/s程度の強風や風速が20m/s以上の暴風が吹く頻度が高まることが見込まれている。このような強風や暴風が吹く際には、建物周辺に置いている物が飛ばされてシャッターカーテンに衝突し、飛来物の大きさや重さによってはシャッターカーテンが屋内側に大きく撓んでサッシにぶつかって、例えばサッシに設けられたガラスが破損する等の不具合が生じるおそれがある。
【0006】
このような点に鑑み、本発明は、シャッターカーテンに向けて物が飛ばされる状況においてもサッシの破損を有効に防止することができるシャッター構造を提案することを目的とする。
【課題を解決するための手段】
【0007】
本発明のシャッター構造は、建物の開口部に設けられるサッシと、昇降可能であって前記サッシに対して屋外側に設けられるシャッターカーテンと、前記シャッターカーテンが下降した状態で当該シャッターカーテンの屋外面及び/又は屋内面を覆って前記サッシに向けての当該シャッターカーテンの撓みを抑制する緩衝部材と、を備える。
【発明の効果】
【0008】
このような本発明のシャッター構造によれば、緩衝部材がシャッターカーテンの屋外面及び/又は屋内面を覆っているため、緩衝部材によってシャッターカーテンのサッシに向けての撓みが抑制される。従ってシャッターカーテンに向けて物が飛ばされる状況においても、シャッターカーテンによるサッシの破損を有効に防止することができる。
【図面の簡単な説明】
【0009】
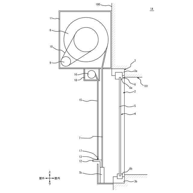
本発明に係るシャッター構造の第一実施形態を模式的に示した側面視での断面図である。
図1のシャッター構造を模式的に示した正面図である。
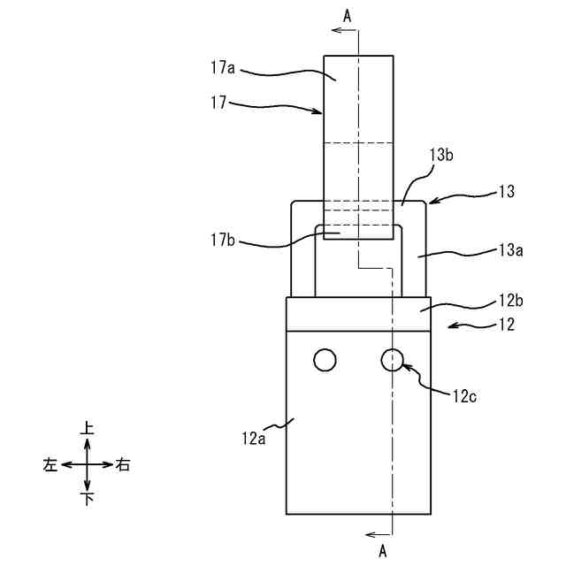
図1の係合部と保持部を拡大して示した正面図である。
図3Aに示したA-Aに沿う断面図である。
第一実施形態の変形例を示した図である。
本発明に係るシャッター構造の第二実施形態を模式的に示した側面視での断面図である。
本発明に係るシャッター構造の第三実施形態を模式的に示した側面視での断面図である。
【発明を実施するための形態】
【0010】
以下、本発明に係るシャッター構造を具現化した実施形態の一例について、添付図面を参照しながら説明する。なお、添付図面に示した図は模式的なものであり、各部分の厚みや幅、各部分同士の比率等は、実際に実施されるものとは異なる場合がある。また本明細書における序数は、部材等を区別するために便宜的に付したものであって、順番や優先順位を示すものではない。
(【0011】以降は省略されています)
この特許をJ-PlatPat(特許庁公式サイト)で参照する
関連特許
文化シヤッター株式会社
開閉装置
2日前
文化シヤッター株式会社
開閉装置
2日前
文化シヤッター株式会社
開閉装置
4日前
文化シヤッター株式会社
開閉装置構造
18日前
文化シヤッター株式会社
シャッター構造
2日前
文化シヤッター株式会社
シートシャッター
3日前
文化シヤッター株式会社
フレーム材および間仕切り
2日前
株式会社ESP
止水板
3か月前
中国電力株式会社
脚立
3か月前
株式会社ナカオ
作業台
2か月前
株式会社ニチベイ
遮蔽装置
1か月前
三協立山株式会社
開口部建材
24日前
三協立山株式会社
開口部装置
3か月前
三協立山株式会社
開口部装置
2か月前
三協立山株式会社
開口部装置
2か月前
三協立山株式会社
開口部建材
24日前
三協立山株式会社
開口部装置
3か月前
三協立山株式会社
開口部装置
1か月前
三協立山株式会社
開口部装置
3か月前
ミサワホーム株式会社
水切り材
3か月前
不二サッシ株式会社
引違いサッシ
1か月前
文化シヤッター株式会社
引戸装置
1か月前
豊田合成株式会社
調光装置
23日前
不二サッシ株式会社
引違いサッシ
2か月前
豊田合成株式会社
調光装置
1か月前
株式会社ニチベイ
縦型ブラインド
3か月前
文化シヤッター株式会社
止水装置
1か月前
三協立山株式会社
サッシの製造方法
2か月前
株式会社LIXIL
太陽電池ガラス
2か月前
株式会社LIXIL
建具
1か月前
株式会社LIXIL
建具
1か月前
株式会社LIXIL
建具
1か月前
株式会社LIXIL
建具
3か月前
株式会社LIXIL
建具
1か月前
株式会社LIXIL
建具
3か月前
株式会社LIXIL
建具
2か月前
続きを見る
他の特許を見る