TOP
|
特許
|
意匠
|
商標
特許ウォッチ
Twitter
他の特許を見る
10個以上の画像は省略されています。
公開番号
2025179945
公報種別
公開特許公報(A)
公開日
2025-12-11
出願番号
2024086915
出願日
2024-05-29
発明の名称
木質耐力壁
出願人
大和ハウス工業株式会社
代理人
個人
主分類
E04B
2/56 20060101AFI20251204BHJP(建築物)
要約
【課題】高い変形性能を有し、地震エネルギー吸収性に優れた木質耐力壁を提供すること。
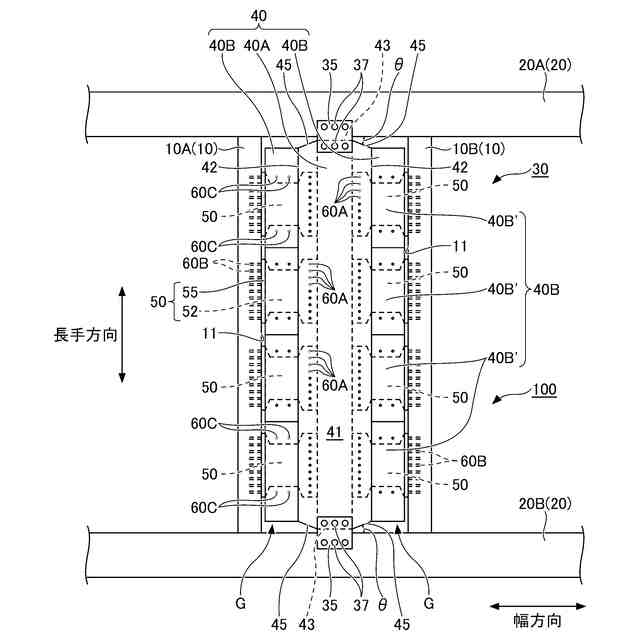
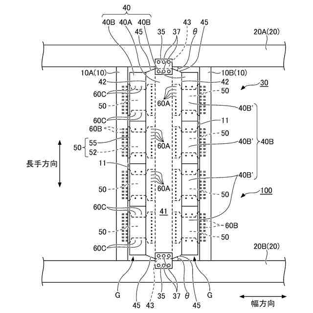
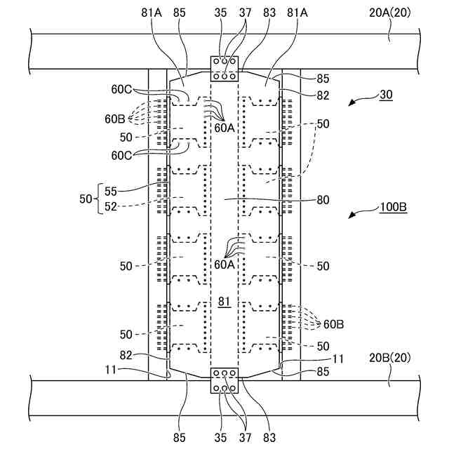
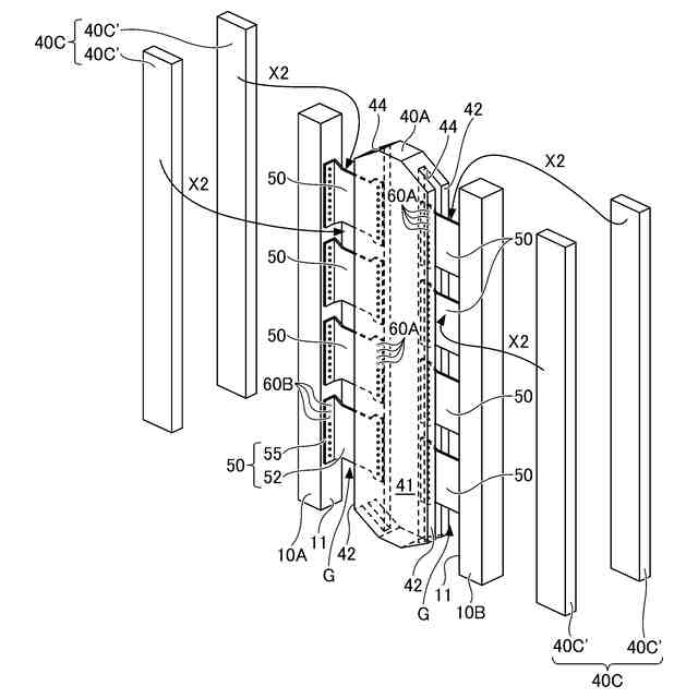
【解決手段】一対の柱10と一対の梁20もしくは土台を含む横架材とにより構成される架構30において、木質の耐力パネル40が一対の横架材20に取り付けられている、木質耐力壁100であり、耐力パネル40は繋ぎパネル40Aと拘束パネル40Bとを含み、繋ぎパネル40Aが、その左右の第1小口42と一対の柱10との間に隙間Gを備えた状態で配設され、第1小口42と一対の柱10の側面11とがそれぞれ、隙間Gに配設されている鋼材ダンパー50により接合され、鋼材ダンパー50が、隙間Gに配設されている一対の拘束パネル40Bにより挟まれている。
【選択図】図1
特許請求の範囲
【請求項1】
一対の柱と、一対の梁もしくは土台を含む横架材と、により構成される架構において、木質の耐力パネルが該一対の横架材に取り付けられている、木質耐力壁であって、
前記耐力パネルは、繋ぎパネルと拘束パネルとを含み、
前記繋ぎパネルが、その左右の第1小口と前記一対の柱との間に隙間を備えた状態で配設され、
前記第1小口と前記一対の柱の側面とがそれぞれ、前記隙間に配設されている鋼材ダンパーにより接合され、
前記鋼材ダンパーが、前記隙間に配設されている一対の前記拘束パネルにより挟まれていることを特徴とする、木質耐力壁。
続きを表示(約 1,600 文字)
【請求項2】
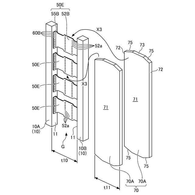
前記左右の第1小口にはそれぞれ収容溝が設けられており、
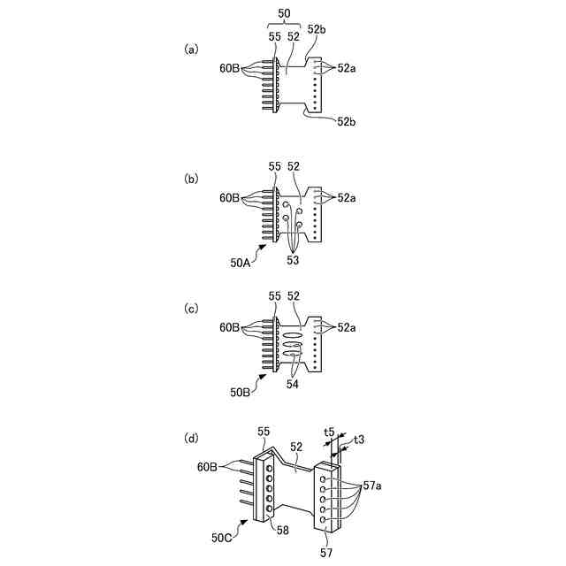
前記鋼材ダンパーの一端には曲げ部が設けられ、他端は平坦部であり、
前記収容溝に前記平坦部が収容され、該平坦部と前記繋ぎパネルが第1留め具により固定され、
前記柱の側面と前記曲げ部が第2留め具により固定され、
一対の前記拘束パネルが、前記鋼材ダンパーの上下の位置で第3留め具により固定されていることを特徴とする、請求項1に記載の木質耐力壁。
【請求項3】
前記鋼材ダンパーが、前記柱の長手方向に沿って間隔を置いて複数配設されており、
それぞれの前記鋼材ダンパーが、固有の一対の前記拘束パネルにより挟まれていることを特徴とする、請求項2に記載の木質耐力壁。
【請求項4】
一対の柱と、一対の梁もしくは土台を含む横架材と、により構成される架構において、木質の一対の耐力パネルが該一対の横架材に取り付けられている、木質耐力壁であって、
前記耐力パネルの左右にある一対の第1小口の間の幅は、前記一対の柱の間の幅と同一もしくは略同一であり、
平坦部と、該平坦部の両端にある曲げ部とを備えている鋼材ダンパーのうち、2つの該曲げ部がそれぞれ、前記一対の柱の側面に対して第2留め具により固定され、
前記一対の耐力パネルが前記鋼材ダンパーを挟み、前記平坦部と該一対の耐力パネルが第1留め具により固定されていることを特徴とする、木質耐力壁。
【請求項5】
前記一対の耐力パネルが、該平坦部の上下の位置で第3留め具によりさらに固定されていることを特徴とする、請求項4に記載の木質耐力壁。
【請求項6】
一対の柱と、一対の梁もしくは土台を含む横架材と、により構成される架構において、木質の1つの耐力パネルが該一対の横架材に取り付けられている、木質耐力壁であって、
前記耐力パネルの左右にある一対の第1小口の間の幅は、前記一対の柱の間の幅と同一もしくは略同一であり、
前記第1小口には収容溝が設けられており、
平坦部と、該平坦部の一端にある曲げ部とを備えている鋼材ダンパーのうち、該曲げ部が前記柱の側面に対して第2留め具により固定され、
前記平坦部が前記収容溝に収容され、該平坦部と前記耐力パネルが第1留め具により固定されていることを特徴とする、木質耐力壁。
【請求項7】
前記耐力パネルのうち、前記収容溝が設けられている領域は、該収容溝にて分離された第1領域と第2領域を備え、前記平坦部の上下の位置において、該第1領域と該第2領域が第3留め具により固定されていることを特徴とする、請求項6に記載の木質耐力壁。
【請求項8】
一対の柱と、一対の梁もしくは土台を含む横架材と、により構成される架構において、木質の一対の耐力パネルが該一対の横架材に取り付けられている、木質耐力壁であって、
前記耐力パネルの左右の第1小口のうち、一方の該第1小口には収容溝が設けられており、
平坦部と、該平坦部の一端にある曲げ部とを備えている鋼材ダンパーのうち、前記収容溝に該平坦部が収容され、該平坦部と前記耐力パネルが第1留め具により固定され、
前記一対の柱のうちの一方の該柱の側面と前記曲げ部が、第2留め具により固定されていることを特徴とする、木質耐力壁。
【請求項9】
前記鋼材ダンパーのうち、留め具が留め付けられる領域には、該鋼材ダンパーよりも厚い厚板鋼材が溶接接合されていることを特徴とする、請求項2,4,6,8のいずれか一項に記載の木質耐力壁。
【請求項10】
前記鋼材ダンパーが、その内部に孔もしくはスリットを備えていることを特徴とする、請求項2,4,6,8のいずれか一項に記載の木質耐力壁。
(【請求項11】以降は省略されています)
発明の詳細な説明
【技術分野】
【0001】
本発明は、木質耐力壁に関する。
続きを表示(約 2,100 文字)
【背景技術】
【0002】
建物を構成する木質架構(木質柱と木質梁により形成される架構)や鉄骨架構(鉄骨柱と鉄骨梁により形成される架構)には、木質の耐力パネルが取り付けられて耐力壁が形成される場合があり、このように各種の架構に対して木質の耐力パネルが取り付けられている耐力壁は、木質耐力壁と称することができる。
【0003】
ここで、特許文献1には、耐力パネル(ここでは耐力面材)として、CLT(Cross Laminated Timber、直交集成板)パネルが適用されている間仕切耐力壁が提案されている。この間仕切耐力壁は、天井懐に横架される梁材と、梁材を支持する2本の柱材と、2本の柱材の間に架設される下枠材と、梁材、2本の柱材及び下枠材により形成される方形枠内に配置される木質あらわし意匠を有する耐力面材とを備える室内に配置される間仕切耐力壁である。梁材の下部には、天井懐を被覆して室内の天井を形成する天井材が設けられており、耐力面材は、天井材より下方に配置されて2本の柱材に固定され、天井材と固定されないようになっている。また、柱材に対して、CLTパネルからなる耐力パネルは複数のビスにより取り付けられている。
【先行技術文献】
【特許文献】
【0004】
特開2020-23802号公報
【発明の概要】
【発明が解決しようとする課題】
【0005】
特許文献1に記載される間仕切耐力壁をはじめとする従来の木質耐力壁においては、左右にある一対の柱やさらには上下にある一対の横架材(梁や土台等)に対して、耐力パネルの左右の小口がビスや釘等の留め具により固定されることが一般的である。従って、地震時の水平力が架構に作用した際に、架構の水平方向への変形を耐力パネルにて抵抗する木質耐力壁の耐力は、柱と耐力パネルとの間のせん断力に対するビスや釘等のダボ抵抗により決定される場合が往々にしてある。
【0006】
しかしながら、ビス等の留め具のダボ抵抗により木質耐力壁の耐力が決定される場合には、高い変形性能を有する木質耐力壁とはなり難く、地震エネルギー吸収性の観点で課題がある。
【0007】
本発明は上記課題に鑑みてなされたものであり、高い変形性能を有し、地震エネルギー吸収性に優れた木質耐力壁を提供することを目的としている。
【課題を解決するための手段】
【0008】
前記目的を達成すべく、本発明による木質耐力壁の一態様は、
一対の柱と、一対の梁もしくは土台を含む横架材と、により構成される架構において、木質の耐力パネルが該一対の横架材に取り付けられている、木質耐力壁であって、
前記耐力パネルは、繋ぎパネルと拘束パネルとを含み、
前記繋ぎパネルが、その左右の第1小口と前記一対の柱との間に隙間を備えた状態で配設され、
前記第1小口と前記一対の柱の側面とがそれぞれ、前記隙間に配設されている鋼材ダンパーにより接合され、
前記鋼材ダンパーが、前記隙間に配設されている一対の前記拘束パネルにより挟まれていることを特徴とする。
【0009】
本態様によれば、木質の耐力パネルが繋ぎパネルと拘束パネルを含み、繋ぎパネルがその左右の第1小口と一対の柱との間に隙間を備えた状態で配設され、隙間に配設されている鋼材ダンパーが第1小口と柱の側面に接合され、鋼材ダンパーが一対の拘束パネルにて挟まれていることにより、地震時(大地震時)に架構が変形した際に鋼材ダンパーを塑性変形させることによって、例えば紡錘型の荷重-変形履歴を有する地震エネルギー吸収性に優れた木質耐力壁を形成できる。例えば、鋼材ダンパーが薄い鋼板からなり、薄い鋼板が何らの拘束もない場合は、スリップ型の荷重-変形履歴となり易く、地震エネルギー吸収性が小さくなる傾向にあるが、本態様のように、例えば鋼材ダンパーが薄い鋼板からなる場合でも鋼板が一対の拘束パネルにて拘束され、鋼材ダンパーの面外変形が抑制されていることにより、上記する紡錘型の荷重-変形履歴特性が得られることになる。さらに、鋼材ダンパーが木質の一対の拘束パネルにて挟まれていることから、鋼材ダンパーを外部から視認不可とすることにより、外観意匠性に優れた木質耐力壁を形成できる。
【0010】
ここで、木質の耐力パネルが組み込まれる架構は、木質柱と木質梁や木質土台等の横架材により構成される木質架構、鉄骨柱と鉄骨梁や鉄骨土台等の横架材により構成される鉄骨架構、さらには、コンクリート製の柱と横架材により構成されるコンクリート架構や、コンクリート製の柱と鉄骨の横架材等からなるハイブリッド架構のいずれであってもよく、いずれの架構が適用される場合でも、木質の耐力パネルが組み込まれることにより、木質耐力壁が構成されることになる。
(【0011】以降は省略されています)
この特許をJ-PlatPat(特許庁公式サイト)で参照する
関連特許
個人
免震建築構造
7日前
株式会社フジタ
合成床
7日前
個人
住宅の省エネ方法
3日前
鹿島建設株式会社
補強構造
7日前
ミサワホーム株式会社
床パネル
1日前
ミサワホーム株式会社
耐火外壁構造
1日前
大和ハウス工業株式会社
木質耐力壁
1日前
大和ハウス工業株式会社
建物
1日前
大和ハウス工業株式会社
防音床構造
1日前
個人
構造体および構造体の構築方法
7日前
三協立山株式会社
フェンスの製造方法
7日前
JFEシビル株式会社
柱梁接合部の構造
7日前
東リ株式会社
巾木
1日前
大成建設株式会社
制振構造
1日前
大和ハウス工業株式会社
換気口閉鎖部材
1日前
大和ハウス工業株式会社
目地幅拡張治具
1日前
アイジー工業株式会社
装飾板の下地材および施工方法
1日前
旭化成ホームズ株式会社
建物
3日前
個人
排水口用ドレン
8日前
株式会社ミクニ
フェンス及びフェンスの製造方法
1日前
清水建設株式会社
ガラスパネル構造
9日前
積水ハウス株式会社
建築物の壁および建築物
7日前
株式会社竹中工務店
梁構造
3日前
大和ハウス工業株式会社
躯体及び躯体構築方法
1日前
七王工業株式会社
建築用防音材およびその用途
3日前
株式会社国元商会
仮設構造体組立て用連結金具
7日前
元旦ビューティ工業株式会社
屋根改修構造
8日前
アイジー工業株式会社
捨て板および窓まわりにおける施工方法
1日前
株式会社竹中工務店
仕口部材
2日前
国立大学法人 岡山大学
耐震壁構造
1日前
株式会社竹中工務店
仕口部構造
1日前
大和ハウス工業株式会社
接合金物、及び柱接合構造
1日前
株式会社東亜産業
タイトフレームの固定構造
3日前
旭化成建材株式会社
接合構造及びパネル材
1日前
清水建設株式会社
CFT柱とRC柱との接合構造
2日前
TUS都市開発株式会社
多層建築物
7日前
続きを見る
他の特許を見る