TOP
|
特許
|
意匠
|
商標
特許ウォッチ
Twitter
他の特許を見る
公開番号
2025180499
公報種別
公開特許公報(A)
公開日
2025-12-11
出願番号
2024087868
出願日
2024-05-30
発明の名称
防音床構造
出願人
大和ハウス工業株式会社
代理人
個人
主分類
E04F
15/18 20060101AFI20251204BHJP(建築物)
要約
【課題】建物の1階の床に作用する衝撃に起因して建物の外へ伝搬する騒音に対して十分な防音効果を発揮することのできる、防音床構造を提供すること。
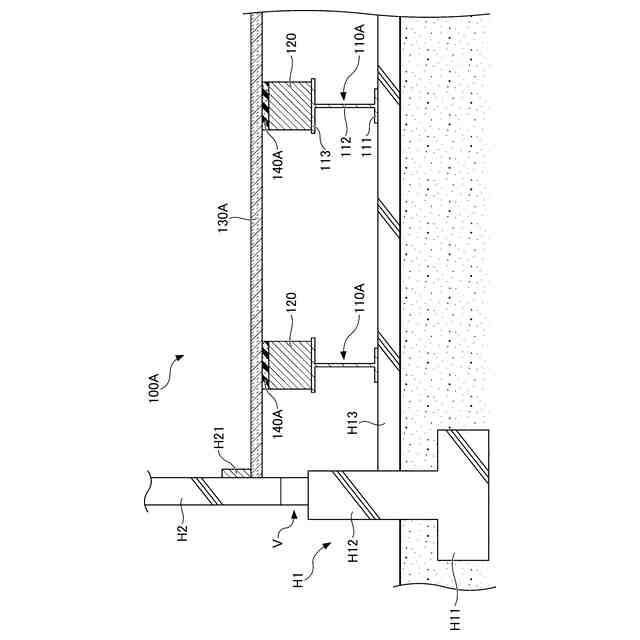
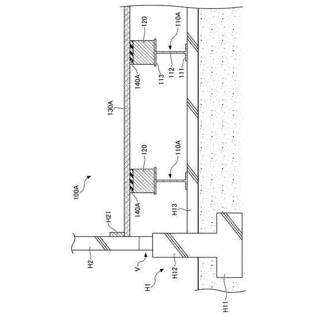
【解決手段】防音床構造100Aは、建物の土間H13に載置される床束110Aと、その床束110Aに支持される大引120Aと、その大引120Aに支持される床材130Aと、床束110Aと大引120Aとの間に配置される防振材140Aとを有している。
【選択図】図3
特許請求の範囲
【請求項1】
建物の1階の防音床構造であって、
前記建物の土間に載置される床束と、
前記床束に支持される大引と、
前記大引に支持される床材と、
前記床束と前記大引との間又は前記大引と前記床材との間に配置される防振材とを有することを特徴とする、防音床構造。
続きを表示(約 960 文字)
【請求項2】
建物の1階の防音床構造であって、
前記建物の土間に載置される床束と、
前記床束に支持される大引と、
前記大引に支持される床材とを有し、
前記土間の外周にある基礎の立ち上がり部に下端が支持される外壁の室内側面と前記床材との間に第1隙間が設けられていることを特徴とする、防音床構造。
【請求項3】
建物の1階の防音床構造であって、
前記建物の土間に載置される床束と、
前記床束に支持される大引と、
前記大引に支持される床材と、
前記床束と前記大引との間又は前記大引と前記床材との間に配置される防振材とを有し、
前記土間の外周にある基礎の立ち上がり部に下端が支持される外壁の室内側面と前記床材との間に第1隙間が設けられていることを特徴とする、防音床構造。
【請求項4】
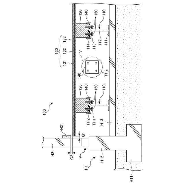
前記床束の上端に設けられて前記大引を支持する支持板と前記大引との横方向のずれを抑制する留め具をさらに有し、
前記留め具が、前記支持板に設けられた第1貫通孔に下方から挿通されて前記大引の下面に留め付けられていることを特徴とする、請求項1から請求項3のいずれか一項に記載の防音床構造。
【請求項5】
前記床束の上端に設けられて前記大引を支持する支持板と前記大引との横方向のずれを抑制する留め具をさらに有し、
前記防振材は、前記支持板と前記大引との間に配置され、
前記留め具が、前記支持板に設けられた第1貫通孔と、前記防振材の前記第1貫通孔に対応する位置に設けられた第2貫通孔に下方から挿通されて前記大引の下面に留め付けられていることを特徴とする、請求項1又は請求項3に記載の防音床構造。
【請求項6】
前記床材は、床下地材と防音マットの積層材であることを特徴とする、請求項1から請求項3のいずれか一項に記載の防音床構造。
【請求項7】
前記床材の端部は、前記外壁の室内側面の下端部に取り付けられた巾木の下方に位置し、
前記床材の端部の上面と前記巾木の下面との間に、第2隙間が設けられていることを特徴とする、請求項2又は請求項3に記載の防音床構造。
発明の詳細な説明
【技術分野】
【0001】
本発明は、防音床構造に関する。
続きを表示(約 1,800 文字)
【背景技術】
【0002】
従来、生活音等に対する防音性能を有する防音床構造に関する発明が知られている(例えば、下記特許文献1を参照)。特許文献1に記載された防音床構造は、床部材同士が縁切りされており、上記縁切りされた箇所に弾性復元率が60%以上で95%以下であるシーリング材が充填されている。
【0003】
特許文献1に記載された防音床構造は、上記床部材同士が縁切りされているので、例えば、ある箇所において発生した音が、床を媒介した固体伝搬によって周囲に伝搬して行くのを抑制することができる。そして、上記縁切りされた箇所には、シーリング材が充填されるので、隙間による音の空気伝搬も抑制されることになる。
【0004】
また、木造住宅における上階から下階に伝搬する振動を効果的に抑制することができる防音構造に関する発明が知られている(例えば、下記特許文献2を参照)。特許文献2に記載された木造住宅における上階室と下階室間の防音構造は、下階室の天井部の周辺部をその下階室の周辺部にて支持すると共に、その天井部の中間部の複数箇所を上階室の床構造体に防振手段を介して支持している。さらに、下階室の周辺部に配置した複数の間柱の上部を相互に横材で連結して、その横材を上階室の床構造体に接触させることなく、その端部を下階室の周囲に配置した柱材に連結している。
【0005】
特許文献2に記載された防音構造では、上階室の床構造体に入力される衝撃振動や空気振動が、その床構造体中を伝搬して下階室の天井や壁から音として放射される。その大部分の振動は上階室の床構造体の垂直下方に伝搬するが、下階室の天井部の中間部は防振手段を介して上階室の床構造体に連結されるので、上階室からの振動がその上階室の床面から下階室の天井部へ直接伝搬することにより発生する放射音は十分に抑制される。
【先行技術文献】
【特許文献】
【0006】
特開2018-96083号公報
特開平11-324161号公報
【発明の概要】
【発明が解決しようとする課題】
【0007】
昨今の建物においては、建物の1階の床に作用する衝撃に起因して建物の外へ伝搬する騒音が問題となることがあり、その対策が求められている。しかしながら、上記特許文献2に記載された従来の防音構造は、建物上階から下階への騒音を防止することを目的としたものである。また、上記特許文献1、2に記載された従来の防音床構造及び防音構造は、建物の1階の床に作用する衝撃に起因して建物の外へ伝搬する騒音に対して十分な防音効果を発揮できるか否かは定かでない。
【0008】
本発明は上記課題に鑑みてなされたものであり、建物の1階の床に作用する衝撃に起因して建物の外へ伝搬する騒音に対して十分な防音効果を発揮することのできる、防音床構造を提供することを目的としている。
【課題を解決するための手段】
【0009】
上記の目的を達成するために、本発明による防音床構造の一つの態様は、
建物の1階の防音床構造であって、
前記建物の土間に載置される床束と、
前記床束に支持される大引と、
前記大引に支持される床材と、
前記床束と前記大引との間又は前記大引と前記床材との間に配置される防振材とを有することを特徴とする。
【0010】
本態様によれば、例えば、建物の1階のプレイルーム等において床材の上で子供達が走り回ることにより床材に衝撃が作用しても、床束と大引との間又は大引と床材との間に配置される防振材によって衝撃を緩和して振動を減衰させることができる。その結果、床材から建物の1階の床下へ放射される音を減少させ、建物の1階の床材に作用する衝撃に起因して建物の外へ伝搬する騒音を効果的に抑制することができる。尚、建物の1階の床材から床下へ放射される音を減少させることで建物の外へ伝搬する騒音が減少する理由としては、例えば、床下空間で反響する音が減少することや、床下の換気口から建物の外へ漏れる騒音が減少することなどが考えられる。
(【0011】以降は省略されています)
この特許をJ-PlatPat(特許庁公式サイト)で参照する
関連特許
他の特許を見る