TOP
|
特許
|
意匠
|
商標
特許ウォッチ
Twitter
他の特許を見る
公開番号
2025180915
公報種別
公開特許公報(A)
公開日
2025-12-11
出願番号
2024088602
出願日
2024-05-31
発明の名称
接合金物、及び柱接合構造
出願人
大和ハウス工業株式会社
代理人
個人
,
個人
主分類
E04B
1/58 20060101AFI20251204BHJP(建築物)
要約
【課題】安定した品質を備えつつ、より簡単に且つ、より安価に製造することが可能な接合金物、及び、その接合金物を用いた柱接合構造を提供する。
を提供する。
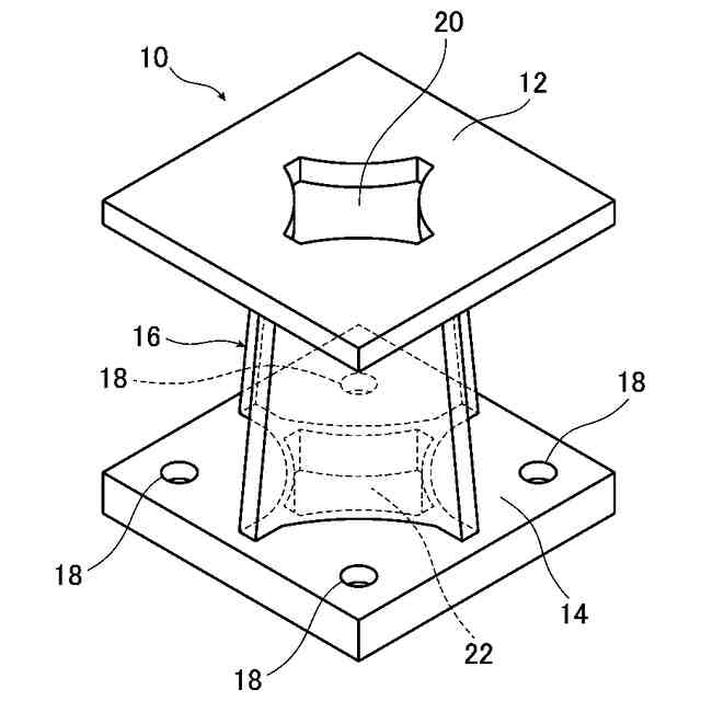
【解決手段】本発明の一つの実施形態に係る接合金物10は、基礎200に柱100を接合させ、柱脚部102に固定される柱側板部12と、基礎200に固定される固定部側板部14と、柱側板部12及び固定部側板部14の間で上下方向に延出し、柱側板部12及び固定部側板部14のそれぞれに接続された連結部16と、を有し、連結部16は、中空形状であり、柱側板部12、及び固定部側板部14のそれぞれには、連結部16の内部と連続している貫通穴20,22が形成されており、柱側板部12と固定部側板部14と連結部16とが一体化された鋳造品によって構成されている。
【選択図】図2
特許請求の範囲
【請求項1】
上下方向において柱から離れた固定部に前記柱を接合させる接合金物であって、
前記柱の端部に固定される柱側板部と、
前記固定部に固定される固定部側板部と、
前記柱側板部及び前記固定部側板部の間で上下方向に延出し、前記柱側板部及び前記固定部側板部のそれぞれに接続された連結部と、を有し、
前記連結部は、中空形状であり、
前記柱側板部、及び前記固定部側板部のそれぞれには、前記連結部の内部と連続している貫通穴が形成されており、
前記柱側板部と前記固定部側板部と前記連結部とが一体化された鋳造品によって構成された、接合金物。
続きを表示(約 450 文字)
【請求項2】
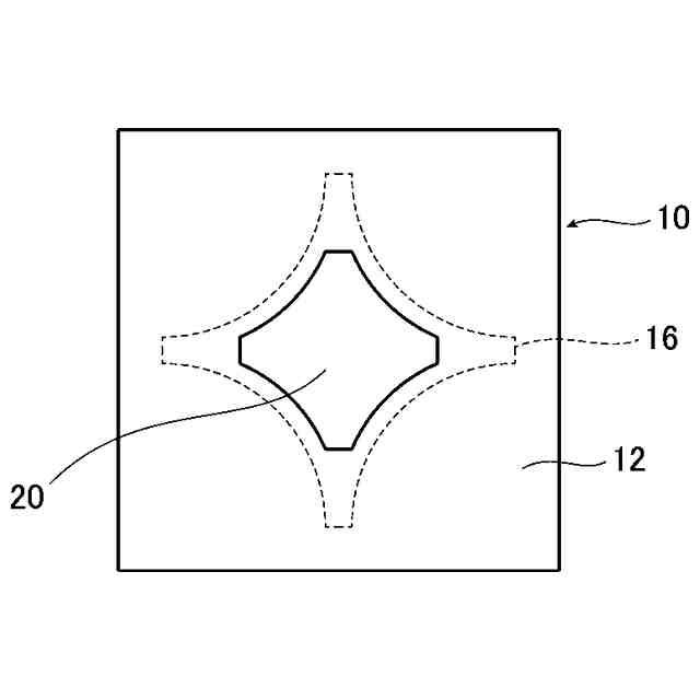
前記連結部は、筒状壁と、前記筒状壁から第1方向において互いに反対の向きに突出した一対の第1突出部と、前記筒状壁から前記第1方向と交差する第2方向において互いに反対の向きに突出した一対の第2突出部と、を有する、請求項1に記載の接合金物。
【請求項3】
前記筒状壁の断面は、4つ以上の円弧部分が連なった形状をなし、
前記4つ以上の円弧部分のそれぞれは、前記筒状壁の中心軸に向かって凸となるように湾曲している、請求項2に記載の接合金物。
【請求項4】
前記第1突出部及び前記第2突出部のそれぞれの突出量が、前記固定部側板部に近づくにつれて大きくなる、請求項2に記載の接合金物。
【請求項5】
請求項1乃至4のいずれか一項に記載の接合金物が、上下方向において、柱と、前記柱から離れた固定部の間に配置されており、前記柱及び前記固定部のそれぞれに前記接合金物が固定されることで前記柱が前記固定部に接合されている、柱接合構造。
発明の詳細な説明
【技術分野】
【0001】
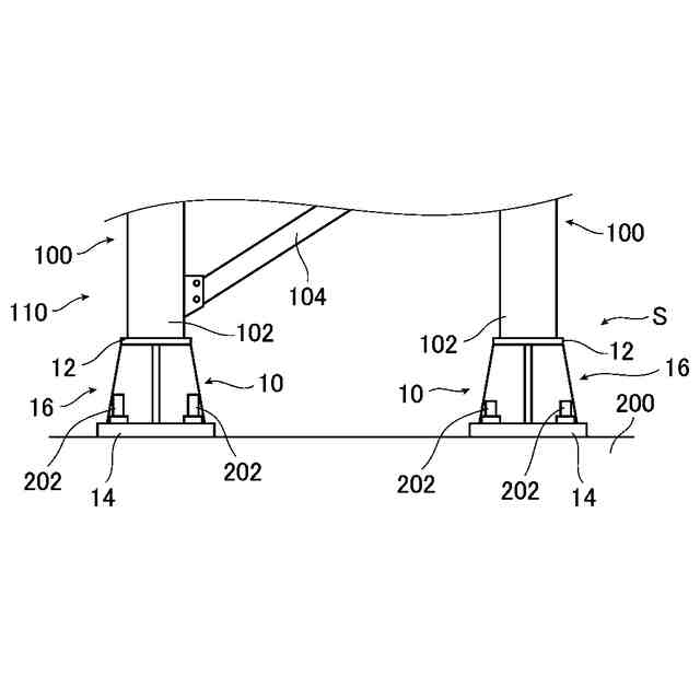
本発明は、部材同士を接合させるために用いられる接合金物に係り、特に、上下方向において柱から離れた固定部に当該柱を接合させる接合金物に関する。本発明は、接合金物を用いた柱接合構造に関する。
続きを表示(約 1,700 文字)
【背景技術】
【0002】
建物において、柱を、その柱から所定距離離れた部材(以下、固定部という)に接合させる場合には、例えば、柱と固定部との間に配置された接合金物に、柱の端部及び固定部を締結する。接合金物の一例としては、特許文献1に記載された接合金物が挙げられ得る。
【0003】
特許文献1に記載された接合金物は、耐力壁の柱の下端部(柱脚部)と基礎とを接合する柱脚金物であり、柱脚部に固定される上板と、基礎に固定される下板と、上板及び下板を連結しており断面が十字形状である連結脚部と、を有する。
【先行技術文献】
【特許文献】
【0004】
特開2020-111917号公報
【発明の概要】
【発明が解決しようとする課題】
【0005】
従来の接合金物は、一般的に、複数の部品を組み合わせて部品同士を溶接等にて継ぎ合わせることで構築されるものであった。そのため、これまでは、接合金物を利用するにあたり、組み立てや溶接等の作業を行う必要があり、その負担や手間が生じていた。また、これらの作業の品質(作業精度)は、作業者の技能及び熟練度等に左右され得る。そのため、安定した品質を備えつつ、より簡単に製造することが可能な接合金物が求められていた。さらに、コストの観点では、より安価な接合金物を提供できることが好ましい。
【0006】
そこで、本発明は、上記の課題に鑑みてなされたものであり、その目的とするところは、安定した品質を備えつつ、より簡単に且つ、より安価に製造することが可能な接合金物を提供することである。
また、本発明の他の目的は、上記の接合金物によって柱が固定部に接合された柱接合構造を提供することである。
【課題を解決するための手段】
【0007】
上記の課題は、本発明の接合金物によれば、上下方向において柱から離れた固定部に柱を接合させる接合金物であって、柱の端部に固定される柱側板部と、固定部に固定される固定部側板部と、柱側板部及び固定部側板部の間で上下方向に延出し、柱側板部及び固定部側板部のそれぞれに接続された連結部と、を有し、連結部は、中空形状であり、柱側板部、及び固定部側板部のそれぞれには、連結部の内部と連続している貫通穴が形成されており、柱側板部と固定部側板部と連結部とが一体化された鋳造品によって構成されたことで解決される。
上記の特徴を有する本発明の接合金物であれば、安定した品質を備えつつ、より簡単に、且つより安価に製造することができる。
【0008】
また、本発明の接合金物について、より好適な構成を述べると、連結部は、筒状壁と、筒状壁から第1方向において互いに反対の向きに突出した一対の第1突出部と、筒状壁から第1方向と交差する第2方向において互いに反対の向きに突出した一対の第2突出部と、を有するとよい。
上記の構成であれば、柱を固定部に接合するために必要な強度を確保しつつ、より簡単に、且つより安価に製造することができる接合金物が実現される。
【0009】
また、本発明の接合金物について、より一層好適な構成を述べると、筒状壁の断面は、4つ以上の円弧部分が連なった形状をなし、4つ以上の円弧部分のそれぞれは、筒状壁の中心軸に向かって凸となるように湾曲しているとよい。
上記の構成であれば、筒状壁の剛性を高めることにより、柱を固定部に接合するために必要な接合金物の強度を、より向上させることができる。
【0010】
また、本発明の接合金物について、さらに好適な構成を述べると、第1突出部及び第2突出部のそれぞれの突出量が、固定部側板部に近づくにつれて大きくなるとよい。
上記の構成であれば、第1突出部及び第2突出部を適切な形状にすることで、柱を固定部に接合するために必要な接合金物の強度を、より一層向上させることができる。
(【0011】以降は省略されています)
この特許をJ-PlatPat(特許庁公式サイト)で参照する
関連特許
他の特許を見る