TOP
|
特許
|
意匠
|
商標
特許ウォッチ
Twitter
他の特許を見る
10個以上の画像は省略されています。
公開番号
2025180518
公報種別
公開特許公報(A)
公開日
2025-12-11
出願番号
2024087901
出願日
2024-05-30
発明の名称
巾木
出願人
東リ株式会社
代理人
弁理士法人藤本パートナーズ
主分類
E04F
19/04 20060101AFI20251204BHJP(建築物)
要約
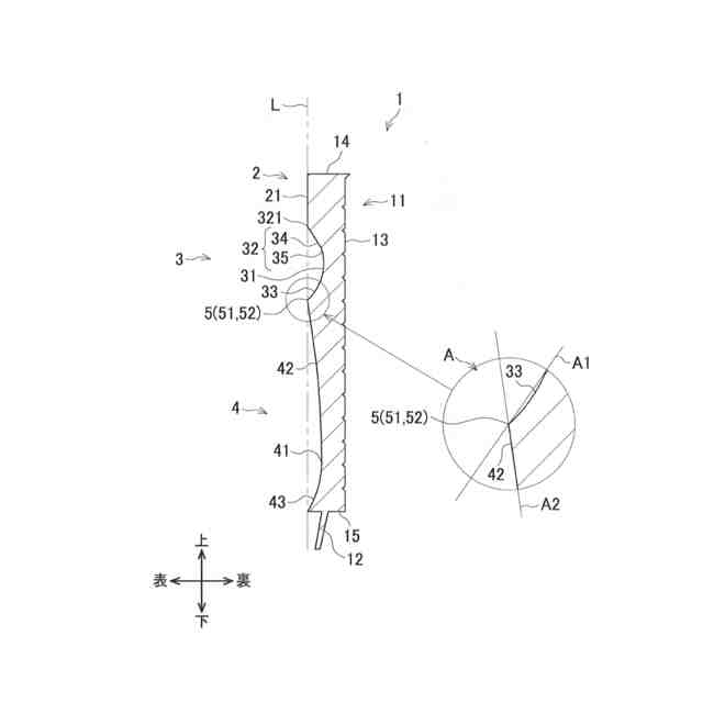
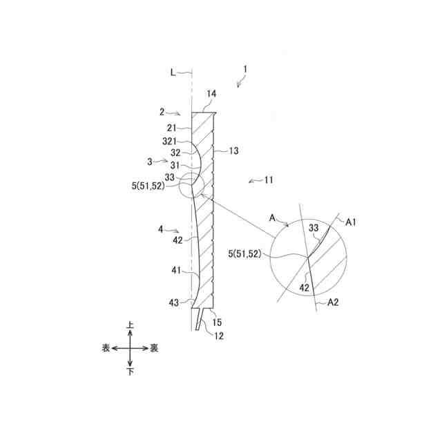
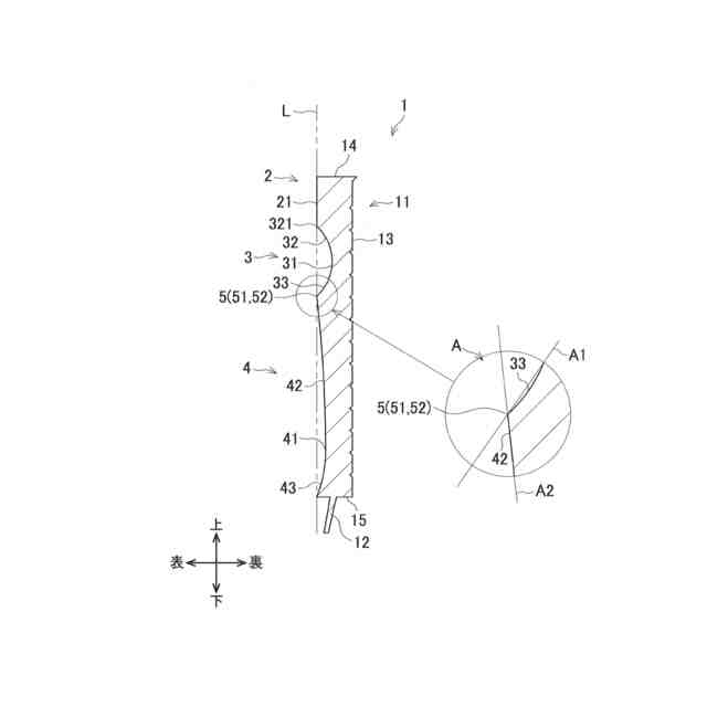
【課題】デザイン性の高い帯状本体を有する巾木を提供する。
【解決手段】巾木は、天井面と床面Fとの間に延びる壁面Wの下端部に配置され、帯状の帯状本体11を備え、帯状本体は、帯状の厚み方向で表側に位置する表面部2と、厚み方向で裏側に位置し、壁面に対して取り付けられる取付部と、を備え、表面部は、帯状の長手方向に延び、裏側に向かって凹となる第一凹部3と、長手方向に延び、裏側に向かって凹となる第二凹部4と、を備え、第一凹部は、帯状の幅方向で前記帯状本体の中央部よりも一端側に位置し、第二凹部は、幅方向で第一凹部よりも他端側に位置するとともに、幅方向で帯状本体の幅方向の長さの半分以上に亘るように構成される。
【選択図】図3
特許請求の範囲
【請求項1】
天井面と床面との間に延びる壁面の下端部に配置される巾木であって、
帯状の帯状本体を備え、
前記帯状本体は、前記帯状の厚み方向で表側に位置する表面部と、前記厚み方向で裏側に位置し、前記壁面に対して取り付けられる取付部と、を備え、
前記表面部は、前記帯状の長手方向に延び、裏側に向かって凹となる第一凹部と、前記長手方向に延び、裏側に向かって凹となる第二凹部と、を備え、
前記第一凹部は、前記帯状の幅方向で前記帯状本体の中央部よりも一端側に位置し、
前記第二凹部は、前記幅方向で前記第一凹部よりも他端側に位置するとともに、前記幅方向で前記帯状本体の前記幅方向の長さの半分以上に亘るように構成される、巾木。
続きを表示(約 580 文字)
【請求項2】
前記帯状本体は、前記第一凹部が上側に位置し、前記第二凹部が前記第一凹部に対して下側に位置する、又は、前記第一凹部が下側に位置し、前記第二凹部が前記第一凹部に対して上側に位置するように構成される、請求項1に記載の巾木。
【請求項3】
前記第一凹部の深さは、前記第二凹部の深さよりも深い、又は、前記第一凹部の深さは前記第二凹部の深さよりも浅い、請求項2に記載の巾木。
【請求項4】
前記第一凹部と前記第二凹部の間には、表側に凸となる尖端が形成される、請求項1乃至3のいずれか1項に記載の巾木。
【請求項5】
前記第二凹部の深さが最も深くなる位置である第二最奥部は、前記幅方向で前記第二凹部の中央よりも一方側又は他方側に位置している、請求項1乃至3のいずれか1項に記載の巾木。
【請求項6】
前記帯状本体は、前記幅方向で前記第一凹部と前記第二凹部の間の間部を備え、
前記間部の前記第一凹部側の縁から前記第一凹部の前記幅方向の中央部に向けて、前記幅方向の単位長さに対して深くなる割合は、前記間部の前記第二凹部側の縁から前記第二凹部の前記幅方向の中央部に向けて、前記幅方向の単位長さに対して深くなる割合よりも大きい又は小さい、請求項1乃至3のいずれか1項に記載の巾木。
発明の詳細な説明
【技術分野】
【0001】
本発明は、壁面と床面との境目に設けられる巾木に関する。
続きを表示(約 1,500 文字)
【背景技術】
【0002】
従来、壁面と床面との境目に設けられる巾木として、特許文献1に記載のような巾木が知られている。巾木は、壁の下端部に沿って延びる巾木本体と、不陸対応部と、を備える。巾木本体は、壁に当接する裏面と、裏面と反対側の面である表面と、を備え、表面には、裏側にくぼむ凹部が壁の下端部に沿って延びるように形成されている。また、不陸対応部は、巾木本体の下端部かつ裏側の端部から下側に延びるように、巾木本体に対して固着されている。
【0003】
以上のような巾木は、不陸対応部が巾木本体の下端部かつ裏側の端部から下側に延びるので、見栄えがよく高級感があるとされている。
【先行技術文献】
【特許文献】
【0004】
特開2006-125008号公報
【発明の概要】
【発明が解決しようとする課題】
【0005】
特許文献1に記載の巾木は、巾木本体がシンプルで一般的なデザインであるものの、現在は消費者ニーズが多様化しており、よりデザイン性のある巾木も求められている。
【0006】
そこで、本発明は、デザイン性の高い帯状本体を有する巾木を提供することを目的とする。
【課題を解決するための手段】
【0007】
本発明の巾木は、床面に対して立設される壁面の下端部に配置される巾木であって、帯状の帯状本体を備え、前記帯状本体は、前記帯状の厚み方向で表側に位置する表面部と、前記厚み方向で裏側に位置し、前記壁面に対して取り付けられる取付部と、を備え、前記表面部は、前記帯状の長手方向に延び、裏側に向かって凹となる第一凹部と、前記長手方向に延び、裏側に向かって凹となる第二凹部と、を備え、前記第一凹部は、前記帯状の幅方向で前記帯状本体の中央部よりも一端側に位置し、前記第二凹部は、前記幅方向で前記第一凹部よりも他端側に位置するとともに、前記幅方向で前記帯状本体の前記幅方向の長さの半分以上に亘って位置するように構成される。
【0008】
かかる構成によれば、表面部の中央よりも一端側に第一凹部が位置し、第一凹部の他端側に幅方向長さが帯状本体の半分以上である第二凹部が位置するので、帯状本体の表面部の幅方向一端側と他端側に長さの異なる2つの凹部が形成される。そのため、該2つの凹部によって帯状本体の表側に光が当たった場合に、凹部によって影ができて、明るい部分と暗い部分とが形成される。よって、壁面の下端部に配置した状態で形成される明暗により様々な印象を与えることができる巾木が得られる。そのため、巾木に対して当たる光を用いて明暗が形成される、今までにないデザインを有するデザイン性の高い巾木を提供できる。
【0009】
また、前記帯状本体は、前記第一凹部が上側に位置し、前記第二凹部が前記第一凹部に対して下側に位置する、又は、前記第一凹部が下側に位置し、前記第二凹部が前記第一凹部に対して上側に位置するように構成することもできる。
【0010】
かかる構成によれば、幅方向長さが短い第一凹部が上側に、幅方向長さが長い第二凹部が下側に位置するので、帯状本体の上側に短い間隔、下側に長い間隔で明るい部分と暗い部分が形成されるため、巾木を設置した状態での帯状本体の表面のデザイン性が高まる。また、幅方向長さが短い第一凹部が下側に、幅方向長さが長い第二凹部が上側に位置するので、帯状本体の下側に短い間隔、上側に長い間隔で明るい部分と暗い部分が形成される。よって、形成される明暗により様々な印象を与えることができるため、デザイン性が高まる。
(【0011】以降は省略されています)
この特許をJ-PlatPat(特許庁公式サイト)で参照する
関連特許
他の特許を見る