TOP
|
特許
|
意匠
|
商標
特許ウォッチ
Twitter
他の特許を見る
10個以上の画像は省略されています。
公開番号
2025177262
公報種別
公開特許公報(A)
公開日
2025-12-05
出願番号
2024083914
出願日
2024-05-23
発明の名称
仮設構造体組立て用連結金具
出願人
株式会社国元商会
代理人
個人
,
個人
主分類
E04G
7/08 20060101AFI20251128BHJP(建築物)
要約
【課題】本発明は、橋梁などの高架建造物の建設や点検保守作業の現場に仮設される吊り足場や防護体などの仮設構造体の組立てに活用できる連結金具を提供する。
【解決手段】本発明に係る連結金具は、2つのパイプクランプ2A,2Bが、ベース部材3に底辺部4aが取り付けられた受け部材4と、この受け部材4の立上り部4bの先端に支軸5aによって開閉自在に軸支された押え部材5と、この押え部材5の先端二股部5bに係脱自在な締結用ボルト6を備えた同一構造のものであって、両パイプクランプの押え部材5が受け部材4上に被さった状態にあるとき、両パイプクランプの押え部材5が互いに平行に並列すると共に、一方のパイプクランプ2Aの押え部材5の先端二股部5bと他方のパイプクランプ2Bの押え部材5の支軸5aによる軸支部とが横方向に隣り合う状態に、ベース部材3上に両パイプクランプ2A,2Bが取り付けられた点に特徴がある。
【選択図】図1
特許請求の範囲
【請求項1】
ベース部材と当該ベース部材上に取り付けられた2つのパイプクランプから成り、2つのパイプクランプは、ベース部材上に取り付けられる底辺部と当該底辺部の一端から立ち上がる立上り部を備えた側面視L型の受け部材と、この受け部材の前記立上り部の先端に開閉自在に軸支された押え部材と、前記受け部材の底辺部の遊端に揺動自在に軸支された締結用ボルトから成り、この締結用ボルトには、当該締結用ボルトを押え部材の先端二股部に嵌合させた状態で当該押え部材を受け部材側に押圧するナットが螺嵌されている連結金具において、
前記2つのパイプクランプは、夫々の受け部材上に押え部材が被さった状態にあるとき、両パイプクランプの押え部材が互いに平行に並列すると共に一方のパイプクランプの押え部材の先端二股部と他方のパイプクランプの押え部材の軸支部とが横方向に隣り合う状態に、前記ベース部材上に夫々の受け部材の底辺部が固定されている、仮設構造体組立て用連結金具。
続きを表示(約 620 文字)
【請求項2】
前記ベース部材は、前記2つのパイプクランプの受け部材を結ぶ斜め方向に長さ方向が沿った天板部と、この天板部の長さ方向と平行な両側辺から裏側に折曲連設された一対の側板部とから成り、前記天板部は、その長さ方向の両端部に、前記一対の側板部間から長さ延長方向に張り出す両端張出し部が設けられ、前記一対の側板部間に位置する前記天板部の長さ方向両端部の上と前記両端張出し部の上とにまたがる領域に各パイプクランプの前記受け部材の底辺部が取り付けられている、請求項1に記載の仮設構造体組立て用連結金具。
【請求項3】
2つのパイプクランプの前記受け部材の底辺部は、この受け部材の内側から当該受け部材の底辺部と前記ベース部材を貫通する受け部材取付けボルトと、前記ベース部材の裏側から前記受け部材取付けボルトの先端部に螺合締結されたナットにより、前記ベース部材に取り付けられ、前記受け部材の底辺部には、当該底辺部の底面から外側へ突出する突起部が設けられ、前記ベース部材には、前記突起部が嵌合する受け部材回り止め用開口部が設けられている、請求項1又は2に記載の仮設構造体組立て用連結金具。
【請求項4】
前記ベース部材の両端張出し部には、この両端張出し部の上に支持されているパイプクランプの前記受け部材の底辺部の側辺に沿って隣接する立上り板部が形成されている、請求項2に記載の仮設構造体組立て用連結金具。
発明の詳細な説明
【技術分野】
【0001】
本発明は、橋梁などの高架建造物の建設や点検保守作業現場に仮設される吊り足場や防護体などの仮設構造体の組立てに使用される連結金具に関するものである。
続きを表示(約 4,300 文字)
【背景技術】
【0002】
橋梁や高架道路などの高架建造物の建設や点検保守作業現場において、高架建造物の下側に仮設される吊り足場や防護体などの仮設構造体は、水平向きの歩行用パネルや、作業空間からの落下物を受け止めるネットなどを張設した水平向きの防護板、或いは作業空間の側面を形成するネットや板材などを張設した上下向きの防護板などを連結して組み立てられる。前記歩行用パネルや各種防護板などの板状体は、他の板状体との連結箇所に丸パイプ材(以下、鋼管と略称する)が配設され、板状体どうしの連結には、両板状体の前記鋼管どうしを連結する連結金具が使用されている。この連結金具は、特許文献1にも開示されているように2つのパイプクランプが連結一体化されたものである。具体的には前記パイプクランプは、L型の受け部材と、この受け部材の立上り部の先端に軸支された開閉自在な押え部材、及び前記受け部材の底辺部の遊端に軸支された締結用ボルトから構成され、鋼管を受け部材と押え部材との間に挟んだ状態で、締結用ボルトを押え部材の先端二股部に嵌合させると共に当該締結用ボルトに螺嵌させたナットを締め込んで、押え部材の先端二股部を受け部材側に押圧し、受け部材と押え部材との間で鋼管を締結するものである。
【先行技術文献】
【特許文献】
【0003】
特開2021-46665号公報
【発明の概要】
【発明が解決しようとする課題】
【0004】
特許文献1の図12に記載された連結金具は、夫々の受け部材の立上り部が背中合わせに隣接するように2つのパイプクランプを並列させた状態で、両パイプクランプの受け部材の底辺部を1つのベース部材に取り付けて連結一体化したものである。このように構成された従来の連結金具では、締結される鋼管の長さ方向と平行な方向から見た側面視において、両パイプクランプの締結用ボルトがハの字形に開いた状態になる。このような従来の連結金具は、特許文献1の図12に記載されるように、連結される2つの板状体が例えば水平の一平面上にある場合には、両パイプクランプを、夫々の締結用ボルトが上向きとなる向きで使用することにより、両板状体の上側作業空間から両パイプクランプの押え部材や締結用ボルトの操作及び締結用ボルトの上端側に螺嵌しているナットの操作は問題なく行える。しかしながら本願の図9に示すように、下側の水平向き板状体(歩行用パネルなど)14の側辺から側面防護用の上下向き板状体15が立ち上がるように配置される場合、両パイプクランプが締結する2本の鋼管(図9では14c,15c)が上下方向に並列することになり、これら2枚の板状体14,15で挟まれた作業空間側に2本の締結用ボルトの先端が向くようの連結金具を使用したとしても、下側の水平向き板状体(歩行用パネルなど)14側のパイプクランプの締結用ボルトは、当該水平向き板状体14が備える連結用鋼管14cの下側に位置するので、この水平向き板状体14の上側の作業空間から締結用ボルトやその先端側に螺嵌したナットに対する作業は非常に行い難い状況になる。又、特許文献1の図13に記載された従来の連結金具は、2つのパイプクランプの受け部材の底辺部どうしを直接ボルトで連結一体化したものであるが、この従来型連結金具では、本願の図10に示すように、下側の水平向き板状体14が備える連結用鋼管14cを挟持締結する下側のパイプクランプの締結用ボルトが殆ど上下方向向きとなり、その下端側にナットが位置することになるので、当該下側のパイプクランプの鋼管締結作業がより一層困難になる。尚、図9及び図10に示す構成は、本発明一実施例の後に再度説明する。
【課題を解決するための手段】
【0005】
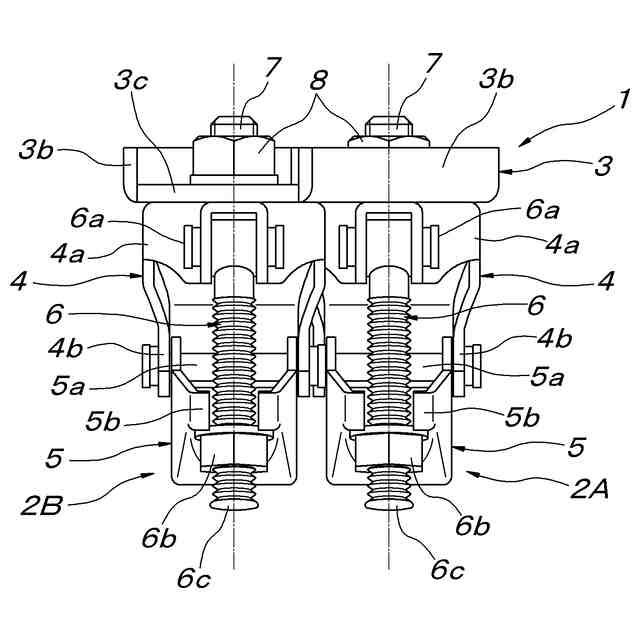
本発明は、上記のような従来の問題点を解消することのできる連結金具を提案するものであって、本発明に係る連結金具は、後述する実施例との関係を理解し易くするために、当該実施例の説明において使用した参照符号を括弧付きで付して示すと、ベース部材(3)と当該ベース部材(3)上に取り付けられた2つのパイプクランプ(2A,2B)から成り、2つのパイプクランプ(2A,2B)は、ベース部材(3)上に取り付けられる底辺部(4a)と当該底辺部(4a)の一端から立ち上がる立上り部(4b)を備えた側面視L型の受け部材(4)と、この受け部材(4)の前記立上り部(4b)の先端に開閉自在に軸支された押え部材(5)と、前記受け部材(4)の底辺部(4a)の遊端に揺動自在に軸支された締結用ボルト(6)から成り、この締結用ボルト(6)には、当該締結用ボルト(6)を押え部材(5)の先端二股部(5b)に嵌合させた状態で当該押え部材(5)を受け部材(4)側に押圧するナット(7)が螺嵌されている連結金具(1)において、前記2つのパイプクランプ(2A,2B)は、夫々の受け部材(4)上に押え部材(5)が被さった状態にあるとき、両パイプクランプ(2A,2B)の押え部材(5)が互いに平行に並列すると共に一方のパイプクランプ(2A)の押え部材(5)の先端二股部(5b)と他方のパイプクランプ(2B)の押え部材(5)の軸支部(支軸(5a))とが横方向に隣り合う状態に、前記ベース部材(3)上に夫々の受け部材(4)の底辺部(4a)が固定された構成になっている。
【発明の効果】
【0006】
上記本発明の構成によれば、本願の図8に示すように、水平に仮設される第一の板状体(例えば歩行用パネル)の側辺から第二の板状体(例えば防護板)が立ち上がるように連結される場合、両板状体の互いに隣接する側辺にある連結用鋼管が水平方向ではなく殆ど上下方向に並列することになるが、このような使用場所に上記構成の本発明連結金具を使用する場合、下側になるパイプクランプの締結用ボルトを上下2本の鋼管の間に差し込むように、両パイプクランプの受け部材を上下2本の鋼管に外側から当て付け、両パイプクランプの押え部材を上側に回動させて各鋼管の内側に被せ、最後に両パイプクランプの締結用ボルトを上下2本の鋼管に被さっている受け部材の先端二股部に嵌合させる。この後、各締結用ボルトの先端側に退避させていたナットを締め込んで、当該ナットにより各押さえ部材の先端二股部を受け部材側に押圧させて、当該押え部材と受け部材との間で鋼管を締結固定させる。以上の操作によって、第一の板状体に固着されている下側の鋼管は下側のパイプクランプに固定され、第二の板状体に固着されている上側の鋼管は上側のパイプクランプに固定され、両パイプクランプは共通のベース部材に固定されているので、第一の板状体の側辺から第二の板状体が所定の角度で立ち上がった状態で両板状体が連結固定された状態になる。
【0007】
以上のように本発明連結金具は使用されるが、図8に示すように使用時における2つのパイプクランプの夫々が備える押え部材が、上下方向に並列する2本の鋼管の夫々前側に位置すると共に、使用時における2つのパイプクランプの夫々が備える締結用ボルトが、上下方向に並列する2本の鋼管の夫々上側で外側から内側に向かって配置されることになるので、両パイプクランプの押え部材及び締結用ボルトの操作は勿論のこと、各締結用ボルトに螺嵌されたナットの締付け操作及び解体時の弛緩操作を、第一第二両板状体で囲まれた内側の作業空間内より簡単且つ容易に行うことができ、仮設構造体組立て作業の効率を十分に高めることができる。
【0008】
上記本発明を実施する場合、具体的には、前記ベース部材(3)は、前記2つのパイプクランプ(2A,2B)の受け部材(4)を結ぶ斜め方向に長さ方向が沿った天板部(3a)と、この天板部(3a)の長さ方向と平行な両側辺から裏側に折曲連設された一対の側板部(3b)とから構成し、前記天板部(3a)には、その長さ方向の両端部に、前記一対の側板部(3b)間から長さ延長方向に張り出す両端張出し部(3c)を設け、前記一対の側板部(3b)間に位置する前記天板部(3a)の長さ方向両端部の上部と前記両端張出し部(3c)の上部とにまたがる領域に各パイプクランプ(2A,2B)の前記受け部材の底辺部を取り付けることができる。この構成によれば、2つのパイプクランプの押え部材長さ方向と平行な両側辺を備えた大きな長方形状のベース部材を使用することなく、必要最小限の横巾のベース部材を斜めに使用して2つのパイプクランプを安定的に支持させることができるので、コストダウンを図ることができる。
【0009】
又、2つのパイプクランプ(2A,2B)の前記受け部材(4)は、この受け部材(4)の内側から当該受け部材(4)の底辺部(4a)と前記ベース部材(3)を貫通する受け部材取付けボルト(7)と、前記ベース部材(3)の裏側から前記受け部材取付けボルト(7)の先端部に螺合締結されたナット(8)により、前記ベース部材(3)に取り付けることができる。この場合、前記受け部材(4)の底辺部(4a)にベース部材(3)側に突出する突起部(10)を設け、前記ベース部材(3)には、前記受け部材取付けボルト(7)とナット(8)により受け部材(4)を所定の向きで取り付けたときに前記突起部(10)が嵌合する受け部材回り止め用開口部(11)を設けておくことができる。この構成によれば、各パイプクランプの受け部材を1本のボルトナットを使用して取り付けるにも拘らず、当該ボルトナットの不測の弛みに伴ってパイプクランプ(受け部材)が当該ボルトナットを中心に回転し、パイプクランプの向きが変動するような不都合を回避できる。
【0010】
勿論、上記のような受け部材の不測の回転防止策としては、上記段落0008に記載の構成を採用する場合、前記ベース部材(3)の両端張出し部(3c)には、この両端張出し部(3c)の上に支持されるパイプクランプ(2A,2B)の前記受け部材(4)の底辺部(4a)の側辺に沿って隣接する立上り板部(17a,17b)を形成しておくことができる。この構成によれば、前記立上り板部によってパイプクランプ(受け部材)の不測の回転を確実に防止することができ、しかもパイプクランプとベース部材の両方に加工が必要な構成と比較して安価に実施することができる。
【図面の簡単な説明】
(【0011】以降は省略されています)
この特許をJ-PlatPat(特許庁公式サイト)で参照する
関連特許
株式会社国元商会
仮設構造体組立て用連結金具
7日前
個人
接合構造
2か月前
個人
屋台
2か月前
個人
タッチミー
2か月前
個人
野良猫ハウス
3か月前
個人
安心補助てすり
1か月前
個人
転落防止用手摺
3か月前
積水樹脂株式会社
柵体
3か月前
個人
ベンリナアングル
2か月前
個人
居住車両用駐車場
3か月前
個人
筋交自動設定装置
2か月前
個人
免震建築構造
7日前
個人
熱抵抗多層断熱建材
3か月前
個人
補強部材
3か月前
個人
防災建築物
1か月前
個人
身体用シェルター
2か月前
株式会社シンケン
住宅
1か月前
個人
身体用シェルター
2か月前
株式会社フジタ
合成床
7日前
個人
住宅の省エネ方法
3日前
成友建設株式会社
建物
3か月前
イワブチ株式会社
組立柱
3か月前
株式会社熊谷組
木質材料
2か月前
株式会社熊谷組
吊り治具
2か月前
個人
可搬型供養墓
2か月前
株式会社熊谷組
床構成材
2か月前
三協立山株式会社
構造体
1か月前
三協立山株式会社
構造体
2か月前
三洋工業株式会社
床構造
1か月前
三協立山株式会社
構造体
2か月前
三協立山株式会社
構造体
2か月前
三協立山株式会社
構造体
1か月前
株式会社大林組
接合構造
1か月前
三協立山株式会社
構造体
2か月前
三協立山株式会社
構造体
2か月前
三協立山株式会社
構造体
2か月前
続きを見る
他の特許を見る