TOP
|
特許
|
意匠
|
商標
特許ウォッチ
Twitter
他の特許を見る
公開番号
2025176348
公報種別
公開特許公報(A)
公開日
2025-12-04
出願番号
2024082428
出願日
2024-05-21
発明の名称
屋根改修構造
出願人
元旦ビューティ工業株式会社
代理人
個人
,
個人
,
個人
主分類
E04D
3/00 20060101AFI20251127BHJP(建築物)
要約
【課題】スレート屋根等の既存屋根の上方に、改修用金具(締着ボルトを備える金具)を用いて敷設してなり、支持部材の中心を既存屋根の山芯に揃えることもでき、水密性や強度、意匠性を確保できる屋根改修構造を提供する。
【解決手段】本発明の屋根改修構造は、既存屋根4の上方に、断熱材5Aが配設されて断熱層5を形成すると共に、該断熱層5上に上面部11を備える支持部材1が、前記既存屋根4の固定ボルト4Bと、締着ボルト2Aを備える改修用金具2にて取り付けられ、支持部材1の上面部11に重ね張り材3が敷設され、支持部材1の上面部11が、水平状に配設されていることを特徴とする。
【選択図】図1
特許請求の範囲
【請求項1】
既存屋根の上方に、断熱材が配設されて断熱層を形成すると共に、該断熱層上に上面部を備える支持部材が、前記既存屋根の固定ボルトと、締着ボルトを備える改修用金具にて取り付けられ、前記支持部材の上面部に重ね張り材が敷設される屋根改修構造であって、
前記支持部材の前記上面部が、水平状に配設されていることを特徴とする屋根改修構造。
続きを表示(約 120 文字)
【請求項2】
前記改修用金具は、前記断熱層を貫通していることを特徴とする請求項1に記載の屋根改修構造。
【請求項3】
前記支持部材は、ツメ又はガイドを備えていることを特徴とする請求項1又は2に記載の屋根改修構造。
発明の詳細な説明
【技術分野】
【0001】
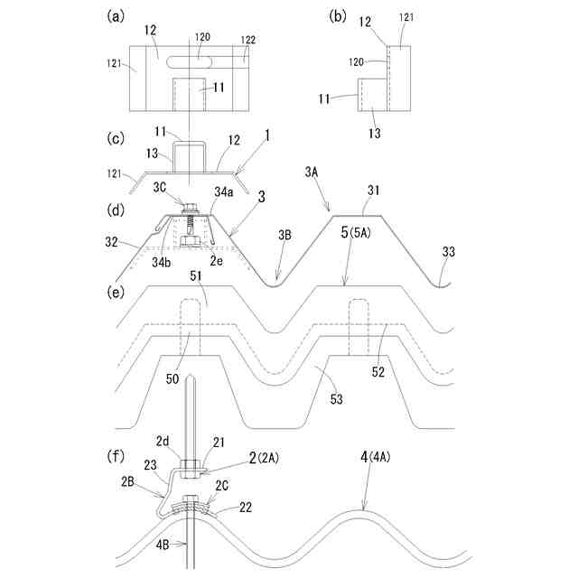
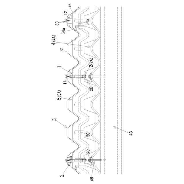
本発明は、スレート屋根等の既存屋根の上方に、改修用金具(締着ボルトを備える金具)を用いて敷設してなり、支持部材の中心を既存屋根の山芯に揃えることもでき、水密性や強度、意匠性を確保できる屋根改修構造に関する。
続きを表示(約 1,700 文字)
【背景技術】
【0002】
波板状のスレートの変形や破損を防止する構造としては、特許文献1に提案されている重ね張り構造が知られている。
この構造は、既設スレート1を留めている既設ボルト2に被嵌し、圧着により該既設ボルト2に固定される円筒状のスリーブ3と、その上部に固定された連結用ボルト4と、スリーブ3の上に設けられて上部が重ね張り用波板5の山部5aの裏面の円弧に沿う断面円弧状の支持部材7と、を備えている。
【先行技術文献】
【特許文献】
【0003】
特開2010-018996号公報
【発明の概要】
【発明が解決しようとする課題】
【0004】
しかしながら、前記特許文献1の施工法では、既設ボルト2に直接スリーブ3と連結用ボルト4を取り付けるため、既設ボルト2の位置が既設スレート1の山芯からズレている又は転んでいる場合、連結用ボルト4にもズレ又は転びが生じ、重ね張り用波板5の山芯に連結用ボルト4が来ず(=ズレて位置する)、圧着させた際に通常よりも低い位置に孔が開く可能性があった。
また、押さえ金具43の形状と重ね張り用波板5の形状が合わなくなり、止水用パッキン42が効きにくく、重ね張り用波板5の水密性の低下に繋がっていた。また、連結用ボルト4が山芯からズレることで、固定位置のばらつきが生じ、強度や意匠性を損ねたり、重ね張り用波板5へ挿通孔を穿設した位置に施工できない可能性があった。
【0005】
そこで、本発明は、スレート屋根等の既存屋根の上方に、改修用金具(締着ボルトを備える金具)を用いて敷設してなり、支持部材の中心を既存屋根の山芯に揃えることもでき、水密性や強度、意匠性を確保できる屋根改修構造を提案することを目的とする。
【課題を解決するための手段】
【0006】
本発明は、上記に鑑み提案されたもので、既存屋根の上方に、断熱材が配設されて断熱層を形成すると共に、該断熱層上に上面部を備える支持部材が、前記既存屋根の固定ボルト材と、締着ボルトを備える改修用金具にて取り付けられ、前記支持部材の上面部に重ね張り材が敷設される屋根改修構造であって、前記支持部材の前記上面部が、水平状に配設されていることを特徴とする屋根改修構造に関するものである。
【0007】
また、本発明は、前記屋根構造において、前記改修用金具は、前記断熱層を貫通していることを特徴とする屋根改修構造をも提案する。
【0008】
さらに、本発明は、前記屋根構造において、前記支持部材は、ツメ又はガイドを備えていることを特徴とする屋根改修構造をも提案する。
【発明の効果】
【0009】
本発明の屋根改修構造は、前記改修用金具を用いて取り付けられている支持部材の、断熱層上の上面部が水平状に配設されているので、波板状のスレート屋根等の固定ボルトの位置、即ち既存屋根の山芯に支持部材の中心を揃えることもでき、既存屋根の施工状況に左右されず、水密性、強度、意匠性を確保することができる。
さらに、前記支持部材は、断熱材の飛散を防止する効果があり、断熱材に接する部分は面になっているので沈み込みを抑制することができる。
なお、前記支持部材には、長孔が形成されていることが望ましいが、その場合、該長孔に前記改修用金具の締着ボルトを通すだけで、正確な位置を微調整して取り付けることができ、正確な位置調整の施工が容易である。
また、前記断熱材として剛性の備える素材を使用することが望ましいが、その場合、先に敷設することで作業中に屋根材を踏み抜き落下する危険を軽減できる。
【0010】
また、前記改修用金具が断熱層を貫通している場合には、断熱層を形成している断熱材の位置がズレることがない。即ち断熱材は、裏面側から改修用金具の締着ボルトが刺さり、表面側から支持部材で押さえられるので、その上を歩行しても位置がずれる可能性が低い。
(【0011】以降は省略されています)
この特許をJ-PlatPat(特許庁公式サイト)で参照する
関連特許
個人
接合構造
2か月前
個人
屋台
2か月前
個人
タッチミー
2か月前
個人
野良猫ハウス
3か月前
個人
転落防止用手摺
3か月前
個人
フェンス
3か月前
個人
安心補助てすり
1か月前
個人
筋交自動設定装置
2か月前
積水樹脂株式会社
柵体
3か月前
個人
居住車両用駐車場
3か月前
ニチハ株式会社
建築板
3か月前
個人
ベンリナアングル
2か月前
個人
免震建築構造
7日前
個人
熱抵抗多層断熱建材
3か月前
個人
柵
4か月前
個人
補強部材
3か月前
株式会社シンケン
住宅
1か月前
株式会社フジタ
合成床
7日前
個人
身体用シェルター
2か月前
個人
防災建築物
1か月前
個人
身体用シェルター
2か月前
成友建設株式会社
建物
3か月前
鹿島建設株式会社
壁体
3か月前
個人
住宅の省エネ方法
3日前
株式会社熊谷組
吊り治具
2か月前
株式会社熊谷組
床構成材
2か月前
三協立山株式会社
構造体
2か月前
三協立山株式会社
構造体
2か月前
三協立山株式会社
構造体
2か月前
三協立山株式会社
構造体
1か月前
三協立山株式会社
構造体
2か月前
三協立山株式会社
構造体
2か月前
三洋工業株式会社
床構造
1か月前
個人
可搬型供養墓
2か月前
三協立山株式会社
構造体
2か月前
株式会社大林組
接合構造
1か月前
続きを見る
他の特許を見る