TOP
|
特許
|
意匠
|
商標
特許ウォッチ
Twitter
他の特許を見る
10個以上の画像は省略されています。
公開番号
2025178005
公報種別
公開特許公報(A)
公開日
2025-12-05
出願番号
2024085229
出願日
2024-05-25
発明の名称
構造体および構造体の構築方法
出願人
個人
代理人
個人
主分類
E04B
2/02 20060101AFI20251128BHJP(建築物)
要約
【課題】一般的な構築用ブロックを使用しても、水糸張り、目地形成などの手間がかからず、熟練も要さず、さらに、重くて嵩張る鉄筋やモルタルなどの補強具を不要とし、これにより、施工部品数や施工時の工数を減少させる。
【解決手段】複数の構築用のブロック10と該ブロックを結束するための結束具20を備える構造体100であって、一のブロックは、他のブロックと連結する面を貫通し、他のブロックの貫通孔と一致する位置に配置される貫通孔11を少なくとも1つ有し、結束具は、一のブロックの貫通孔および連結される他のブロックの貫通孔に挿通されてリング状をなし、複数のブロックを結束する構造体を提供する。
【選択図】図5
特許請求の範囲
【請求項1】
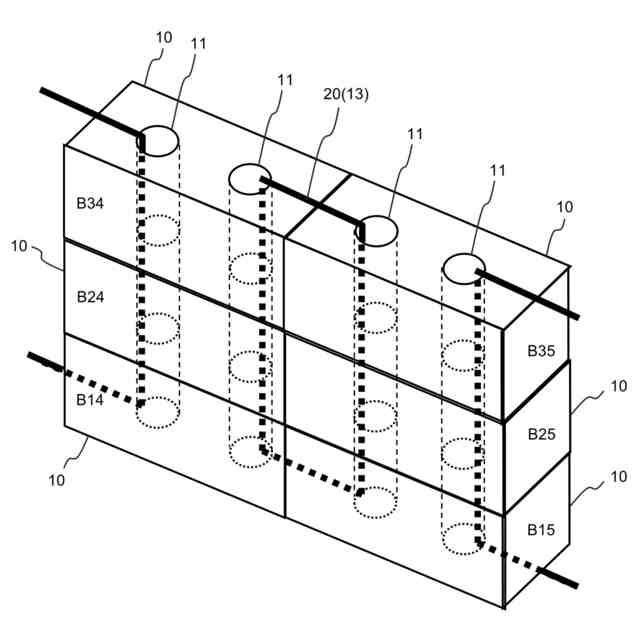
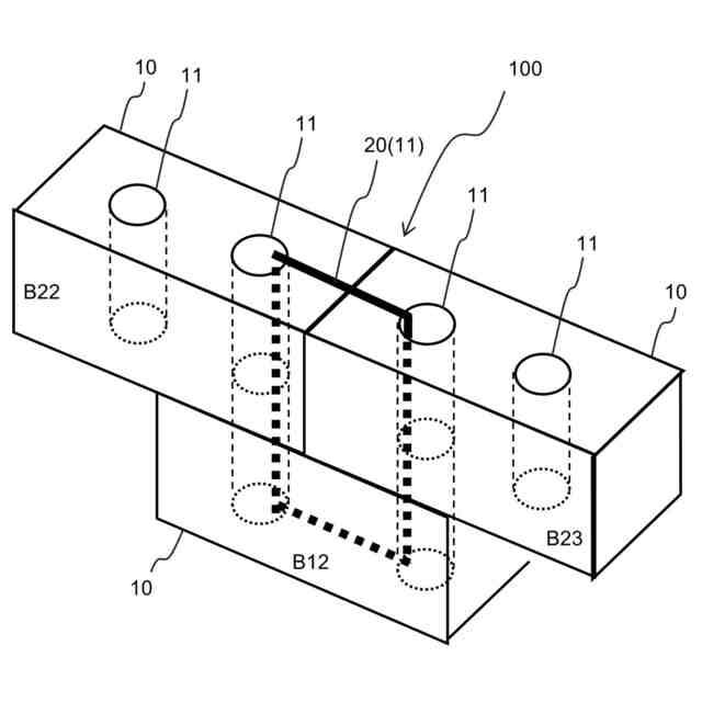
複数の構築用のブロックと該ブロックを結束するための結束具を備える構造体であって、
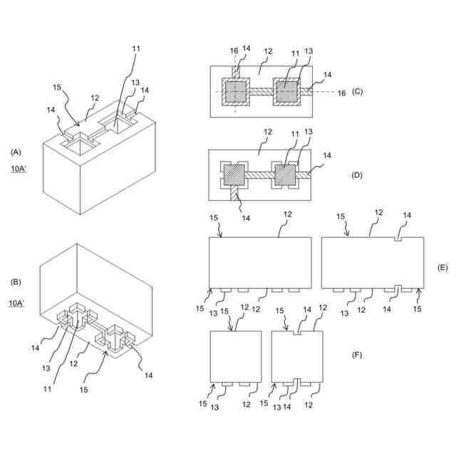
一のブロックは、他のブロックと連結する面を貫通し、他のブロックの貫通孔と一致する位置に配置される貫通孔を少なくとも1つ有し、
結束具は、一のブロックの貫通孔および連結される他のブロックの貫通孔に挿通されてリング状をなし、複数のブロックを結束する、
構造体。
続きを表示(約 1,000 文字)
【請求項2】
一のブロックにおける他のブロックと接触する面は、他のブロックにおける一のブロックと接触する面と適合するように構成されることを特徴とする請求項1に記載の構造体。
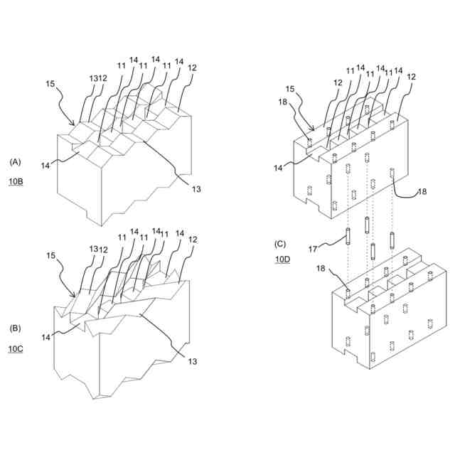
【請求項3】
一のブロックにおける他のブロックと連結する面および/または他のブロックにおける一のブロックと連結する面は、結束具を配設するための溝部を有することを特徴とする請求項1に記載の構造体。
【請求項4】
構造体の角部を形成するブロックは、連結する面において溝部の延長線同士が直交していることを特徴とする請求項3に記載の構造体。
【請求項5】
ブロックを載置する基礎に結合された基礎結合部をさらに備え、
基礎結合部の一部は、結束具のリング内に含まれ、ブロックと共に結束具により結束されていることを特徴とする請求項1に記載の構造体。
【請求項6】
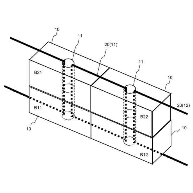
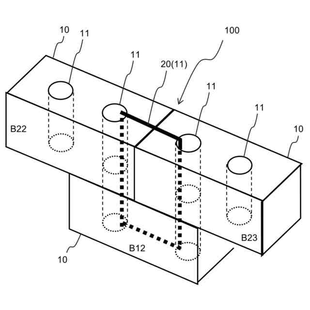
ブロックは、ブロックの積層方向となるブロックの上下面を貫通する貫通孔を少なくとも2つ有し、
一の結束具は、第1のブロックの2つの貫通孔、第1のブロックの上に連結される他の第2のブロックの1つの貫通孔、および、第1のブロックの上に連結される他の第3のブロックの1つの貫通孔に挿通されてリング状をなし、第1のブロック、第2のブロック、および第3のブロックを結束し、
構造体の端部以外の一のブロックは、3つの結束具により結束されていることを特徴とする請求項1乃至5のいずれかに記載の構造体。
【請求項7】
貫通孔を有する複数の構築用のブロックと該ブロックを結束するための結束具を備える構造体を構築する構築方法であって、
基礎結合部を備える基礎を形成する第1工程と、
最下段のブロックを基礎の上に載置する第2工程と、
最下段の一または複数のブロックの一部と基礎結合部の一部を結束具のリング内に含むように結束具を貫通孔に挿通し、最下段のブロックと基礎結合部を結束する第3工程と、
次段のブロックを最下段のブロックの上に載置する第4工程と、
最下段の一または複数のブロックの一部と次段の一または複数のブロックの一部を結束具のリング内に含むように結束具を貫通孔に挿通し、次段のブロックと最下段のブロックを結束する第5工程と、
第4工程と第5工程を最上段のブロックまで繰り返す第6工程と、
を有する構築方法。
発明の詳細な説明
【技術分野】
【0001】
本発明は、構築用ブロックを含む構造体およびその構造体の構築方法に関する。
続きを表示(約 2,300 文字)
【背景技術】
【0002】
従来、建築用や土木用などの構築用ブロックを用いて、塀などの平面的の構造体や倉庫などの立体的な構造体を有する構造物を構築する場合、地面に形成したコンクリート基礎に縦鉄筋を立設し、その縦鉄筋を構築用ブロックの縦孔に配筋して、縦鉄筋が構造体の縦方向を連通するよう構築する。また、コンクリート基礎の上に構築用ブロックを積み上げる場合、各段の積み上げ作業ごとに平行をとるために水糸を引き、縦横の目地を揃えながらモルタルを敷設して構築用ブロック間の目地を形成するとともに縦鉄筋が配筋された縦孔にモルタルを流し込んで、横方向と縦方向に構築用ブロックを連続させて構造体を形成していく。
【0003】
しかし、このような従来のやり方では、一段施工する毎に水糸張り、目地を形成する必要があるため手間がかかり、これらの作業には熟練を要し、さらには縦鉄筋やモルタルなどの補強具が必要であり、施工部品数及び施工時の工数の増大を招いていた。かかる問題を解決するために、たとえば、特許文献1は、未熟練者でも容易、かつ迅速に施工でき、低コストでしかも強度を著しく増大させられ、しかも見栄え良く仕上げることの出来るコンクリート構築ブロックとその基礎ブロックを開示する。この構築ブロックは、嵌め合わせにより、上下左右方向に組立可能なブロック本体であって、該ブロック本体は前壁、後壁、両側壁、底壁とで凹部を形成し、該底壁から下方に突出する長さの等しい二つ以上の脚部を有し、該両端脚部の外端面の間隔が両側壁の内側面の間隔に等しく、かつ、隣合う脚部の内端面の間隔が、両側壁の厚みの総和に等しいことを特徴とするコンクリート構築ブロックと、これに対応する嵌め合わせにより上下左右方向に組立可能な基礎ブロック本体であって、該基礎ブロック本体は前壁、後壁、両側壁、底壁とで凹部を形成し、底部に自由方向に突出させた底版部を一体形成したことを特徴とするコンクリート基礎ブロックである。
【先行技術文献】
【特許文献】
【0004】
特開平11-50705号公報
【発明の概要】
【発明が解決しようとする課題】
【0005】
しかし、上記の従来技術では、構築用のブロック自体に大幅な設計変更を要し、専用の形状となるため、逆にコストが割高となる。また、ブロックの嵌め合わせだけでは、地震の特に縦揺れの際にブロックが抜け落ちたりブロック同士が衝突し破壊されたりする恐れがある。
そこで、本発明は、かかる事情に鑑みて考案されたものであり、一般的な構築用ブロックを使用しても、水糸張り、目地形成などの手間がかからず、熟練も要さず、さらに、重くて嵩張る鉄筋やモルタルなどの補強具を不要とし、これにより、施工部品数や施工時の工数を減少させると共に、構造体の一体性が増し、耐震性が強くなる構築用ブロックを含む構造体およびその構造体の構築方法を提供するものである。
【課題を解決するための手段】
【0006】
上記課題を解決するために、複数の構築用のブロックと該ブロックを結束するための結束具を備える構造体であって、一のブロックは、他のブロックと連結する面を貫通し、他のブロックの貫通孔と一致する位置に配置される貫通孔を少なくとも1つ有し、結束具は、一のブロックの貫通孔および連結される他のブロックの貫通孔に挿通されてリング状をなし、複数のブロックを結束する、構造体が提供される。
これによれば、結束具を複数のブロックの貫通孔に挿通し、リング状を形成して、複数のブロックを一括りに結束することで、一般的な構築用ブロックを使用しても、水糸張り、目地形成などの手間がかからず、熟練も要さず、さらに、重くて嵩張る鉄筋やモルタルなどの補強具を不要とし、これにより、施工部品数や施工時の工数を減少させると共に、構造体の一体性が増し、耐震性が強くなる構築用ブロックを含む構造体を提供できる。
【0007】
さらに、一のブロックにおける他のブロックと接触する面は、他のブロックにおける一のブロックと接触する面と適合するように構成されることを特徴としてもよい。
これによれば、ブロック同士が接触する面が適合していることで、強固な連結が可能となる。
【0008】
さらに、一のブロックにおける他のブロックと連結する面および/または他のブロックにおける一のブロックと連結する面は、結束具を配設するための溝部を有することを特徴としてもよい。
これによれば、ブロック同士が連結される面の少なくとも一方に結束具を配設するための溝部を有することで、結束具の厚みにかかわらず、強固な連結が可能となる。
【0009】
さらに、構造体の角部を形成するブロックは、連結する面において溝部の延長線同士が直交していることを特徴としてもよい。
これによれば、角部を形成するブロックが連結する面において溝部の延長線同士が直交することで、角部においても強固な連結が可能となる。
【0010】
さらに、ブロックを載置する基礎に結合された基礎結合部をさらに備え、基礎結合部の一部は、結束具のリング内に含まれ、ブロックと共に結束具により結束されていることを特徴としてもよい。
これによれば、結束具が基礎に結合された基礎結合部と共にブロックを結束することで、構造体を基礎に強固に連結することができる。
(【0011】以降は省略されています)
この特許をJ-PlatPat(特許庁公式サイト)で参照する
関連特許
個人
接合構造
2か月前
個人
屋台
2か月前
個人
タッチミー
2か月前
個人
安心補助てすり
1か月前
個人
ベンリナアングル
2か月前
個人
筋交自動設定装置
2か月前
個人
免震建築構造
6日前
株式会社フジタ
合成床
6日前
株式会社シンケン
住宅
1か月前
個人
住宅の省エネ方法
2日前
個人
防災建築物
1か月前
個人
身体用シェルター
2か月前
個人
身体用シェルター
2か月前
三協立山株式会社
構造体
2か月前
三協立山株式会社
構造体
2か月前
三協立山株式会社
構造体
2か月前
三協立山株式会社
構造体
2か月前
三洋工業株式会社
床構造
1か月前
株式会社熊谷組
木質材料
2か月前
株式会社熊谷組
吊り治具
2か月前
三協立山株式会社
構造体
29日前
三協立山株式会社
構造体
2か月前
個人
可搬型供養墓
2か月前
三協立山株式会社
構造体
2か月前
株式会社大林組
接合構造
1か月前
三協立山株式会社
構造体
1か月前
三協立山株式会社
構造体
1か月前
株式会社熊谷組
床構成材
2か月前
鹿島建設株式会社
制震架構
1か月前
ミサワホーム株式会社
住戸
2か月前
株式会社エフコンサルタント
面材
2か月前
鹿島建設株式会社
解体方法
1か月前
ミサワホーム株式会社
建物
2か月前
鹿島建設株式会社
接合構造
1か月前
岡部株式会社
柱梁接合構造
21日前
株式会社エフコンサルタント
面材
2か月前
続きを見る
他の特許を見る