TOP
|
特許
|
意匠
|
商標
特許ウォッチ
Twitter
他の特許を見る
10個以上の画像は省略されています。
公開番号
2025181082
公報種別
公開特許公報(A)
公開日
2025-12-11
出願番号
2024088843
出願日
2024-05-31
発明の名称
建物
出願人
大和ハウス工業株式会社
代理人
個人
,
個人
主分類
E04B
5/02 20060101AFI20251204BHJP(建築物)
要約
【課題】パネル体を構成する延出部材の、接合部材周囲の強度を確保することが可能な建物を提供する。
【解決手段】建物10は、延出部材21の上に板体22が載置されることで構成されたパネル体20と、パネル体20が載せられた状態でパネル体20を支持する支持鋼材30と、支持鋼材30及び延出部材21の下端部23のそれぞれに接合される接合部材40と、延出部材21の上端部25及び下端部23の間に配置され、接合部材40とともに延出部材21の下端部23を挟み込んだ状態で延出部材21の下端部23に固定される補強部材50と、を有する。
【選択図】図2
特許請求の範囲
【請求項1】
延出部材の上に板体が載置されることで構成されたパネル体と、
前記パネル体が載せられた状態で前記パネル体を支持する支持鋼材と、
前記支持鋼材及び前記延出部材の下端部のそれぞれに接合される接合部材と、
前記延出部材の上端部及び下端部の間に配置され、前記接合部材とともに前記延出部材の下端部を挟み込んだ状態で前記延出部材の下端部に固定される補強部材と、を有する、建物。
続きを表示(約 840 文字)
【請求項2】
前記延出部材が中空体である場合、前記補強部材が前記延出部材の内部に配置されている、請求項1に記載の建物。
【請求項3】
前記補強部材は、前記接合部材を前記延出部材の下端部に固定するためのボルトと共通のボルトにより、前記延出部材の下端部に固定されている、請求項1に記載の建物。
【請求項4】
前記共通のボルトに嵌合するナットが、前記補強部材に接合されている、請求項3に記載の建物。
【請求項5】
前記補強部材は、板材を折り曲げることで構成されており、
前記延出部材の下端部に固定される第1部分と、
前記第1部分から立ち上がった第2部分と、
前記第2部分と交差し、前記延出部材の前記上端部に沿って当該上端部に当接している第3部分と、を有する、請求項1に記載の建物。
【請求項6】
前記補強部材は、板材を折り曲げることで構成されており、
前記延出部材の下端部に固定される第1部分を有し、
前記第1部分は、前記延出部材の下端部のうち、前記支持鋼材の上側フランジ部の上に載った部分に固定されている、請求項1に記載の建物。
【請求項7】
前記第1部分の前記支持鋼材側の一端部は、前記上側フランジ部と上下方向に重なる位置まで延びている、請求項6に記載の建物。
【請求項8】
前記補強部材は、前記延出部材に設けられた被係合部に係合している係合部を有する、請求項1に記載の建物。
【請求項9】
前記係合部は、前記延出部材の側壁に設けられた凹部又は凸部からなる前記被係合部に係合している、請求項8に記載の建物。
【請求項10】
前記係合部は、前記延出部材の側壁に設けられた差し込み穴からなる前記被係合部に差し込まれることで、前記被係合部に係合している、請求項8に記載の建物。
(【請求項11】以降は省略されています)
発明の詳細な説明
【技術分野】
【0001】
本発明は、建物に係り、特に、パネル体と、そのパネル体を支持する支持鋼材とを接合する接合部材を有する建物に関する。
続きを表示(約 1,200 文字)
【背景技術】
【0002】
パネル体と、そのパネル体を支持する支持鋼材とを接合する接合部材を有する建物が知られている(例えば、特許文献1参照)。
特許文献1には、床パネルと、床パネルを支持する梁とを接合する接合金物を有する建築物が開示されている。接合金物は、梁の上側のフランジと、床パネルの下面とを接合している。
【先行技術文献】
【特許文献】
【0003】
特開2011-111818号公報
【発明の概要】
【発明が解決しようとする課題】
【0004】
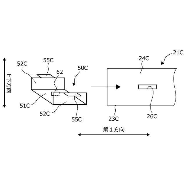
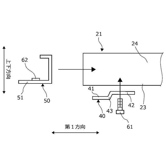
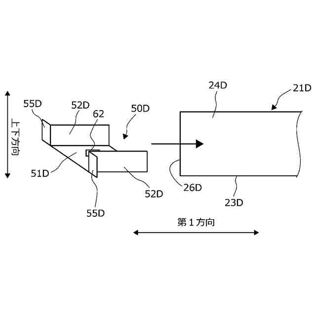
パネル体としては、延出部材の上に板体が載置されたものが知られている。このようなパネル体では、接合部材は、延出部材の下端部と、支持鋼材(梁等)とを接合することとなる。
このような構成において、パネル体に対して支持鋼材から離れる側に力が作用した場合、接合部材から延出部材に対して引張力及び圧縮力が作用し、その結果、延出部材の強度次第では、延出部材の下端部、つまり、接合部材周囲が変形する可能性がある。
【0005】
そこで、本発明は、上記の課題に鑑みてなされたものであり、その目的とするところは、パネル体を構成する延出部材の、接合部材周囲の強度を確保することが可能な建物を提供することである。
【課題を解決するための手段】
【0006】
上記の目的は、本発明の建物によれば、延出部材の上に板体が載置されることで構成されたパネル体と、パネル体が載せられた状態でパネル体を支持する支持鋼材と、支持鋼材及び延出部材の下端部のそれぞれに接合される接合部材と、延出部材の上端部及び下端部の間に配置され、接合部材とともに延出部材の下端部を挟み込んだ状態で延出部材の下端部に固定される補強部材と、を有することにより解決される。
【0007】
本発明の建物では、接合部材から延出部材の下端部に作用する力を、補強部材に伝える(分散させる)ことができる。これにより、延出部材の接合部材周囲の強度を確保することができる。
【0008】
また、本発明の建物では、延出部材が中空体である場合、補強部材が延出部材の内部に配置されてもよい。
上記の構成であれば、延出部材の内部空間を利用して補強部材を収まりよく配置することができる。
【0009】
また、補強部材は、接合部材を延出部材の下端部に固定するためのボルトと共通のボルトにより、延出部材の下端部に固定されてもよい。
上記の構成であれば、接合部材から延出部材の下端部に作用する力を、ボルトを介して補強部材に適切に伝えることができる。
【0010】
また、共通のボルトに嵌合するナットが、補強部材に接合されてもよい。
上記の構成であれば、延出部材に対する接合部材及び補強部材の取り付けを容易に行うことができる。
(【0011】以降は省略されています)
この特許をJ-PlatPat(特許庁公式サイト)で参照する
関連特許
他の特許を見る