TOP
|
特許
|
意匠
|
商標
特許ウォッチ
Twitter
他の特許を見る
10個以上の画像は省略されています。
公開番号
2025180299
公報種別
公開特許公報(A)
公開日
2025-12-11
出願番号
2024087517
出願日
2024-05-29
発明の名称
接合構造及びパネル材
出願人
旭化成建材株式会社
代理人
個人
,
個人
,
個人
,
個人
主分類
E04B
5/02 20060101AFI20251204BHJP(建築物)
要約
【課題】水平方向への力に対して強度の高い接合構造及び当該接合構造を実現するパネル材を提供する。
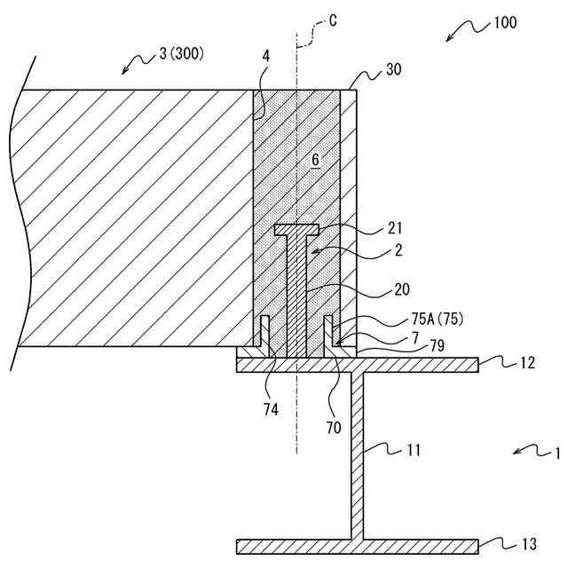
【解決手段】接合構造100は、梁1と、梁1に支持された平板状の板部材3と、板部材3の板面の端部30に配置され、板面を貫通するように形成された第一貫通孔4と、梁1に固定され、梁1から延出する延出部材2と、第一貫通孔4内に充填された充填材6と、端部30を補強する補強部材7と、を備え、延出部材2は、第一貫通孔4に挿入されており、充填材6に埋没され、補強部材7は、板部材3の板面の法線方向に沿って見た場合に、少なくとも延出部材2と端部30の端面との間に配置された、端部補強部79を有する。
【選択図】図1
特許請求の範囲
【請求項1】
梁と、
前記梁に支持された平板状の板部材と、
前記板部材の板面の端部に配置され、板面を貫通するように形成された第一貫通孔と、
前記梁に固定され、前記梁から延出する延出部材と、
前記第一貫通孔内に充填された充填材と、
前記端部を補強する補強部材と、
を備え、
前記延出部材は、
前記第一貫通孔に挿入されており、
前記充填材に埋没され、
前記補強部材は、前記板部材の板面の法線方向に沿って見た場合に、少なくとも前記延出部材と前記端部の端面との間に配置された、端部補強部を有する接合構造。
続きを表示(約 850 文字)
【請求項2】
前記端部補強部は、前記板部材の板面の法線方向に沿って見た場合、前記第一貫通孔の輪郭に沿って延在している請求項1に記載の接合構造。
【請求項3】
前記補強部材は、
補強板部と、
前記補強板部の板面を貫通するように形成された第二貫通孔と、を有し、
前記補強板部は、前記板部材の板面に沿わせて配置され、
前記第二貫通孔は、前記板部材の板面の法線方向において前記第一貫通孔と重複するように配置され、
前記延出部材は、前記第二貫通孔を貫通して配置されている請求項2に記載の接合構造。
【請求項4】
前記補強部材は、
前記梁と前記板部材との間に配置されており、
前記板部材に固定されている請求項3に記載の接合構造。
【請求項5】
前記補強板部は、前記板部材の板面の法線方向において前記梁と重複する範囲内にのみ配置されている請求項4に記載の接合構造。
【請求項6】
前記補強板部は、前記第一貫通孔から見て前記端部と反対側の領域部分が、前記板部材の板面の法線方向において前記梁と重複しない範囲に渡り、延在している請求項4に記載の接合構造。
【請求項7】
前記補強部材は、前記第一貫通孔に挿入された状態で前記第一貫通孔の内周面に沿い、且つ、前記第一貫通孔の軸方向に沿って延在する立ち上がり部を有する請求項3から6の何れか一項に記載の接合構造。
【請求項8】
前記立ち上がり部は、前記第一貫通孔の内周面に当接している請求項7に記載の接合構造。
【請求項9】
前記立ち上がり部は、前記第二貫通孔の外周部から延出する筒状である請求項7に記載の接合構造。
【請求項10】
前記端部補強部は、前記板部材の板面の法線方向における高さが9mm以上である請求項2に記載の接合構造。
(【請求項11】以降は省略されています)
発明の詳細な説明
【技術分野】
【0001】
本開示は、接合構造及びパネル材に関する。
続きを表示(約 1,600 文字)
【背景技術】
【0002】
特許文献1には、接合構造が開示されている。この接合構造は、梁と、梁に固定され、梁の上面から突出した突出部材(スタッド)と、梁に支持された状態で、上下方向に形成された貫通孔へスタッドが挿入された木質床板と、貫通孔へ充填された充填材と、を備えている。木質床板の貫通孔は円筒形状に形成されている。この貫通孔には、外径が貫通孔の内径と略一致する鋼管が挿入されている。この鋼管は、木質床板を梁に載置する前に予め貫通孔へ装着される。木質床板が梁に載せ掛けられた状態では、貫通孔及び鋼管の内側に、スタッドが配置されている。貫通孔及び鋼管の内側にはスラブコンクリートが充填されている。この接合構造によれば、スタッド及び木質床板の貫通孔へ充填されたスラブコンクリートを介して、梁と木質床板との間で水平力が伝達される。
【先行技術文献】
【特許文献】
【0003】
特開2019-31787号公報
【発明の概要】
【発明が解決しようとする課題】
【0004】
特許文献1に記載されている接合構造では、突出部材が挿入される貫通孔が木質床板のような板部材の端部(板部材の板面の外周部)に位置している場合、その接合構造に対して板部材の水平方向(例えば回転方向)に大きな力が加わった場合、その端部(貫通孔を基準として見た場合の板部材のへりあきとなる部分)が破損したり破壊されてしまったりする場合があった。そのため、水平方向への力に対して強度の高い接合構造や、当該接合構造を実現するパネル材の提供が望まれる。
【0005】
本開示は、かかる実状に鑑みて為されたものであって、その目的は、水平方向への力に対して強度の高い接合構造及び当該接合構造を実現するパネル材を提供することにある。
【課題を解決するための手段】
【0006】
上記目的を達成するための本開示に係る接合構造は、
梁と、
前記梁に支持された平板状の板部材と、
前記板部材の板面の端部に配置され、板面を貫通するように形成された第一貫通孔と、
前記梁に固定され、前記梁から延出する延出部材と、
前記第一貫通孔内に充填された充填材と、
前記端部を補強する補強部材と、
を備え、
前記延出部材は、
前記第一貫通孔に挿入されており、
前記充填材に埋没され、
前記補強部材は、前記板部材の板面の法線方向に沿って見た場合に、少なくとも前記延出部材と前記端部の端面との間に配置された、端部補強部を有する。
【0007】
本開示に係る接合構造では、
前記端部補強部は、前記板部材の板面の法線方向に沿って見た場合、前記第一貫通孔の外周に沿って延在していてもよい。
【0008】
本開示に係る接合構造では、
前記補強部材は、
補強板部と、
前記補強板部の板面を貫通するように形成された第二貫通孔と、を有し、
前記補強板部は、前記板部材の板面に沿わせて配置され、
前記第二貫通孔は、前記板部材の板面の法線方向において前記第一貫通孔と重複するように配置され、
前記延出部材は、前記第二貫通孔を貫通して配置されていてもよい。
【0009】
本開示に係る接合構造では、
前記補強部材は、
前記梁と前記板部材との間に配置されており、
前記板部材に固定されてもよい。
【0010】
本開示に係る接合構造では、
前記補強板部は、前記板部材の板面の法線方向において前記梁と重複する範囲内にのみ配置されてもよい。
(【0011】以降は省略されています)
この特許をJ-PlatPat(特許庁公式サイト)で参照する
関連特許
旭化成建材株式会社
接合構造及びパネル材
今日
旭化成建材株式会社
塗膜付き建材とその製造方法
1か月前
旭化成建材株式会社
断熱構造、及び断熱構造の製造方法
6日前
旭化成建材株式会社
鋼管継手構造とそのプラグ受け、および鋼管接合方法
今日
旭化成建材株式会社
フェノール樹脂発泡体
6日前
個人
接合構造
2か月前
個人
屋台
2か月前
個人
タッチミー
2か月前
個人
野良猫ハウス
3か月前
個人
転落防止用手摺
3か月前
個人
安心補助てすり
1か月前
個人
フェンス
3か月前
個人
ベンリナアングル
2か月前
ニチハ株式会社
建築板
3か月前
個人
居住車両用駐車場
3か月前
個人
筋交自動設定装置
2か月前
積水樹脂株式会社
柵体
3か月前
個人
免震建築構造
6日前
個人
熱抵抗多層断熱建材
3か月前
個人
補強部材
3か月前
個人
柵
4か月前
個人
防災建築物
1か月前
鹿島建設株式会社
壁体
3か月前
株式会社フジタ
合成床
6日前
個人
身体用シェルター
2か月前
個人
身体用シェルター
2か月前
個人
住宅の省エネ方法
2日前
株式会社シンケン
住宅
1か月前
成友建設株式会社
建物
3か月前
株式会社大林組
接合構造
1か月前
三協立山株式会社
構造体
1か月前
イワブチ株式会社
組立柱
3か月前
株式会社熊谷組
吊り治具
2か月前
三協立山株式会社
構造体
2か月前
三協立山株式会社
構造体
2か月前
三協立山株式会社
構造体
2か月前
続きを見る
他の特許を見る