TOP
|
特許
|
意匠
|
商標
特許ウォッチ
Twitter
他の特許を見る
公開番号
2025181178
公報種別
公開特許公報(A)
公開日
2025-12-11
出願番号
2024089002
出願日
2024-05-31
発明の名称
目地幅拡張治具
出願人
大和ハウス工業株式会社
代理人
個人
,
個人
主分類
E04B
2/56 20060101AFI20251204BHJP(建築物)
要約
【課題】建築用パネルの間の目地に差し込まれ、目地の幅を容易に拡張することが可能な目地幅拡張治具を提供する。
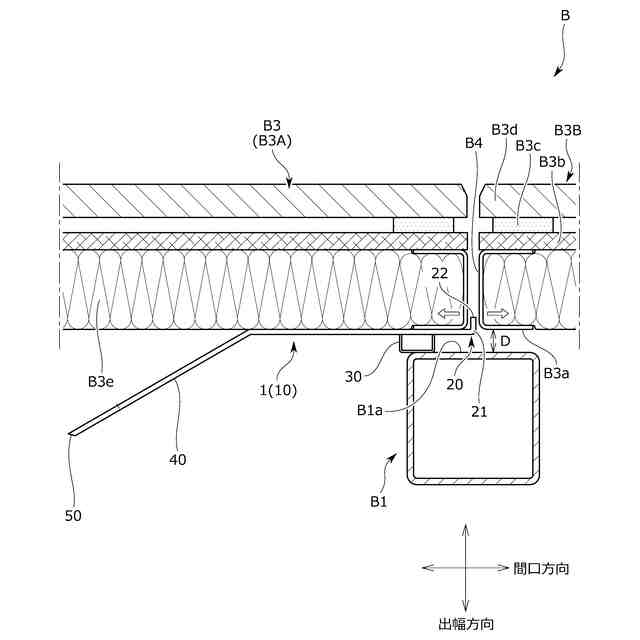
【解決手段】目地幅拡張治具1は、建物Bの間口方向に並ぶ外壁パネルB3の間の目地B4に建物の内側から差し込まれ、目地の幅を拡張するための治具である。目地幅拡張治具1は、長尺に延びる治具本体部10と、治具本体部の延出方向の一端部に設けられ、治具本体部の延出方向とは交差する方向に突出し、目地B4に差し込まれる差し込み部20と、治具本体部の延出方向の一端側に設けられ、差し込み部が突出する向きとは反対向きに突出し、建物のうち目地に対向する位置にある躯体部材に当接する当接部30と、治具本体部の延出方向の他端側に設けられ、作業者によって把持される持ち手部40と、を備えている。
【選択図】図3
特許請求の範囲
【請求項1】
建物の間口方向又は上下方向に並ぶ建築用パネルの間の目地に差し込まれ、前記目地の幅を拡張するための目地幅拡張治具であって、
長尺に延びる治具本体部と、
前記治具本体部の延出方向の一端部に設けられ、前記治具本体部の延出方向とは交差する方向に突出し、前記目地に差し込まれる差し込み部と、
前記治具本体部の延出方向の一端側に設けられ、前記差し込み部が突出する向きとは反対向きに突出し、前記建物のうち前記目地に対向する位置にある躯体部材に当接する当接部と、
前記治具本体部の延出方向の他端側に設けられ、作業者によって把持される持ち手部と、を備えることを特徴とする目地幅拡張治具。
続きを表示(約 670 文字)
【請求項2】
前記差し込み部は、前記目地に前記建物の内側から差し込まれ、前記建築用パネルの側面に当接可能に構成され、
前記目地幅拡張治具は、前記差し込み部が前記目地に差し込まれ、前記当接部が前記躯体部材に対向した状態で前記持ち手部を動作させることで、前記建築用パネルを前記間口方向又は上下方向に移動させることを特徴とする請求項1に記載の目地幅拡張治具。
【請求項3】
前記持ち手部は、前記治具本体部の延出方向の他端部に設けられ、前記治具本体部に対して前記差し込み部側とは反対側に屈曲して延びていることを特徴とする請求項1又は2に記載の目地幅拡張治具。
【請求項4】
前記当接部は、前記治具本体部の延出方向において前記差し込み部よりも前記治具本体部の中央側に配置されていることを特徴とする請求項1又は2に記載の目地幅拡張治具。
【請求項5】
前記当接部は、前記当接部の突出面又は突出面側に設けられる永久磁石を有し、
前記永久磁石は、前記躯体部材に当接可能に構成されることを特徴とする請求項4に記載の目地幅拡張治具。
【請求項6】
前記目地幅拡張治具は、前記差し込み部が前記目地に内側から差し込まれ、前記治具本体部の一端部及び前記当接部が前記建築用パネルと前記躯体部材の間に配置され、かつ、前記当接部が前記躯体部材に対向した状態で前記持ち手部を上下に動作させることで、前記建築用パネルを移動させることを特徴とする請求項1又は2に記載の目地幅拡張治具。
発明の詳細な説明
【技術分野】
【0001】
本発明は、目地幅拡張治具に係り、特に、建築用パネルの間の目地に差し込まれ、目地の幅を拡張するための目地幅拡張治具に関する。
続きを表示(約 2,500 文字)
【背景技術】
【0002】
従来、建物の施工時又は修繕時(補修時)において、建物の間口方向又は上下方向に並ぶ外壁パネルの間の目地の幅を調整する作業が行われている。
例えば、特許文献1、2の目地幅調整治具は、建物の間口方向に並ぶ建築用パネルの間の目地の幅が小さい場合に、建物の内側(屋内側)から目地に差し込んで動作させることで目地の幅を拡張させる治具である。
上記治具を利用することで、外壁パネル間の目地の幅を容易に拡張することができる。
【先行技術文献】
【特許文献】
【0003】
特開2015-059359号公報
特開2006-009284号公報
【発明の概要】
【発明が解決しようとする課題】
【0004】
ところで、建物の躯体(柱、梁)に外壁パネルを固定するにあたって、建物の間口方向に並ぶ外壁パネルの間の目地に躯体部材(柱)が対向して配置されることがある。あるいは、建物の上下方向に並ぶ外壁パネルの間の目地に躯体部材(梁)が対向して配置されることがある。
このような場合には、躯体部材(柱や梁)が存在するため、特許文献1、2のような治具を目地に差し込むことができない虞があった。すなわち、目地に対して建物の内側から治具(治具の先端部)を挿し込むためには、外壁パネルと躯体部材(柱、梁)の間の隙間を通過させて治具の先端部を目地に差し込む必要があった。そのような状態で目地の幅を拡張させるように治具を操作する必要があった。
【0005】
本発明の目的は、建築用部材(建築用パネル)の間の目地に差し込まれ、目地の幅を容易に拡張することが可能な目地幅拡張治具を提供することにある。
また、本発明の他の目的は、建築用パネルの間の目地に躯体部材(柱、梁など)が対向して配置される建物において、目地の幅を容易に拡張することが可能な目地幅拡張治具を提供することにある。
【課題を解決するための手段】
【0006】
前記課題は、本発明の目地幅拡張治具によれば、建物の間口方向又は上下方向に並ぶ建築用パネルの間の目地に差し込まれ、前記目地の幅を拡張するための目地幅拡張治具であって、長尺に延びる治具本体部と、前記治具本体部の延出方向の一端部に設けられ、前記治具本体部の延出方向とは交差する方向に突出し、前記目地に差し込まれる差し込み部と、前記治具本体部の延出方向の一端側に設けられ、前記差し込み部が突出する向きとは反対向きに突出し、前記建物のうち前記目地に対向する位置にある躯体部材に当接する当接部と、前記治具本体部の延出方向の他端側に設けられ、作業者によって把持される持ち手部と、を備えること、により解決される。
上記構成により、建築用パネルの間の目地に差し込まれ、目地の幅を容易に拡張することが可能な目地幅拡張治具を実現できる。
詳しく述べると、目地幅拡張治具は、長尺な治具本体部の一端部から屈曲して突出する差し込み部と、治具本体部の他端側に設けられる持ち手部と、を備えている。そのため、建築用パネル及び躯体部材(柱、梁など)の隙間を通過させて目地に差し込み部を差し込み易くなっている。そして、目地に差し込み部を差し込んだ状態で持ち手部を操作することで、目地を押し広げることができる。
また、目地幅拡張治具は、目地に対向する位置にある躯体部材に当接する当接部を備えているため、躯体部材に当接部を当接させることで(当接可能に対向させることで)、目地から外れないように安定して目地幅を拡張できる。
【0007】
このとき、前記差し込み部は、前記目地に前記建物の内側から差し込まれ、前記建築用パネルの側面に当接可能に構成され、前記目地幅拡張治具は、前記差し込み部が前記目地に差し込まれ、前記当接部が前記躯体部材の対向面に対向した状態で前記持ち手部を動作させることで、前記建築用パネルを前記間口方向又は上下方向に移動させると良い。
上記構成により、建築用パネルと躯体部材(柱、梁など)の隙間を通過させて目地に治具の先端部(差し込み部)を差し込み易くできる。そして、作業者が持ち手部を操作することで、建築用パネルの側面に差し込み部が当接し、建築用パネルを押し出すことができる。
【0008】
このとき、前記持ち手部は、前記治具本体部の延出方向の他端部に設けられ、前記治具本体部に対して前記差し込み部側とは反対側に屈曲して延びていると良い。
上記構成により、作業者が持ち手部を把持し易くなり、持ち手部を持って操作し易くすることができる。詳しく述べると、建築用パネルの間の目地に差し込み部を差し込んだときに、持ち手部が建築用パネルから離れるように構成できる。そのため、作業者が建築用パネルとの干渉を避けながら持ち手部を把持することができる。
【0009】
このとき、前記当接部は、前記治具本体部の延出方向において前記差し込み部よりも前記治具本体部の中央側に配置されていると良い。
上記のように、当接部が治具本体の中央側に配置されることで、建築用パネル及び躯体部材(柱、梁)の隙間に治具の先端部(差し込み部)を通過させ易くすることができる。すなわち、目地に差し込み部を差し込み易くしながらも、躯体部材に当接部を当接させる構成を実現させ、治具を安定して組み付けることができる。
【0010】
このとき、前記当接部は、前記当接部の突出面又は突出面側に設けられる永久磁石を有し、前記永久磁石は、前記躯体部材に当接可能に構成されると良い。
上記構成により、例えば柱のような躯体部材に当接部を好適に当接させることができる。なお、作業者が目地幅拡張治具を容易に動作できるように、永久磁石の磁力を比較的弱く調整しておくと良い。すなわち、作業者が治具を動作させることはできるが、手元から落下したときに躯体部材から離れないように調整できると良い。
(【0011】以降は省略されています)
この特許をJ-PlatPat(特許庁公式サイト)で参照する
関連特許
他の特許を見る