TOP
|
特許
|
意匠
|
商標
特許ウォッチ
Twitter
他の特許を見る
10個以上の画像は省略されています。
公開番号
2025175291
公報種別
公開特許公報(A)
公開日
2025-12-01
出願番号
2025152694,2024501335
出願日
2025-09-12,2023-02-09
発明の名称
積層セラミックコンデンサおよびその実装構造体
出願人
京セラ株式会社
代理人
個人
,
個人
主分類
H01G
4/30 20060101AFI20251121BHJP(基本的電気素子)
要約
【課題】薄型化しても反りを極小に抑え、実装性を低下させない積層セラミックコンデンサ及び実装構造体を提供する。
【解決手段】積層セラミックコンデンサは、第1、第2内部電極3、4と、第1、第2電極が、誘電体層5を挟んで、第1方向に交互Xに積層されてなる本体部と、第1面に位置する第1、第2外部電極と、第2面に位置する第3、第4外部電極と、を備える。第1内部電極は、第1容量形成部31dと、第1、第2引出部31a、31bと、を有する第1部分31を含み、第2内部電極は、第2容量形成部41dと、第3、第4引出部41a、41bと、を有する第2部分41を含む。第1電極は、第1、第2確認電極51a、51bを有し、第2電極は、第3、第4確認電極52a、52bを有する。第1、第2引出部は、第1、第3外部電極に接続されており、第3、第4引出部は、第2、第4外部電極に接続される。
【選択図】図2
特許請求の範囲
【請求項1】
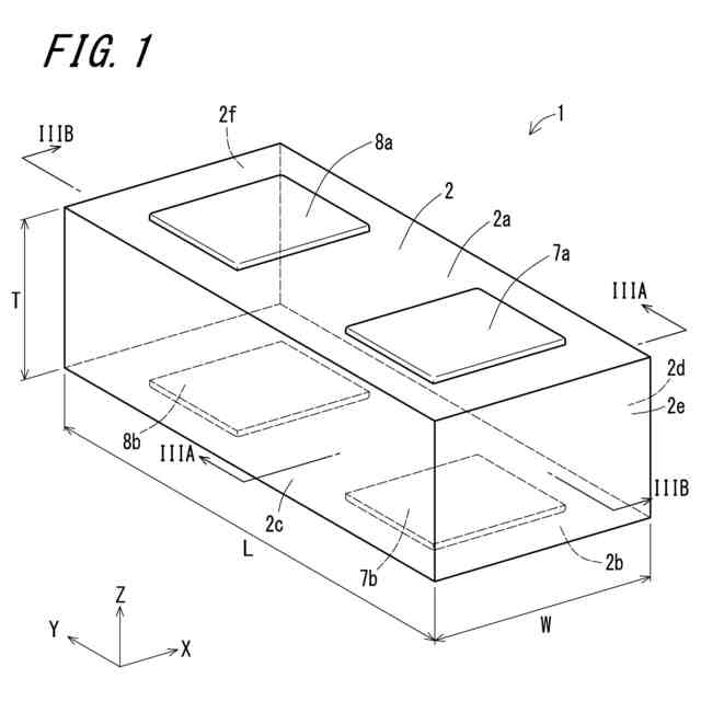
第1内部電極および第2内部電極が、誘電体層を挟んで、第1方向に交互に積層されてなる略直方体状の本体部であって、前記第1方向に互いに対向する第1側面および第2側面、互いに対向する第1面および第2面、ならびに、互いに対向する第1端面および第2端面を有する本体部と、
前記第1面に位置する第1外部電極および第2外部電極と、
前記第2面に位置する第3外部電極および第4外部電極と、を備え、
前記第1内部電極は、
第1容量形成部と、
前記第1容量形成部および前記第1外部電極に接続される第1引出部と、
前記第1容量形成部および前記第3外部電極に接続される第2引出部と、
前記第1容量形成部および前記第1引出部に一体に連なって形成される第1電極部と、
前記第1容量形成部および前記第2引出部に一体に連なって形成される第2電極部と、を有し、
前記第2内部電極は、
第2容量形成部と、
前記第2容量形成部および前記第2外部電極に接続される第3引出部と、
前記第2容量形成部および前記第4外部電極に接続される第4引出部と、
前記第2容量形成部および前記第3引出部に一体に連なって形成される第3電極部と、
前記第2容量形成部および前記第4引出部に一体に連なって形成される第4電極部と、を有し、
前記第1電極部、前記第2電極部、前記第3電極部および前記第4電極部の少なくとも1つは、前記第1端面に垂直な方向における長さが前記第1面に垂直な方向における長さよりも大きい、積層セラミックコンデンサ。
続きを表示(約 1,100 文字)
【請求項2】
前記第1電極部、前記第2電極部、前記第3電極部および前記第4電極部の少なくとも一つは、直角三角形状に形成されている、請求項1に記載の積層セラミックコンデンサ。
【請求項3】
前記第1電極部、前記第2電極部、前記第3電極部および前記第4電極部の少なくとも一つは、長方形状に形成されている、請求項1に記載の積層セラミックコンデンサ。
【請求項4】
前記第1電極部は、前記第1面よりも内側に退避している、請求項1乃至3のいずれか1つに記載の積層セラミックコンデンサ。
【請求項5】
前記第1電極部は、直角三角形状に形成されており、かつ斜辺が前記第2面から内側に湾曲している、請求項1に記載の積層セラミックコンデンサ。
【請求項6】
前記本体部における前記第1面と前記第2面とを挟む間隔が、前記第1側面と前記第2側面とを挟む間隔より小さい、請求項1に記載の積層セラミックコンデンサ。
【請求項7】
前記本体部における前記第1面と前記第2面とを挟む間隔が、前記第1端面と前記第2端面とを挟む間隔より小さい、請求項1に記載の積層セラミックコンデンサ。
【請求項8】
前記本体部における前記第1端面および前記第2端面には外部電極が形成されない、請求項1に記載の積層セラミックコンデンサ。
【請求項9】
前記本体部の焼成前の厚みをT1とし、前記焼成後の前記本体部に厚み方向両側から接する2つの平行な平面間の厚み方向に平行な方向の間隔をT2とし、T1/T2を反り率Dとし、前記第1引出部の焼成後の前記第1面に露出する領域の実測面積をSとし、前記第1引出部の設計上の前記第1面に露出する領域の面積をS0とし、前記第1引出部の前記第1面に露出する領域の焼成による拡大率をMとしたとき、M={(S/S0)-1}×100であり、前記反り率Dが10%以下の場合、拡大率Mは、0≦M≦36%の範囲である、請求項1乃至3のいずれか1つに記載の積層セラミックコンデンサ。
【請求項10】
前記誘電体層は、矩形状であり、
前記第1面および前記第2面は、前記第1方向に垂直で、かつ前記誘電体層の短手方向に平行な第2方向に互いに対向し、
前記第1端面および前記第2端面は、前記第1方向および前記第2方向に垂直な、前記誘電体層の長手方向に平行な第3方向に互いに対向している、請求項1乃至3のいずれか1つに記載の積層セラミックコンデンサ。
(【請求項11】以降は省略されています)
発明の詳細な説明
【技術分野】
【0001】
本開示は、積層セラミックコンデンサおよびその実装構造体に関する。
続きを表示(約 3,300 文字)
【背景技術】
【0002】
従来技術の積層セラミックコンデンサは、例えば特許文献1,2に記載されている。
【先行技術文献】
【特許文献】
【0003】
特開2020-167368号公報
特開2004-140183号公報
【発明の概要】
【0004】
本開示の積層セラミックコンデンサは、第1内部電極および第2内部電極と、第1電極および第2電極とが、誘電体層を挟んで、第1方向に交互に積層されてなる略直方体状の本体部であって、前記第1方向に互いに対向する第1側面および第2側面、互いに対向する第1面および第2面、ならびに、互いに対向する第1端面および第2端面を有する本体部と、前記第1面に位置する第1外部電極および第2外部電極と、前記第2面に位置する第3外部電極および第4外部電極と、を備え、前記第1内部電極は、第1容量形成部と、第1引出部と、第2引出部と、を有する第1部分を含み、前記第2内部電極は、第2容量形成部と、第3引出部と、第4引出部と、を有する第2部分を含み、前記第1電極は、第1確認電極および第2確認電極を有し、前記第2電極は、第3確認電極および第4確認電極を有し、前記第1引出部および前記第2引出部は、前記第1面および前記第2面にそれぞれ導出され、前記第1外部電極および前記第3外部電極にそれぞれ接続されており、前記第3引出部および前記第4引出部は、前記第1面および前記第2面にそれぞれ導出され、前記第2外部電極および前記第4外部電極にそれぞれ接続されている。
【0005】
本開示の積層セラミックコンデンサの実装構造体は、上述の積層セラミックコンデンサと、実装面を有する基板と、を備え、前記積層セラミックコンデンサは、前記第1側面が前記実装面に垂直となるように、前記実装面に実装されている。
【図面の簡単な説明】
【0006】
本開示の目的、特色、及び利点は、下記の詳細な説明と図面とからより明確になるであろう。
本開示の実施形態に係る積層セラミックコンデンサを示す斜視図である。
本開示の実施形態に係る積層セラミックコンデンサを示す分解斜視図である。
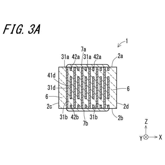
図1の切断面線IIIA-IIIAから見た断面図である。
図1の切断面線IIIB-IIIBから見た断面図である。
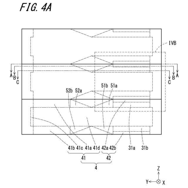
3つの積層セラミックコンデンサの電極パターンを示す側面図である。
図4AのセクションIVBの拡大図である。
図4Aの切断面線A-Aから見た断面を示す図である。
図4Aの切断面線B-Bから見た断面を示す図である。
図4Aの切断面線C-Cから見た断面を示す図である。
焼成後の積層セラミックコンデンサを図4Aの切断面線A-Aで切断した隣り合う端面とは異なる垂直面(第1方向X)から見た断面を示す図である。
焼成後の積層セラミックコンデンサを図4Aの切断面線B-Bで切断した隣り合う端面とは異なる垂直面(第1方向X)から見た断面を示す図である。
焼成後の積層セラミックコンデンサを図4Aの切断面線C-Cで切断した隣り合う端面とは異なる垂直面(第1方向X)から見た断面を示す図である。
本開示の一実施形態に係る実装構造体を示す側面図である。
積層セラミックコンデンサの電極パターンを示す図である。
積層セラミックコンデンサの電極パターンを示す図である。
積層セラミックコンデンサの電極パターンを示す図である。
積層セラミックコンデンサの電極パターンを示す図である。
他の実施形態の積層セラミックコンデンサの電極パターンを示す図である。
他の実施形態の積層セラミックコンデンサの電極パターンを示す図である。
他の実施形態の積層セラミックコンデンサの電極パターンを示す図である。
他の実施形態の積層セラミックコンデンサの電極パターンを示す図である。
他の実施形態の積層セラミックコンデンサの電極パターンを示す図である。
さらに他の実施形態の積層セラミックコンデンサの電極パターンを示す図である。
他の実施形態の積層セラミックコンデンサの電極パターンを示す図である。
他の実施形態の積層セラミックコンデンサの電極パターンを示す図である。
他の実施形態の積層セラミックコンデンサの電極パターンを示す図である。
他の実施形態の積層セラミックコンデンサの電極パターンを示す図である。
本開示の他の実施形態に係る積層セラミックコンデンサを示す斜視図である。
本開示の他の実施形態に係る積層セラミックコンデンサを示す分解斜視図である。
図11の切断面線XIII-XIIIから見た断面図である。
図12,図13の実施形態に係る積層セラミックコンデンサの電極パターンを示す図である。
図12,図13の実施形態に係る積層セラミックコンデンサの電極パターンを示す図である。
図12,図13の実施形態に係る積層セラミックコンデンサの電極パターンを示す図である。
図12,図13の実施形態に係る積層セラミックコンデンサの電極パターンを示す図である。
図12、図13の実施形態に係る積層セラミックコンデンサの電極パターンの他の例を示す図である。
図12、図13の実施形態に係る積層セラミックコンデンサの電極パターンの他の例を示す図である。
図12、図13の実施形態に係る積層セラミックコンデンサの電極パターンの他の例を示す図である。
図12、図13の実施形態に係る積層セラミックコンデンサの電極パターンの他の例を示す図である。
図12、図13の実施形態に係る積層セラミックコンデンサの電極パターン他の例を示す図である。
図12、図13の実施形態に係る積層セラミックコンデンサの電極パターン他の例を示す図である。
図12、図13の実施形態に係る積層セラミックコンデンサの電極パターン他の例を示す図である。
図12、図13の実施形態に係る積層セラミックコンデンサの電極パターン他の例を示す図である。
【発明を実施するための形態】
【0007】
まず、本開示の積層セラミックコンデンサが基礎とする構成の積層セラミックコンデンサについて説明する。上記の特許文献1に記載される従来技術では、薄型で3次元実装性を高めるために、外部電極を素子の上面および端面のみ形成し、その上面および端面を被覆層で覆うことによって素子の割れ、欠けを防止しているが、複雑な工程および構造となることから歩留まりの低下が懸念される。
【0008】
また上記の特許文献2に記載される従来技術では、素子高さが言及されておらず、薄型で3次元実装可能な低背、薄型素子になれば、特に端面に引出部を設けない主面電極素子では、カット位置の偏りによって有効部の左右位置が分からず、左右のマージン部幅が異なり、焼成時の反りが発生しやすくなる。そのため基板への電気的接続の不良、ひいては実装不良を引き起こしてしまう。
【0009】
したがって単純な構造で薄型化しても、反りを極小に抑え、実装性を低下させない積層セラミックコンデンサおよびその実装構造体が求められている。
【0010】
以下、図面を参照しつつ本開示の積層セラミックコンデンサおよび実装構造体の実施形態について説明する。以下で参照する図面は、模式的なものであり、図面に示された寸法比率等は、必ずしも正確に図示されたものではない。また、本明細書においては、便宜的に直交座標系XYZを定義する。
(【0011】以降は省略されています)
特許ウォッチbot のツイートを見る
この特許をJ-PlatPat(特許庁公式サイト)で参照する
関連特許
京セラ株式会社
光学系
1か月前
京セラ株式会社
配線基板
1か月前
京セラ株式会社
蓄電装置
2か月前
京セラ株式会社
配線基板
1か月前
京セラ株式会社
アイソレータ
10日前
京セラ株式会社
振動検出方法
11日前
京セラ株式会社
静圧気体軸受装置
1か月前
京セラ株式会社
光センサモジュール
26日前
京セラ株式会社
光センサモジュール
26日前
京セラ株式会社
走査装置及び制御装置
1か月前
京セラ株式会社
印刷装置及び印刷方法
1か月前
京セラ株式会社
走査装置及び制御装置
1か月前
京セラ株式会社
予測装置及び予測方法
1か月前
京セラ株式会社
積層セラミック電子部品
1か月前
京セラ株式会社
太陽電池付きカーポート
1か月前
京セラ株式会社
太陽電池付きカーポート
1か月前
京セラ株式会社
弾性波装置および通信装置
3日前
京セラ株式会社
差動信号フィルタデバイス
18日前
京セラ株式会社
差動信号フィルタデバイス
18日前
京セラ株式会社
電磁波検出装置及び制御装置
1か月前
京セラ株式会社
端子、端子部材および電気機器
24日前
京セラ株式会社
光集積回路及び光トランシーバ
1か月前
京セラ株式会社
端子、端子部材および電気機器
26日前
京セラ株式会社
配線基板及びLEDモジュール
1か月前
京セラ株式会社
電子デバイス及び電子モジュール
1か月前
京セラ株式会社
光センサおよび光センサの製造方法
1か月前
京セラ株式会社
積層セラミック電子部品の製造方法
10日前
京セラ株式会社
電子機器、制御方法、及びプログラム
11日前
京セラ株式会社
分析システム、分析装置、及び分析方法
1か月前
京セラ株式会社
光センサおよびこれを備えた画像形成装置
26日前
京セラ株式会社
揺動装置、電磁波照射装置、及び制御装置
1か月前
京セラ株式会社
ホルダ、切削工具、及び切削加工物の製造方法
2か月前
京セラ株式会社
VMD支援システム、サーバ装置、及び通信方法
1か月前
京セラ株式会社
電子機器、制御方法、プログラム、及びシステム
1か月前
京セラ株式会社
電子機器、制御方法、プログラム、及びシステム
1か月前
京セラ株式会社
太陽光発電システム及び太陽電池付きカーポート
1か月前
続きを見る
他の特許を見る