TOP
|
特許
|
意匠
|
商標
特許ウォッチ
Twitter
他の特許を見る
10個以上の画像は省略されています。
公開番号
2025178487
公報種別
公開特許公報(A)
公開日
2025-12-05
出願番号
2025166675,2022060900
出願日
2025-10-02,2022-03-31
発明の名称
電力管理システム、表示装置、電力管理方法、及びプログラム
出願人
京セラ株式会社
代理人
弁理士法人キュリーズ
主分類
H02J
13/00 20060101AFI20251128BHJP(電力の発電,変換,配電)
要約
【課題】グリッド間の自己託送の電力量を適切に表示することを可能とする。
【課題手段】電力系統を介して複数のグリッド間で自己託送により行う送電を管理する電力管理システムは、自己託送により送電側グリッドから受電側グリッドへ送電される電力量である自己託送電力量を管理する管理部と、自己託送電力量を表示装置に表示させる制御部と、を備える。制御部は、送電側グリッドについて自己託送電力量を表示させる場合、自己託送電力量を送電側グリッドの消費電力量とみなして表示装置に表示させる。
【選択図】図5
特許請求の範囲
【請求項1】
電力系統を介して複数のグリッド間で自己託送により行う送電を管理する電力管理システムであって、
前記自己託送により送電側グリッドから受電側グリッドへ送電される電力量である自己託送電力量を管理する管理部と、
前記自己託送電力量を表示装置に表示させる制御部と、を備え、
前記制御部は、前記送電側グリッドについて前記自己託送電力量を表示させる場合、前記自己託送電力量を前記送電側グリッドの消費電力量とみなして前記表示装置に表示させる
電力管理システム。
続きを表示(約 1,700 文字)
【請求項2】
電力系統を介して複数のグリッド間で自己託送により行う送電を管理する電力管理システムであって、
前記自己託送により送電側グリッドから受電側グリッドへ送電される電力量である自己託送電力量を管理する管理部と、
前記自己託送電力量を表示装置に表示させる制御部と、を備え、
前記制御部は、前記受電側グリッドについて前記自己託送電力量を表示させる場合、前記自己託送電力量を前記受電側グリッドの発電電力量とみなして前記表示装置に表示させる
電力管理システム。
【請求項3】
前記制御部は、前記送電側グリッドにおける余剰電力量を前記自己託送により前記受電側グリッドに送電する場合、前記余剰電力量を前記消費電力量として前記表示装置に表示させる
請求項1に記載の電力管理システム。
【請求項4】
前記制御部は、前記複数のグリッドのそれぞれについて、前記送電側グリッドとして動作することを可能とするか否かの送電可否設定と、前記受電側グリッドとして動作することを可能とするか否かの受電可否設定とを行う
請求項1乃至3のいずれか1項に記載の電力管理システム。
【請求項5】
前記制御部は、前記自己託送により1つのグリッドから他のグリッドへの送電を行うときの送電優先度を、前記他のグリッドのそれぞれについて設定する
請求項1乃至4のいずれか1項に記載の電力管理システム。
【請求項6】
前記制御部は、前記自己託送により1つのグリッドから他のグリッドへの送電を行うときの送電優先度を、前記送電優先度を判定する判定基準が異なる複数の判定方法の中から選択された判定方法を用いて、前記他のグリッドのそれぞれについて判定する
請求項1乃至5のいずれか1項に記載の電力管理システム。
【請求項7】
電力系統を介して複数のグリッド間で自己託送により行う送電を管理する電力管理システムで用いる表示装置であって、
前記自己託送により送電側グリッドから受電側グリッドへ送電される電力量である自己託送電力量を表示する表示部を備え、
前記表示部は、前記送電側グリッドについて前記自己託送電力量を表示する場合、前記自己託送電力量を前記送電側グリッドの消費電力量として表示する
表示装置。
【請求項8】
電力系統を介して複数のグリッド間で自己託送により行う送電を管理する電力管理システムで用いる表示装置であって、
前記自己託送により送電側グリッドから受電側グリッドへ送電される電力量である自己託送電力量を表示する表示部を備え、
前記表示部は、前記受電側グリッドについて前記自己託送電力量を表示する場合、前記自己託送電力量を前記受電側グリッドの発電電力量として表示する
表示装置。
【請求項9】
電力系統を介して複数のグリッド間で自己託送により行う送電を管理する電力管理システムで用いる電力管理方法であって、
前記自己託送により送電側グリッドから受電側グリッドへ送電される電力量である自己託送電力量を表示するステップを有し、
前記表示するステップは、前記送電側グリッドについて前記自己託送電力量を表示する場合、前記自己託送電力量を前記送電側グリッドの消費電力量とみなして表示するステップを含む
電力管理方法。
【請求項10】
電力系統を介して複数のグリッド間で自己託送により行う送電を管理する電力管理システムで用いる電力管理方法であって、
前記自己託送により送電側グリッドから受電側グリッドへ送電される電力量である自己託送電力量を表示するステップを有し、
前記表示するステップは、前記受電側グリッドについて前記自己託送電力量を表示する場合、前記自己託送電力量を前記受電側グリッドの発電電力量とみなして表示するステップを含む
電力管理方法。
(【請求項11】以降は省略されています)
発明の詳細な説明
【技術分野】
【0001】
本発明は、電力管理システム、表示装置、電力管理方法、及びプログラムに関する。
続きを表示(約 1,500 文字)
【背景技術】
【0002】
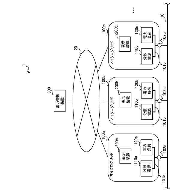
従来、送配電事業者等によって管理される電力系統を介して、分散電源から、当該分散電源と同じ主体に属する電力需要施設(別の観点では、電力負荷)への送電を行う自己託送が知られている(例えば、特許文献1参照)。
【0003】
また、電力系統に接続されるとともに、分散電源と当該分散電源の出力電力を消費する電力負荷とを有するマイクログリッドも知られている(例えば、特許文献2参照)。
【先行技術文献】
【特許文献】
【0004】
特開2021-87278号公報
特開2022-13180号公報
【発明の概要】
【発明が解決しようとする課題】
【0005】
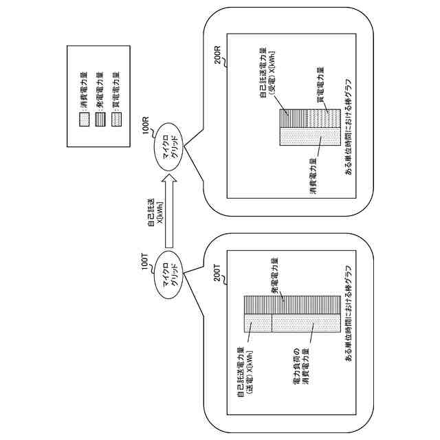
電力に関するデータをユーザが把握するためには「電力の見える化」が重要であり、分散電源の発電電力量を示すグラフ及び電力負荷の消費電力量を示すグラフ等を表示装置に表示させることが好ましい。しかしながら、マイクログリッド等のグリッド間で自己託送を行う場合、自己託送の電力量については送電側と受電側とで捉え方が変わり得るため、自己託送の電力量の表示方法が一意に定まらないという問題がある。
【0006】
本発明は、グリッド間の自己託送の電力量を適切に表示することが可能な電力管理システム、表示装置、電力管理方法、及びプログラムを提供することを目的とする。
【課題を解決するための手段】
【0007】
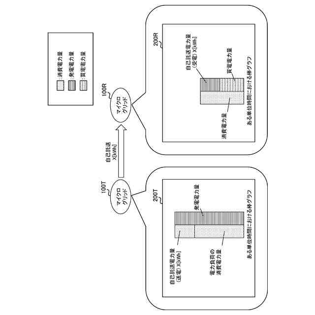
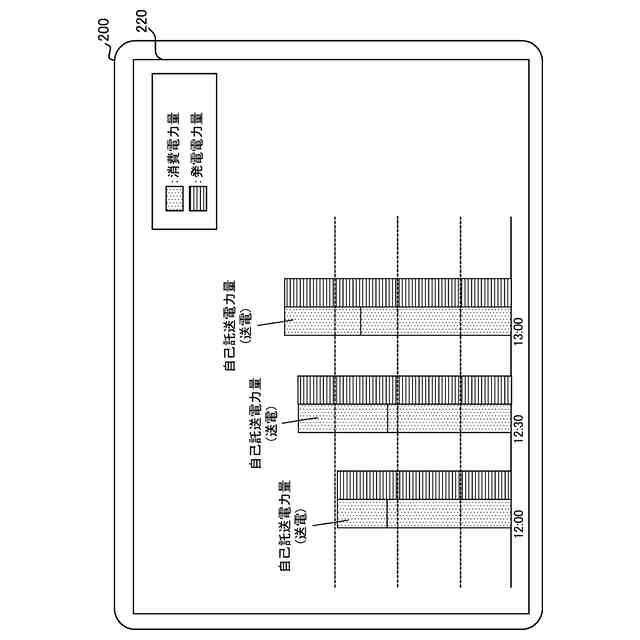
第1の態様に係る電力管理システムは、電力系統を介して複数のグリッド間で自己託送により行う送電を管理するシステムである。前記電力管理システムは、前記自己託送により送電側グリッドから受電側グリッドへ送電される電力量である自己託送電力量を管理する管理部と、前記自己託送電力量を表示装置に表示させる制御部と、を備える。前記制御部は、前記送電側グリッドについて前記自己託送電力量を表示させる場合、前記自己託送電力量を前記送電側グリッドの消費電力量とみなして前記表示装置に表示させる。
【0008】
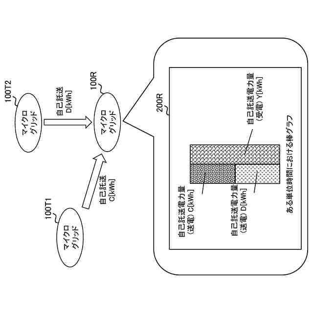
第2の態様に係る電力管理システムは、電力系統を介して複数のグリッド間で自己託送により行う送電を管理するシステムである。前記電力管理システムは、前記自己託送により送電側グリッドから受電側グリッドへ送電される電力量である自己託送電力量を管理する管理部と、前記自己託送電力量を表示装置に表示させる制御部と、を備える。前記制御部は、前記受電側グリッドについて前記自己託送電力量を表示させる場合、前記自己託送電力量を前記受電側グリッドの発電電力量とみなして前記表示装置に表示させる。
【0009】
第3の態様に係る表示装置は、電力系統を介して複数のグリッド間で自己託送により行う送電を管理する電力管理システムで用いる装置である。前記表示装置は、前記自己託送により送電側グリッドから受電側グリッドへ送電される電力量である自己託送電力量を表示する表示部を備える。前記表示部は、前記送電側グリッドについて前記自己託送電力量を表示する場合、前記自己託送電力量を前記送電側グリッドの消費電力量として表示する。
【0010】
第4の態様に係る表示装置は、電力系統を介して複数のグリッド間で自己託送により行う送電を管理する電力管理システムで用いる装置である。前記表示装置は、前記自己託送により送電側グリッドから受電側グリッドへ送電される電力量である自己託送電力量を表示する表示部を備える。前記表示部は、前記受電側グリッドについて前記自己託送電力量を表示する場合、前記自己託送電力量を前記受電側グリッドの発電電力量として表示する。
(【0011】以降は省略されています)
この特許をJ-PlatPat(特許庁公式サイト)で参照する
関連特許
個人
高圧電気機器の開閉器
19日前
個人
電気を重力で発電装置
1か月前
キヤノン電子株式会社
モータ
1か月前
株式会社アイドゥス企画
減反モータ
19日前
トヨタ自動車株式会社
モータ
1か月前
株式会社デンソー
端子台
12日前
株式会社デンソー
回転電機
3日前
株式会社ダイヘン
送配電装置
3日前
ローム株式会社
半導体集積回路
10日前
本田技研工業株式会社
回転電機
5日前
富士電機株式会社
電力変換装置
3日前
富士電機株式会社
電力変換装置
3日前
株式会社不二越
空冷式油圧装置
3日前
株式会社日立製作所
回転電機
10日前
矢崎総業株式会社
電源回路
18日前
矢崎総業株式会社
給電装置
11日前
株式会社TMEIC
制御装置
11日前
個人
非対称鏡像力を有する4層PWB電荷搬送体
26日前
大和ハウス工業株式会社
敷設用機器
11日前
トヨタ自動車株式会社
ステータの製造装置
1か月前
日産自動車株式会社
ロータシャフト
26日前
日産自動車株式会社
ロータシャフト
26日前
ローム株式会社
モータドライバ回路
26日前
株式会社イノコンバンク
無線給電システム
3日前
京商株式会社
模型用非接触電力供給システム
19日前
サンデン株式会社
モータ
4日前
サンデン株式会社
モータ
4日前
株式会社TMEIC
電力変換装置
11日前
株式会社土井製作所
ケーブル保護管路
10日前
株式会社アイシン
電力変換装置
1か月前
トヨタ自動車株式会社
可変界磁ロータ
1か月前
個人
電線盗難防止方法及び電線盗難防止装置
1か月前
ジヤトコ株式会社
治具
3日前
大阪瓦斯株式会社
充放電中継装置
1か月前
豊田合成株式会社
車両用非接触充電装置
1か月前
大阪瓦斯株式会社
充放電中継装置
1か月前
続きを見る
他の特許を見る