TOP
|
特許
|
意匠
|
商標
特許ウォッチ
Twitter
他の特許を見る
10個以上の画像は省略されています。
公開番号
2025181823
公報種別
公開特許公報(A)
公開日
2025-12-11
出願番号
2025108745,2025514723
出願日
2025-06-27,2025-03-07
発明の名称
積層型電子部品
出願人
京セラ株式会社
代理人
個人
主分類
H01G
4/30 20060101AFI20251204BHJP(基本的電気素子)
要約
【課題】小型化、薄層化が可能な積層セラミックコンデンサを提供する。
【解決手段】積層セラミックコンデンサ10は、積層体2と、下地電極3と、外部電極4と、を含む。積層体は、交互に積層されている複数の内部電極5と複数の誘電体層6と、を有し、積層方向に互いに対向する第1面7aおよび第2面7bを有する。下地電極は、第1面に位置する。外部電極は、複数の内部電極のうち積層体の表面に露出する第1内部電極5aに接続されているとともに下地電極に接続されている第1外部電極4aと、複数の内部電極のうち積層体の表面に露出する第2内部電極5bに接続されているとともに下地電極に接続されている第2外部電極4bと、を含み、下地電極に含まれる金属粒子の平均粒径は、第1内部電極に含まれる金属粒子の平均粒径より大きい。
【選択図】図3
特許請求の範囲
【請求項1】
交互に積層されている複数の内部電極と複数の誘電体層とを有し、積層方向に互いに対向する第1面および第2面を有する積層体と、
前記第1面に位置する下地電極と、
前記複数の内部電極のうち前記積層体の表面に露出する第1内部電極に接続されているとともに前記下地電極に接続されている外部電極と、を含み、
前記下地電極に含まれる金属粒子の平均粒径が、前記第1内部電極に含まれる金属粒子の平均粒径より大きい、
積層型電子部品。
続きを表示(約 630 文字)
【請求項2】
前記外部電極は、めっき層である、
請求項1に記載の積層型電子部品。
【請求項3】
前記第1内部電極および前記下地電極は、Niを主成分とし、前記外部電極は、Cuを主成分とする、
請求項1に記載の積層型電子部品。
【請求項4】
前記下地電極における、前記積層体側の面とは反対側の面から、前記積層方向に所定距離だけ離隔した位置での金属粒子の平均粒径が、前記第1内部電極における、前記積層体の前記表面から、前記積層方向に交差する所定方向に前記所定距離だけ離隔した位置での金属粒子の平均粒径より大きい、
請求項1に記載の積層型電子部品。
【請求項5】
前記積層方向の寸法が、前記積層方向に交差する所定方向の寸法より小さく、かつ前記積層方向および前記所定方向に直交する幅方向の寸法より小さい、
請求項1に記載の積層型電子部品。
【請求項6】
前記所定距離が0.5μm~1.5μmである、
請求項4に記載の積層型電子部品。
【請求項7】
前記下地電極は、前記複数の内部電極それぞれよりも厚い、
請求項1に記載の積層型電子部品。
【請求項8】
前記下地電極は、前記積層方向における前記積層体とは反対側の面を前記積層体の外部に露出させつつ、前記積層体に埋め込まれている、
請求項1に記載の積層型電子部品。
発明の詳細な説明
【技術分野】
【0001】
本開示は、積層型電子部品に関する。
続きを表示(約 3,100 文字)
【背景技術】
【0002】
積層型電子部品の一例である積層セラミックコンデンサは、複数の内部電極と複数の誘電体層とが交互に積層されてなる積層体と、積層体の表面に位置する外部電極とを含んで構成される。外部電極を直接めっき法により形成することによって、外部電極の厚さを低減することができるため、静電容量を減少させることなく、積層セラミックコンデンサを小型化および薄層化することが可能となる(例えば特許文献1を参照)。
【先行技術文献】
【特許文献】
【0003】
特開2014-212298号公報
【発明の概要】
【0004】
本開示の積層型電子部品は、交互に積層されている複数の内部電極と複数の誘電体層とを有し、積層方向に互いに対向する第1面および第2面を有する積層体と、前記第1面に位置する下地電極と、前記複数の内部電極のうち前記積層体の表面に露出する第1内部電極に接続されているとともに前記下地電極に接続されている外部電極と、を含み、前記下地電極に含まれる金属粒子の平均粒径が、前記第1内部電極に含まれる金属粒子の平均粒径より大きい。
【図面の簡単な説明】
【0005】
第1実施形態の積層セラミックコンデンサを示す斜視図である。
図1の積層セラミックコンデンサの素体部品を示す斜視図である。
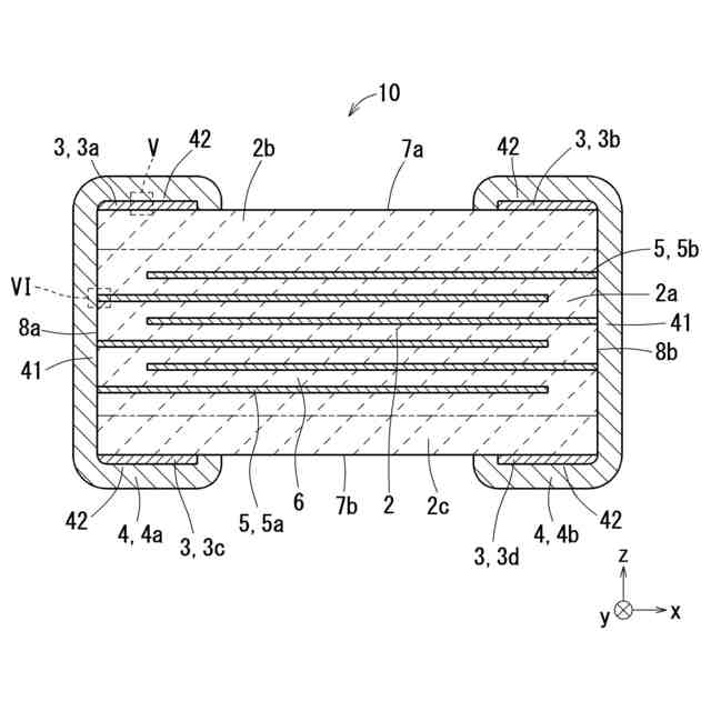
図1の切断面線III-IIIで切断した断面の一例を示す図である。
図1の切断面線III-IIIで切断した断面の他の例を示す図である。
図3のV部を拡大して示す拡大断面図である。
図3のVI部を拡大して示す拡大断面図である。
外部電極の第2部分および下地電極に含まれる金属粒子の粒径の測定について説明する電子顕微鏡写真である。
外部電極の第1部分および内部電極に含まれる金属粒子の粒径の測定について説明する電子顕微鏡写真である。
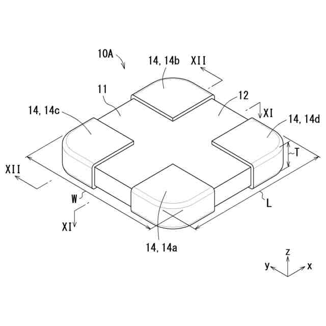
第2実施形態の積層セラミックコンデンサを示す斜視図である。
図9の積層セラミックコンデンサの素体部品を示す斜視図である。
図9の切断面線XI-XIで切断した断面の一例を示す図である。
図9の切断面線XII-XIIで切断した断面の一例を示す図である。
母積層体の作製工程を説明する斜視図である。
母積層体を示す斜視図である。
図14の母積層体を切断して得られた素体部品前駆体を示す斜視図である。
第3実施形態の積層セラミックコンデンサを示す斜視図である。
図16の積層セラミックコンデンサの素体部品を示す斜視図である。
図16の切断面線XVIII-XVIIIで切断した断面の一例を示す図である。
図16の切断面線XIX-XIXで切断した断面の一例を示す図である。
第4実施形態の積層セラミックコンデンサを示す斜視図である。
図20の積層セラミックコンデンサの素体部品を示す斜視図である。
図20の切断面線XXII-XXIIで切断した断面の一例を示す図である。
図20の切断面線XXIII-XXIIIで切断した断面の一例を示す図である。
【発明を実施するための形態】
【0006】
以下、図面を参照しつつ、本開示の積層型電子部品の実施形態について説明する。以下では、積層型電子部品の一例である積層セラミックコンデンサについて説明するが、本開示の積層型電子部品は、積層セラミックコンデンサに限定されず、積層型圧電素子、積層サーミスタ素子、積層チップコイル、およびセラミック多層基板等の様々な積層型電子部品に適用可能である。以下の説明で用いられる図は模式的なものであり、図面上の寸法比率等は現実のものとは必ずしも一致していない。本明細書では、一部の図面において、便宜的に、直交座標系xyzを定義する。x軸方向は、長さ方向とも称される。y軸方向は、幅方向とも称される。z軸方向は、高さ方向または積層方向とも称される。以下、z軸方向の正側を上方として、上面または下面等の語を用いることがある。
【0007】
相対的に後に説明される実施形態については、相対的に先に説明される実施形態との相違点を中心に説明する。特に言及が無い事項については、先に説明される実施形態の説明が援用されたり、先に説明される実施形態の説明から類推されたりしてよい。また、いずれかの実施形態についての説明は、矛盾等が生じない限り、他の実施形態に適用されて構わない。
【0008】
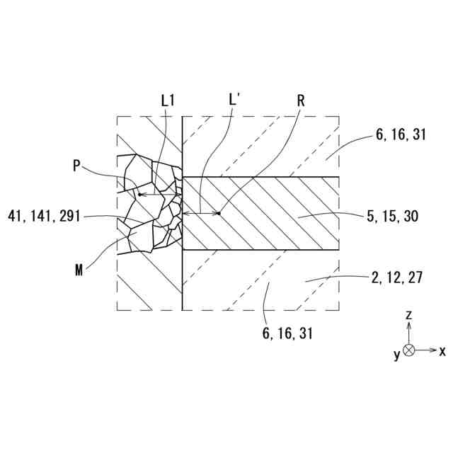
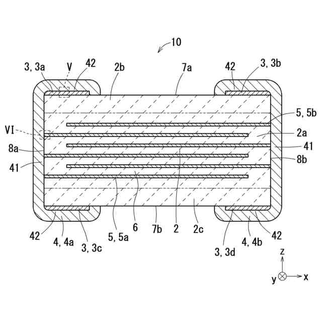
図1は、第1実施形態の積層セラミックコンデンサを示す斜視図であり、図2は、図1の積層セラミックコンデンサの素体部品を示す斜視図である。図3は、図1の切断面線III-IIIで切断した断面の一例を示す図であり、図4は、図1の切断面線III-IIIで切断した断面の他の例を示す図である。図5は、図3のV部を拡大して示す拡大断面図であり、図6は、図3のVI部を拡大して示す拡大断面図である。図7は、外部電極の第2部分および下地電極に含まれる金属粒子の粒径の測定について説明する電子顕微鏡写真である。図8は、外部電極の第1部分および内部電極に含まれる金属粒子の粒径の測定について説明する電子顕微鏡写真である。図2では、図解を容易にするために、下地電極、および積層体の表面に露出した内部電極の端部にハッチングを付している。図5は、第1実施形態の積層セラミックコンデンサの断面におけるV部を示す図であるが、第2実施形態乃至第4実施形態の積層セラミックコンデンサの断面における、V部に対応する部位を示す図でもある。図6についても同様である。図5,6では、外部電極に含まれる金属粒子の一部を図示するとともに、下地電極および内部電極に含まれる金属粒子の図示を省略している。
【0009】
第1実施形態に係る積層セラミックコンデンサ10は、図1~3に示すように、素体部品1と、複数の外部電極4とを備える。素体部品1は、図2に示すように、積層体2と、複数の下地電極3とを含む。積層セラミックコンデンサ10は、高さ方向(z軸方向)の寸法Tが長さ方向(x軸方向)の寸法Lおよび幅方向(y軸方向)の寸法Wより小さい、薄型の積層セラミックコンデンサであってよい。
【0010】
積層体2は、複数の内部電極5と複数の誘電体層6とが交互に積層されてなる。積層体2は、図2に示すように、略直方体状であってよい。積層体2は、複数の内部電極5と複数の誘電体層6との積層方向(z軸方向)に互いに対向する第1面7aおよび第2面7bを有している。積層体2は、積層方向に直交する長さ方向(x軸方向)に互いに対向する第1端面8aおよび第2端面8b、ならびに、積層方向および長さ方向に直交する幅方向(y軸方向)に互いに対向する第1側面9aおよび第2側面9bを有している。以下、第1面7aおよび第2面7bを纏めて主面7a,7bと記載することがあり、第1端面8aおよび第2端面8bを纏めて端面8a,8bと記載することがあり、第1側面9aおよび第2側面9bを纏めて側面9a,9bと記載することがある。主面7a,7bは、積層方向に垂直であってよい。端面8a,8bは、長さ方向に垂直であってよい。側面9a,9bは、幅方向に垂直であってよい。
(【0011】以降は省略されています)
この特許をJ-PlatPat(特許庁公式サイト)で参照する
関連特許
他の特許を見る