TOP
|
特許
|
意匠
|
商標
特許ウォッチ
Twitter
他の特許を見る
10個以上の画像は省略されています。
公開番号
2025181893
公報種別
公開特許公報(A)
公開日
2025-12-11
出願番号
2025155211,2022576720
出願日
2025-09-18,2022-01-19
発明の名称
予測システム、制御方法、および制御プログラム
出願人
京セラ株式会社
代理人
弁理士法人 HARAKENZO WORLD PATENT & TRADEMARK
主分類
G16H
50/20 20180101AFI20251204BHJP(特定の用途分野に特に適合した情報通信技術)
要約
【課題】対象者の対象部位の状態を示す予測画像を生成して出力する。
【解決手段】予測システムは、(a)第1時点の対象者の対象部位が写っている対象者画像と、(b)第1時点から所定期間が経過した第2時点における対象部位に関する第1予測情報、を取得する予測情報取得部と、第1予測情報に基づいて、対象者画像から、第2時点における対象部位の状態を示す予測画像を生成して出力する予測画像生成部と、を備える。
【選択図】図3
特許請求の範囲
【請求項1】
(a)第1時点の対象者の所定の疾患を有する対象部位が写っている対象者画像と、(b)前記第1時点から所定期間が経過した第2時点における前記対象部位に関する疾患の発症または進行度合いに関する第1予測情報と、を取得する予測情報取得部と、
前記第1予測情報、および、前記対象者画像のファイル形式が所定のファイル形式に変換された変換後画像から、前記第2時点における前記対象部位の状態を予測した予測画像を生成する予測画像生成モデルを有する予測画像生成部と、
前記第1予測情報を生成する予測情報生成部と、を備え、
前記予測画像生成モデルは、前記対象者画像と同種の第1データ、および前記第1予測情報と同種の第2データを含む第1学習データと、前記第2データと関連のある第3データを含む第1教師データと、を用いた機械学習によって生成され、
前記第1予測情報は、すくなくとも前記対象者画像に基づいて生成される、
予測システム。
続きを表示(約 850 文字)
【請求項2】
前記予測画像は、前記対象者画像の少なくとも一部を模した画像である、
請求項1に記載の予測システム。
【請求項3】
前記対象者画像は、前記対象部位が写っている外観画像である、
請求項1または2に記載の予測システム。
【請求項4】
前記対象者画像は、前記対象部位が写っている医用画像である、
請求項1~3のいずれか1項に記載の予測システム。
【請求項5】
前記医用画像は、前記対象者を撮像したX線画像、CT画像、MRI画像、PET画像および超音波画像のうちの少なくとも1つである、
請求項4に記載の予測システム。
【請求項6】
前記予測画像は、前記対象部位に生じた疾患が、該対象部位に及ぼす影響を予測した画像である、
請求項1~5のいずれか1項に記載の予測システム。
【請求項7】
前記予測画像生成モデルは、対象部位が写っている複数の画像データを前記第1教師データとして用いて学習されたニューラルネットワークである、
請求項1に記載の予測システム。
【請求項8】
前記第1予測情報は、前記対象部位の前記疾患に関連した前記対象部位の形状および外見に関連する情報である、
請求項6に記載の予測システム。
【請求項9】
前記予測情報生成部は、前記対象者画像から前記第1予測情報を生成する予測情報生成モデルを有し、
前記予測情報生成モデルは、前記第1データを含む第2学習データと、前記第1データと関連のある第4データを含む第2教師データと、を用いた機械学習によって生成される、
請求項1~8のいずれか1項に記載の予測システム。
【請求項10】
前記第4データは、対象部位の疾患の発症時期に関する情報を含む、
請求項9に記載の予測システム。
(【請求項11】以降は省略されています)
発明の詳細な説明
【技術分野】
【0001】
本開示は、人体の対象部位の状態を予測する予測システム、制御方法、および制御プログラムに関する。
続きを表示(約 2,100 文字)
【背景技術】
【0002】
特許文献1に記載されているように、ニューラルネットワークを用いて骨粗鬆症診断支援を行なうことが考案されている。
【先行技術文献】
【特許文献】
【0003】
日本国特開2008-36068号公報
【発明の概要】
【0004】
本開示の一態様に係る予測システムは、(a)第1時点の対象者の所定の疾患を有する対象部位が写っている対象者画像と、(b)前記第1時点から所定期間が経過した第2時点における前記対象部位に関する疾患の発症または進行度合いに関する第1予測情報と、を取得する予測情報取得部と、前記第1予測情報、および、前記対象者画像のファイル形式が所定のファイル形式に変換された変換後画像から、前記第2時点における前記対象部位の状態を予測した予測画像を生成する予測画像生成モデルを有する予測画像生成部と、前記第1予測情報を生成する予測情報生成部と、を備え、前記予測画像生成モデルは、前記対象者画像と同種の第1データ、および前記第1予測情報と同種の第2データを含む第1学習データと、前記第2データと関連のある第3データを含む第1教師データと、を用いた機械学習によって生成され、前記第1予測情報は、すくなくとも前記対象者画像に基づいて生成される。
【0005】
また、本開示の一態様に係る制御方法は、予測システムの制御方法であって、(a)第1時点の対象者の所定の疾患を有する対象部位が写っている対象者画像と、(b)前記第1時点から所定期間が経過した第2時点における前記対象部位に関する疾患の発症または進行度合いに関する第1予測情報、を取得する予測情報取得ステップと、前記第1予測情報、および、前記対象者画像のファイル形式が所定のファイル形式に変換された変換後画像から、前記第2時点における前記対象部位の状態を予測した予測画像を生成して出力する予測画像生成ステップと、前記第1予測情報を生成する予測情報生成ステップと、を含み、前記予測システムは、前記予測画像を、前記対象者画像および前記第1予測情報を用いて生成可能な予測画像生成モデルを有しており、前記第1予測情報は、すくなくとも前記対象者画像に基づいて生成される。
【0006】
また、本開示の各態様に係る予測システムは、コンピュータによって実現してもよく、この場合には、コンピュータを前記予測システムが備える各部(ソフトウェア要素)として動作させることにより前記予測システムをコンピュータにて実現させる予測システムの制御プログラム、およびそれを記録したコンピュータ読み取り可能な記録媒体も、本開示の範疇に入る。
【0007】
予測システムが複数のコンピュータによって実現されている場合、予測システムを構成する複数のコンピュータのそれぞれが備える各部(ソフトウェア要素)として、各コンピュータを動作させることにより前記予測システムをコンピュータにて実現させてもよい。
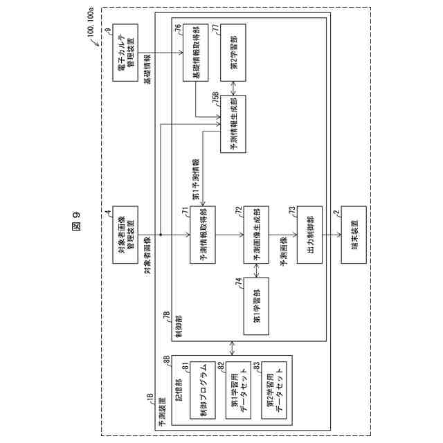
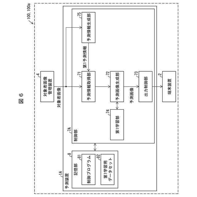
【図面の簡単な説明】
【0008】
本開示の一態様に係る予測システムの構成例を示すブロック図である。
本開示の別の態様に係る予測システムの構成例を示すブロック図である。
本開示の一態様に係る予測システムの構成の一例を示すブロック図である。
予測画像生成部が有するニューラルネットワークの構成の一例を示す図である。
実施形態1に係る予測システムが行う処理の流れの一例を示すフローチャートである。
本開示の別の態様に係る予測システムの構成の一例を示すブロック図である。
予測情報生成部が有するニューラルネットワークの構成の一例を示す図である。
実施形態2に係る予測システムが行う処理の流れの一例を示すフローチャートである。
本開示の別の態様に係る予測システムの構成の一例を示すブロック図である。
予測情報生成部が有するニューラルネットワークの学習処理の流れの一例を示すフローチャートである。
実施形態2に係る予測システムが行う処理の流れの他の一例を示すフローチャートである。
本開示の別の態様に係る予測システムの構成の一例を示すブロック図である。
予測画像生成部が有するニューラルネットワークの構成の一例を示す図である。
介入効果予測部が有するニューラルネットワークの学習処理の流れの一例を示すフローチャートである。
実施形態3に係る予測システムが行う処理の流れの一例を示すフローチャートである。
【発明を実施するための形態】
【0009】
対象者の対象部位の状態を改善したり、疾患の発症および進行を鈍化させたりするためには、できるだけ早期に施術および生活指導などの介入を開始することが望ましい。
【0010】
介入を早期に開始するためには、対象者の対象部位の状態についての予測結果を該対象者に認識させ、介入の必要性を該対象者に理解させることが重要である。
(【0011】以降は省略されています)
この特許をJ-PlatPat(特許庁公式サイト)で参照する
関連特許
他の特許を見る