TOP
|
特許
|
意匠
|
商標
特許ウォッチ
Twitter
他の特許を見る
公開番号
2025178849
公報種別
公開特許公報(A)
公開日
2025-12-09
出願番号
2024085692
出願日
2024-05-27
発明の名称
混合装置、ガラス原料の製造方法及びガラス物品の製造方法
出願人
日本電気硝子株式会社
代理人
個人
,
個人
,
個人
主分類
C03B
1/00 20060101AFI20251202BHJP(ガラス;鉱物またはスラグウール)
要約
【課題】混合装置の外部装置に対する原料粉末の侵入を抑制する。
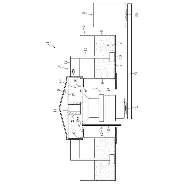
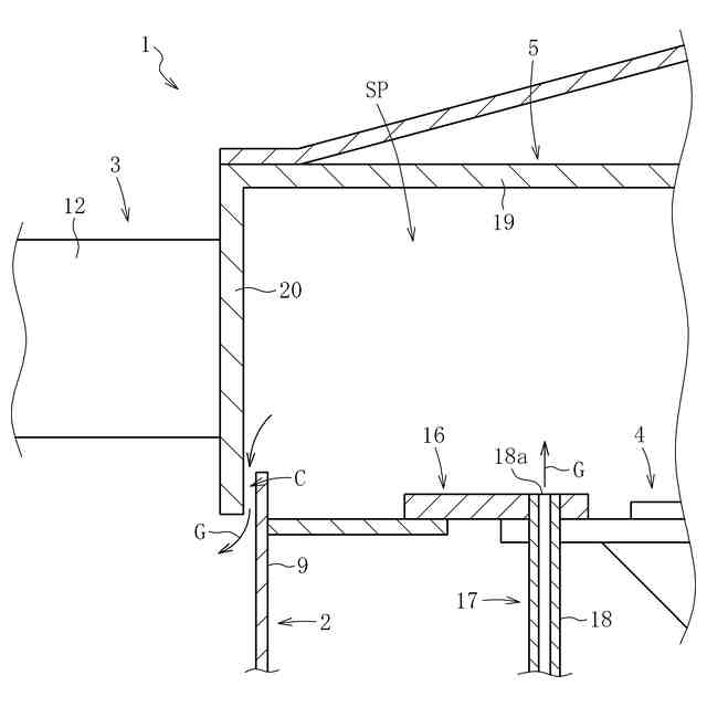
【解決手段】混合装置1は、原料粉末Mを貯留する貯留部2と、貯留部2の原料粉末Mを攪拌する攪拌部3と、貯留部2からの原料粉末Mの侵入を防止するカバー部材5と、カバー部材5の内部に形成される空間部SPと、空間部SPにガスGを供給するガス供給装置17と、を備える。
【選択図】図1
特許請求の範囲
【請求項1】
ガラス原料用の原料粉末を攪拌して混合する混合装置であって、
前記原料粉末を貯留する貯留部と、前記貯留部の前記原料粉末を攪拌する攪拌部と、前記貯留部からの前記原料粉末の侵入を防止するカバー部材と、前記カバー部材の内部に形成される空間部と、前記空間部にガスを供給するガス供給装置と、を備えることを特徴とする混合装置。
続きを表示(約 690 文字)
【請求項2】
前記貯留部に貯留される前記原料粉末の攪拌に伴って運動する運動部を備え、
前記カバー部材は、前記運動部を覆う請求項1に記載の混合装置。
【請求項3】
前記運動部は、前記貯留部に貯留される前記原料粉末の攪拌に伴って回転する請求項2に記載の混合装置。
【請求項4】
前記攪拌部は、前記運動部の回転に伴って旋回するロータと、前記ロータに取り付けられたブレードとを備え、
前記貯留部は、平面視で円環形状に構成されており、
前記運動部は、前記円環形状の中心部に配置される請求項3に記載の混合装置。
【請求項5】
請求項1から4のいずれか一項に記載の混合装置によって前記原料粉末を攪拌して混合する混合工程を備えるガラス原料の製造方法であって、
前記混合工程では、前記ガス供給装置によって前記空間部に前記ガスを供給することを特徴とするガラス原料の製造方法。
【請求項6】
前記空間部の圧力は、0.15MPa以上0.6MPa以下である請求項5に記載のガラス原料の製造方法。
【請求項7】
原料粉末を攪拌して混合することでガラス原料を得る混合工程と、前記ガラス原料を加熱溶融して溶融ガラスを生成する溶融工程と、前記溶融ガラスを成形してガラス物品とする成形工程と、を備えるガラス物品の製造方法であって、
前記混合工程では、請求項1から4のいずれか一項に記載の混合装置に係る前記ガス供給装置によって、前記空間部に前記ガスを供給することを特徴とするガラス物品の製造方法。
発明の詳細な説明
【技術分野】
【0001】
本発明は、原料粉末を混合する混合装置、及びこの混合装置を用いるガラス原料の製造方法、ガラス物品の製造方法に関する。
続きを表示(約 1,100 文字)
【背景技術】
【0002】
液晶ディスプレイ等のディスプレイに使用されるガラス基板やカバーガラス等の各種ガラス製品は、ガラス原料を溶融炉中で加熱して溶融ガラスを生成した後、その溶融ガラスを所定形状に成形することによって製造される。
【0003】
ガラス原料は、複数種(複数銘柄)の原料粉末を予め定められた混合割合で調合した調合粉末(バッチ)から構成される。
【0004】
このような調合粉末を製造する装置としては、原料粉末を貯蔵した原料粉末貯蔵サイロと、原料粉末貯蔵サイロから供給される原料粉末を計量する計量サイロと、計量サイロで計量された原料粉末を調合する調合ミキサーと、を備えたものがある(例えば特許文献1の段落0030~0035参照)。
【0005】
このガラス原料の製造装置において、調合ミキサーは、計量サイロの下方に配置されている。計量サイロと調合ミキサーとは供給路によって接続されている。計量サイロで計量された原料粉末は、この供給路を介して調合ミキサーへと供給される(同文献の段落0034、0035参照)。
【0006】
調合ミキサーは、調合空間と、この調合空間に配置される撹拌装置と、を備える。調合空間に供給された異種の原料粉末を撹拌装置によって混合することによって、調合粉末が製造される(同文献の段落0035参照)。
【先行技術文献】
【特許文献】
【0007】
特開2015-163580号公報
【発明の概要】
【発明が解決しようとする課題】
【0008】
従来の調合粉末の製造装置において、調合ミキサーにおける調合空間の外部には、例えば撹拌装置を駆動するための装置が配備されている。このような構成において、調合空間の原料粉末が外部装置に侵入し、外部装置の機能を損ない、或いは外部装置の故障の原因となるおそれがあった。さらに、外部装置から原料粉末を除去するメンテナンス作業が煩雑になっていた。
【0009】
本発明は上記の事情に鑑みてなされたものであり、混合装置の外部装置に対する原料粉末の侵入を抑制することを技術的課題とする。
【課題を解決するための手段】
【0010】
(1) 本発明は上記の課題を解決するためのものであり、ガラス原料用の原料粉末を攪拌して混合する混合装置であって、前記原料粉末を貯留する貯留部と、前記貯留部の前記原料粉末を攪拌する攪拌部と、前記貯留部からの前記原料粉末の侵入を防止するカバー部材と、前記カバー部材の内部に形成される空間部と、前記空間部にガスを供給するガス供給装置と、を備えることを特徴とする。
(【0011】以降は省略されています)
この特許をJ-PlatPat(特許庁公式サイト)で参照する
関連特許
日本電気硝子株式会社
強化樹脂複合材の強度評価方法
8日前
日本電気硝子株式会社
ガラス物品の製造方法およびガラス物品
22日前
日本電気硝子株式会社
積層体の製造方法、及び積層体製造用物品
14日前
日本電気硝子株式会社
半導体封入用無鉛ガラス及び半導体封入用外套管
22日前
日本電気硝子株式会社
ガラス
1日前
日本電気硝子株式会社
混合装置、ガラス原料の製造方法及びガラス物品の製造方法
3日前
日本電気硝子株式会社
赤外線透過ガラス
16日前
日本電気硝子株式会社
蓋部材、パッケージ及びガラス基板
1か月前
日本電気硝子株式会社
封着材料ペースト
2か月前
ノリタケ株式会社
ガラス接合材およびその利用
2か月前
日本電気硝子株式会社
ガラスの製造方法
4か月前
AGC株式会社
車両用窓ガラスとその製造方法
2か月前
ノリタケ株式会社
封止用グリーンシート
2か月前
AGC株式会社
感光性ガラス
3か月前
AGC株式会社
複層ガラス、高地対応複層ガラス
2か月前
信越化学工業株式会社
光ファイバ母材の製造方法
1か月前
ノリタケ株式会社
ガラス接合材及びその利用
2か月前
ノリタケ株式会社
ガラス接合材及びその利用
2か月前
日本板硝子株式会社
ウインドシールド
1か月前
日本電気硝子株式会社
ガラス製造装置
2か月前
日本板硝子株式会社
ビル用複層ガラス
3か月前
日本電気硝子株式会社
ガラス板の製造方法
2か月前
信越化学工業株式会社
石英ガラス棒およびその製造方法
2か月前
ノリタケ株式会社
組立体の製造方法および組立体
2か月前
AGC株式会社
合わせガラス
3か月前
日本電気硝子株式会社
ガラス物品の製造方法およびガラス物品
22日前
日本電気硝子株式会社
ガラス物品の製造方法
2か月前
信越化学工業株式会社
光ファイバ用多孔質母材の製造装置
1か月前
日本電気硝子株式会社
ガラス物品の製造方法
3か月前
AGC株式会社
積層体及び移動体
2か月前
AGC株式会社
ガラス材料、結晶化ガラス
1か月前
住友電気工業株式会社
光ファイバの製造方法
3か月前
住友電気工業株式会社
光ファイバの製造装置
4か月前
住友電気工業株式会社
光ファイバの製造方法
4か月前
日本電気硝子株式会社
半導体封入用無鉛ガラス及び半導体封入用外套管
22日前
日本電気硝子株式会社
減圧脱泡装置及びガラス製造装置
2か月前
続きを見る
他の特許を見る