TOP
|
特許
|
意匠
|
商標
特許ウォッチ
Twitter
他の特許を見る
10個以上の画像は省略されています。
公開番号
2025166034
公報種別
公開特許公報(A)
公開日
2025-11-05
出願番号
2025129309,2022569754
出願日
2025-08-01,2021-10-28
発明の名称
蓋部材、パッケージ及びガラス基板
出願人
日本電気硝子株式会社
代理人
個人
,
個人
,
個人
主分類
H10H
20/85 20250101AFI20251028BHJP()
要約
【課題】発光素子を含むパッケージに用いられるガラス製の蓋部材の透過率の向上と強度の確保とを両立させる。
【解決手段】蓋部材4は、板状の枠部7と、枠部7から突出する突出部8とを備える。突出部8は、基部10と、頂部12とを備える。頂部12の厚さは、基部10の厚さよりも薄い。
【選択図】図2
特許請求の範囲
【請求項1】
発光素子を含むパッケージに用いられるガラス製の蓋部材であって、
板状の枠部と、前記枠部から突出する突出部とを備え、
前記突出部は、基部と、頂部とを備え、
前記頂部の厚さは、前記基部の厚さよりも薄いことを特徴とする蓋部材。
続きを表示(約 740 文字)
【請求項2】
前記頂部の厚さ(Tmin)と、前記基部の厚さ(Tmax)との比(Tmin/Tmax)は、0.08以上0.9以下である請求項1に記載の蓋部材。
【請求項3】
前記突出部は、内面及び外面を有し、
前記内面の表面粗さRaは、1nm以下である請求項1又は2に記載の蓋部材。
【請求項4】
前記突出部は、内面及び外面を有し、
前記外面の表面粗さRaは、1nm以下である請求項1から3のいずれか一項に記載の蓋部材。
【請求項5】
前記基部と前記枠部とを連結する湾曲形状の連結部を備える請求項1から4のいずれか一項に記載の蓋部材。
【請求項6】
前記連結部は、前記基部と前記枠部とを繋ぐ第一曲面及び第二曲面を有し、
前記第一曲面の曲率半径は、0.5mm以上5mm以下であり、
前記第二曲面の曲率半径は、0.5mm以上5mm以下である請求項5に記載の蓋部材。
【請求項7】
前記枠部は、第一主面及び第二主面を有し、
前記第一主面に、金属層が形成されている請求項1から6のいずれか一項に記載の蓋部材。
【請求項8】
前記枠部の前記第一主面と、前記金属層との間に、緩衝膜が形成されている請求項7に記載の蓋部材。
【請求項9】
前記金属層において前記緩衝膜と接触する部位とは反対側の部位に、接合部が形成されている請求項8に記載の蓋部材。
【請求項10】
発光素子を支持する基体と、請求項1から9のいずれか一項に記載の蓋部材と、を備えることを特徴とするパッケージ。
(【請求項11】以降は省略されています)
発明の詳細な説明
【技術分野】
【0001】
本発明は、パッケージ用の蓋部材、及び蓋部材を有するパッケージ並びに蓋部材を形成するためのガラス基板に関する。
続きを表示(約 1,500 文字)
【背景技術】
【0002】
例えば特許文献1には、発光素子(LED素子)が実装される基体(基板)と、発光素子を覆うように基体に固定されるドーム状の蓋部材(透光性カバー)と、基体と蓋部材とを接合する接着材とを備えるパッケージが開示されている。このパッケージでは、蓋部材をドーム状に構成することで、蓋部材と基体との間に発光素子を収容する空間を確保している。
【先行技術文献】
【特許文献】
【0003】
特開2011-66169号公報
【発明の概要】
【発明が解決しようとする課題】
【0004】
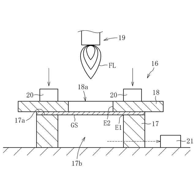
従来のパッケージにおいて、蓋部材の透過率を高めるためには、その厚さを可能な限り薄くすることが好ましい。しかしながら、蓋部材の厚さが薄すぎると、その強度が低下し、破損するおそれがある。
【0005】
そこで本発明は、蓋部材の透過率の向上と強度の確保とを両立させることを技術的課題とする。
【課題を解決するための手段】
【0006】
本発明は上記の課題を解決するためのものであり、発光素子を含むパッケージに用いられるガラス製の蓋部材であって、板状の枠部と、前記枠部から突出する突出部とを備え、前記突出部は、基部と、頂部とを備え、前記頂部の厚さは、前記基部の厚さよりも薄いことを特徴とする。
【0007】
かかる構成によれば、蓋部材の突出部における頂部の厚さを基部の厚さよりも薄くすることで、この突出部の透過率を高めることが可能となる。加えて、突出部の基部の厚さは、頂部の厚さよりも厚くなることから、この基部における強度を頂部よりも高めることができる。したがって、蓋部材の透過率の向上と強度の確保とを両立させることが可能となる。
【0008】
上記の蓋部材において、前記頂部の厚さ(Tmin)と、前記基部の厚さ(Tmax)との比(Tmin/Tmax)は、0.08以上0.9以下であることが好ましい。前記比(Tmin/Tmax)の値が、0.9より大きくなると、前記頂部における透過率が小さくなり、0.08より小さくなると、前記頂部におけるガラスの強度を担保できなくなる。従って、蓋部材の透過率の向上と頂部の強度の確保とを両立させることができなくなる。
【0009】
本発明に係る蓋部材において、前記突出部は、内面及び外面を有し、前記内面の表面粗さRaは、1nm以下であることが好ましい。前記内面の表面粗さRaの上限を1nm以下に規定することで、パッケージ内部の発光素子が発光する光が、ガラス内表面で乱反射することを抑制することが可能になり、透過率の低減を抑制することができる。また、前記外面の表面粗さRaは、1nm以下であることが好ましい。前記外面の表面粗さRaの上限を前記のように規定することにより、パッケージ内部の発光素子が発光する光が、ガラス外表面で乱反射することを抑制することが可能になり、透過率の低減を抑制することができる。なお、前記内面と前記外面の表面粗さRaは、0.01nm以上あれば、パッケージ内部の発光素子が発光する光が、ガラス内表面や外表面での乱反射が透過率に影響する虞はなくなるため、これ未満の表面粗さは、ガラス表面の加工の面からコストがかかるため、必ずしも必要ではない。
【0010】
本発明に係る蓋部材は、前記基部と前記枠部とを連結する湾曲形状の連結部を備えてもよい。これにより、蓋部材における突出部の基部と枠部との間の部分の強度を可及的に高めることができる。
(【0011】以降は省略されています)
この特許をJ-PlatPat(特許庁公式サイト)で参照する
関連特許
日本電気硝子株式会社
ガラス物品の製造方法およびガラス物品
10日前
日本電気硝子株式会社
積層体の製造方法、及び積層体製造用物品
2日前
日本電気硝子株式会社
半導体封入用無鉛ガラス及び半導体封入用外套管
10日前
日本電気硝子株式会社
赤外線透過ガラス
4日前
日本電気硝子株式会社
蓋部材、パッケージ及びガラス基板
25日前
個人
積和演算用集積回路
24日前
サンケン電気株式会社
半導体装置
23日前
日機装株式会社
半導体発光装置
18日前
旭化成株式会社
発光素子
1か月前
エイブリック株式会社
縦型ホール素子
1か月前
エイブリック株式会社
縦型ホール素子
1か月前
ローム株式会社
半導体装置
2日前
ローム株式会社
抵抗チップ
1か月前
富士電機株式会社
半導体装置
1か月前
株式会社半導体エネルギー研究所
表示装置
2日前
三菱電機株式会社
半導体装置
1か月前
三菱電機株式会社
半導体装置
10日前
株式会社東芝
半導体装置
10日前
株式会社半導体エネルギー研究所
表示装置
1か月前
ローム株式会社
半導体集積回路
1か月前
日亜化学工業株式会社
発光装置
1か月前
日亜化学工業株式会社
発光装置
1か月前
ローム株式会社
窒化物半導体装置
1か月前
富士電機株式会社
半導体装置の製造方法
1か月前
ローム株式会社
半導体装置
23日前
ローム株式会社
半導体装置
1か月前
サンケン電気株式会社
半導体装置
10日前
ローム株式会社
窒化物半導体装置
1か月前
株式会社半導体エネルギー研究所
発光デバイス
1か月前
株式会社半導体エネルギー研究所
発光デバイス
18日前
ローム株式会社
半導体装置
1か月前
大日本印刷株式会社
太陽電池
1か月前
株式会社カネカ
太陽電池モジュール
1か月前
日亜化学工業株式会社
発光素子
23日前
日本電気株式会社
超伝導量子回路装置
1か月前
株式会社MARUWA
発光装置及び照明器具
1か月前
続きを見る
他の特許を見る