TOP
|
特許
|
意匠
|
商標
特許ウォッチ
Twitter
他の特許を見る
公開番号
2025171513
公報種別
公開特許公報(A)
公開日
2025-11-20
出願番号
2024076947
出願日
2024-05-10
発明の名称
気体分離装置
出願人
国立大学法人東海国立大学機構
,
中部電力株式会社
代理人
個人
,
個人
主分類
B03C
9/00 20060101AFI20251113BHJP(液体による,または,風力テーブルまたはジグによる固体物質の分離;固体物質または流体から固体物質の磁気または静電気による分離,高圧電界による分離)
要約
【課題】混合気体から、所定の気体を、より精度良く、より低コストで分離する気体分離装置を提供する。
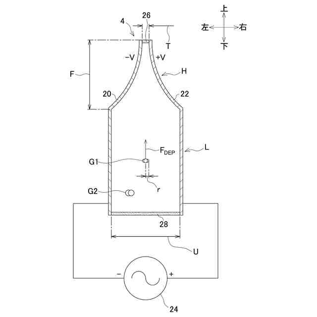
【解決手段】気体分離装置1は、第1の電極20と、第2の電極22と、第1の電極20及び第2の電極22の間に交流電圧を印加する交流電圧印加部24と、を備えている。第1の電極20及び第2の電極22は、互いに平行ではない部分を有する状態で配置されている。第1の電極20及び第2の電極22の間の距離のうち最小のものである距離Tは、1nm以上100000nm以下である。第1の電極20及び第2の電極22の間に導入される混合気体の圧力p、並びに、第1の電極20及び第2の電極22の間の距離のうち最小のものである距離Tを乗算した積は、パッシェン曲線の下側となっている。又、圧力p、及び電極間距離のうち最大のものである距離Uを乗算した積は、パッシェン曲線の下側となっている。
【選択図】図1
特許請求の範囲
【請求項1】
第1の電極と、
第2の電極と、
前記第1の電極及び前記第2の電極の間に交流電圧を印加する交流電圧印加部と、
を備えており、
前記第1の電極及び前記第2の電極は、互いに全体的に平行ではない状態で、あるいは互いに平行ではない部分を有する状態で配置されており、
前記第1の電極及び前記第2の電極の間の距離のうち最小のものは、1nm以上100000nm以下であり、
前記第1の電極及び前記第2の電極の間に導入される混合気体の圧力、並びに、前記距離のうち最小のものを乗算した積は、パッシェン曲線の下側となり、
前記圧力、及び、前記距離のうち最大のものを乗算した積は、前記パッシェン曲線の下側となる
ことを特徴とする気体分離装置。
続きを表示(約 310 文字)
【請求項2】
前記距離のうち最小のものは、1nm以上100000nm未満であり、
前記距離のうち最大のものは、1nmを超えて100000nm以下である
ことを特徴とする請求項1に記載の気体分離装置。
【請求項3】
前記混合気体は、CO
2
、O
2
、N
2
から少なくとも何れか2つが選択された気体を含む
ことを特徴とする請求項1に記載の気体分離装置。
【請求項4】
前記第1の電極及び前記第2の電極における互いに平行でない部分の形状は、先細り状である
ことを特徴とする請求項1に記載の気体分離装置。
発明の詳細な説明
【技術分野】
【0001】
本開示は、混合気体から所定の気体を分離する気体分離装置に関する。
続きを表示(約 1,900 文字)
【背景技術】
【0002】
混合気体から二酸化炭素即ちCO
2
等の所定の気体を分離する気体分離の技術としては、圧縮混合気体から所定の気体を吸着するもの、及び多孔質体を用いたものが知られている。多孔質体を用いたものとして、多孔質体にシリコーン系の気体分離膜を形成したもの、及び多孔質体と炭素質層とを組み合わせたものが知られている。
これらの技術に対し、分離性能の更なる向上、及びコストの更なる抑制が図られた新たな気体分離技術の開発が期待されている。
【0003】
他方、誘電泳動により、液体から気泡を分離する技術として、特許第4646125号公報(特許文献1)に記載のものが知られている。
又、誘電泳動により、液体中の固体を捕獲する技術として、特開2023-73849号公報(特許文献2)に記載のものが知られている。
【先行技術文献】
【特許文献】
【0004】
特許第4646125号公報
特開2023-73849号公報
【発明の概要】
【発明が解決しようとする課題】
【0005】
誘電泳動により、混合気体から所定の気体を分離する気体分離の技術は、知られていない。
【0006】
本開示の主な目的の一つは、混合気体から所定の気体をより精度良く分離する気体分離装置を提供することである。
又、本開示の主な目的の別の一つは、混合気体から所定の気体をより低コストで分離する気体分離装置を提供することである。
【課題を解決するための手段】
【0007】
本開示の一つの態様に係る気体分離装置は、第1の電極を備えていても良い。気体分離装置は、第2の電極を備えていても良い。気体分離装置は、第1の電極及び第2の電極の間に交流電圧を印加する交流電圧印加部と、を備えていても良い。第1の電極及び第2の電極は、互いに全体的に平行ではない状態で、あるいは互いに平行ではない部分を有する状態で配置されていても良い。第1の電極及び第2の電極の間の距離のうち最小のものは、1nm以上100000nm以下であっても良い。第1の電極及び第2の電極の間に導入される混合気体の圧力、並びに、第1の電極及び第2の電極の間の距離のうち最小のものを乗算した積は、パッシェン曲線の下側となっても良い。混合気体の圧力、並びに、第1の電極及び第2の電極の間の距離のうち最大のものを乗算した積は、パッシェン曲線の下側となっても良い。
【発明の効果】
【0008】
本開示の主な効果の一つは、混合気体から所定の気体をより精度良く分離する気体分離装置が提供されることである。
又、本開示の主な効果の別の一つは、混合気体から所定の気体をより低コストで分離する気体分離装置が提供されることである。
【図面の簡単な説明】
【0009】
実施形態に係る気体分離装置の模式的な斜視図である。
気体分離装置における分離部の模式的な断面図である。
所定の気体のパッシェン曲線を表すグラフである。
実施例1のシミュレーションの結果を表す画像である。
実施例2のシミュレーションの結果を表す画像である。
実施例3のシミュレーションの結果を表す画像である。
【発明を実施するための形態】
【0010】
以下、実施形態及びその変更例が、適宜図面に基づいて説明される。
当該実施形態及び変更例は、何れも包括的又は具体的な例を示すものである。
当該実施形態及び変更例における数値、形状、材料、構成要素の有無、構成要素の内容、構成要素の配置、構成要素同士の接続態様、ステップの有無、ステップの内容、ステップの順序等は、一例であり、請求の範囲を限定するものではない。
又、図面は、必ずしも厳密に描かれたものではない。実質的に同一である構成要素に対し、同じ符号が付され、重複する説明が省略あるいは簡略化されることがある。
更に、平行及び垂直等の構成要素間の関係性を示す語句、矩形状及び円盤状等の構成要素の形状を表す語句、並びに数値範囲は、厳格な意味のみを表すのではなく、実質的に同等な範囲をも含むことを意味する。実質的に同等な範囲として、例えば、1%、2%あるいは5%程度の差異を含むことが挙げられる。
(【0011】以降は省略されています)
この特許をJ-PlatPat(特許庁公式サイト)で参照する
関連特許
国立大学法人東海国立大学機構
気体分離装置
1日前
国立大学法人東海国立大学機構
表面処理方法
22日前
国立大学法人東海国立大学機構
微小重力環境用洗浄装置
28日前
国立大学法人東海国立大学機構
加工装置および切屑切断装置
1か月前
豊田合成株式会社
樹脂成形装置
1か月前
ニチコン株式会社
給電システム
1日前
国立大学法人東海国立大学機構
健康支援装置および献立提供方法
15日前
日新電機株式会社
化学蓄熱反応器
1か月前
三菱マテリアル株式会社
表面被覆切削工具
9日前
豊田合成株式会社
歩行相判定支援システム
1か月前
国立大学法人東海国立大学機構
銅運搬タンパク質融合チロシナーゼを含む組成物
1か月前
トヨタ自動車株式会社
磁気部品および電力変換装置
2か月前
パナソニックインダストリー株式会社
電磁波吸収体
1日前
株式会社SCREENホールディングス
エッチング装置
14日前
国立大学法人東海国立大学機構
構造体及びその製造方法、並びにセグメント及びその製造方法
17日前
国立大学法人東海国立大学機構
画像処理装置、画像処理方法、および、コンピュータプログラム
1か月前
国立大学法人東海国立大学機構
超伝導デバイス、超伝導電磁石、及び超伝導デバイスの製造方法
1か月前
旭化成株式会社
窒化物半導体積層体の製造方法及び窒化物半導体積層体
1か月前
旭化成株式会社
窒化物半導体積層体の製造方法及び窒化物半導体積層体
1か月前
国立大学法人東海国立大学機構
進行性核上性麻痺の治療
1か月前
国立大学法人 筑波大学
殺虫剤、殺虫活性を有する新規化合物及びその用途
14日前
国立大学法人東海国立大学機構
情報処理装置、情報処理システム、情報処理方法、および、コンピュータプログラム
1か月前
公立大学法人名古屋市立大学
換気困難予測装置、換気困難予測方法、及びプログラム
16日前
日本電気株式会社
通信装置、ネットワーク構成システム、通信方法及び通信プログラム
22日前
トヨタ自動車株式会社
ダイヤモンド複合金属薄膜及びダイヤモンド複合金属薄膜の製造方法
7日前
国立大学法人東海国立大学機構
有機太陽電池モジュール、有機太陽電池モジュール用電極および有機太陽電池モジュールの製造方法
2か月前
国立大学法人東海国立大学機構
骨形成異常に関する判定を行うシステム、プログラムおよび方法ならびに学習済みモデルの生成方法
1か月前
マリモ電子工業株式会社
鳥獣追払いシステム、鳥獣追払い方法及びプログラム
1か月前
不二サッシ株式会社
床加速度の測定システムおよび測定方法
1か月前
国立大学法人東海国立大学機構
タイトジャンクションの制御剤、有用物質の吸収促進剤、有用物質の吸収促進および漏洩防止剤、並びに、医薬組成物、医薬部外品組成物、化粧品組成物および食品組成物
1か月前
国立大学法人 東京大学
crRNA、タイプI CRISPR-Casシステム、標的DNAを編集する方法、標的DNAが編集された細胞を製造する方法、標的DNAを検出する方法、及びキット
1か月前
国立大学法人東海国立大学機構
腸内細菌叢に占めるコリンセラ属の情報を提供する方法、当該情報を用いたCOVID-19重症化予測方法およびサイトカインストーム重症化予測方法
1か月前
アマノ株式会社
荷電装置
1か月前
株式会社きんでん
磁性体除去具
23日前
富士レビオ株式会社
集磁システム
1か月前
富士電機株式会社
ガス処理システム
3か月前
続きを見る
他の特許を見る