TOP
|
特許
|
意匠
|
商標
特許ウォッチ
Twitter
他の特許を見る
10個以上の画像は省略されています。
公開番号
2025179433
公報種別
公開特許公報(A)
公開日
2025-12-10
出願番号
2024086173
出願日
2024-05-28
発明の名称
半導体装置の製造装置及び製造方法
出願人
株式会社デンソー
,
トヨタ自動車株式会社
,
株式会社ミライズテクノロジーズ
,
国立大学法人東海国立大学機構
代理人
弁理士法人 快友国際特許事務所
主分類
H01L
21/304 20060101AFI20251203BHJP(基本的電気素子)
要約
【課題】 半導体装置を製造する際にレーザの照射を利用する技術において、半導体基板の変形を抑制する新たな技術を提供する。
【解決手段】 半導体装置の製造装置は、半導体基板の内部で焦点が形成されるように前記半導体基板にレーザを照射する照射部であって、前記焦点を前記半導体基板内において横方向に広がる特定面に沿って移動させる前記照射部と、前記レーザが照射された照射範囲を前記半導体基板の厚み方向に押圧する押圧部、を備える。
【選択図】図1
特許請求の範囲
【請求項1】
半導体装置(10)の製造装置(50)であって、
半導体基板(2)の内部で焦点(S1)が形成されるように前記半導体基板にレーザ(110)を照射する照射部(52)であって、前記焦点を前記半導体基板内において横方向に広がる特定面に沿って移動させる前記照射部と、
前記レーザが照射された照射範囲を前記半導体基板の厚み方向に押圧する押圧部(56)、
を備える、製造装置。
続きを表示(約 840 文字)
【請求項2】
前記押圧部は、前記照射部が前記半導体基板に前記レーザを照射している間に前記照射範囲を押圧する、請求項1に記載の製造装置。
【請求項3】
前記押圧部は、押圧範囲の位置を変化させながら前記照射範囲を押圧する、請求項1に記載の製造装置。
【請求項4】
前記押圧部は、ローラー(57)であり、
前記ローラーが前記半導体基板の表面上を転動することにより、前記照射範囲を押圧する、請求項1に記載の製造装置。
【請求項5】
前記半導体基板が、III-V族半導体または酸化ガリウムにより構成されている、請求項1~4のいずれか一項に記載の製造装置。
【請求項6】
半導体装置(10)の製造方法であって、
半導体基板(2)の内部で焦点(S1)が形成されるように前記半導体基板にレーザ(110)を照射する工程であって、前記焦点を前記半導体基板内において横方向に広がる特定面に沿って移動させる前記工程と、
前記レーザが照射された照射範囲を前記半導体基板の厚み方向に押圧する工程と、
前記特定面に沿って前記半導体基板を分割する工程、
を備える、製造方法。
【請求項7】
前記半導体基板に前記レーザを照射する前記工程と前記照射範囲を押圧する前記工程を同時に実行する、請求項6に記載の製造方法。
【請求項8】
前記照射範囲を押圧する前記工程では、押圧範囲の位置を変化させながら前記照射範囲を押圧する、請求項6に記載の製造方法。
【請求項9】
前記照射範囲を押圧する前記工程では、ローラー(57)が前記半導体基板の表面上を転動することにより、前記照射範囲を押圧する、請求項6に記載の製造方法。
【請求項10】
前記半導体基板が、III-V族半導体または酸化ガリウムにより構成されている、請求項6~9のいずれかに記載の製造方法。
発明の詳細な説明
【技術分野】
【0001】
本明細書に開示の技術は、半導体装置の製造装置及び製造方法に関する。
続きを表示(約 2,100 文字)
【0002】
特許文献1には、半導体基板の加工方法が開示されている。特許文献1では、半導体基板の内部に集光するレーザを照射することによって、半導体基板の内部に改質層を形成する。改質層は、半導体基板の表面に沿って広がるように形成される。このような改質層を形成することで、半導体基板を加工することができる。例えば、改質層に沿って半導体基板を分割することで、より薄い半導体基板を得ることができる。
【0003】
半導体基板の内部に改質層を形成するときに、レーザの照射によって結晶構造が崩れ、半導体を構成する原子が気化する。発生した気体の圧力によって、半導体基板の内部で意図しない方向にクラックが生じ得る。特許文献1では、改質層を形成した後に半導体基板を加熱することで、改質層を溶融するとともに、半導体基板の内部で発生した気体をその圧力によって溶融した改質層とともに半導体基板の端面から外部に排出している。
【先行技術文献】
【特許文献】
【0004】
特開2017-183600号公報
【発明の概要】
【発明が解決しようとする課題】
【0005】
特許文献1の技術では、発生した気体をその圧力を利用して排出するため、半導体基板のサイズによっては、気体が横方向に十分に移動せず、気体が半導体基板の内部に残存し得る。その結果、半導体基板が変形する場合がある。本明細書では、半導体装置を製造する際にレーザの照射を利用する技術において、半導体基板の変形を抑制する新たな技術を提供する。
【課題を解決するための手段】
【0006】
本明細書が開示する半導体装置の製造装置は、半導体基板の内部で焦点が形成されるように前記半導体基板にレーザを照射する照射部であって、前記焦点を前記半導体基板内において横方向に広がる特定面に沿って移動させる前記照射部と、前記レーザが照射された照射範囲を前記半導体基板の厚み方向に押圧する押圧部、を備える。
【0007】
この製造装置では、照射部により半導体基板にレーザを照射することで、半導体基板の内部に改質層が形成される。レーザの焦点を半導体基板内において特定面に沿って移動させるので、改質層は当該特定面に沿って形成される。このとき、改質層の内部にガスが発生する。そして、照射範囲を押圧部により半導体基板の厚み方向に半導体基板を押圧する。改質層は、他の半導体領域よりも機械的強度が低い。このため、押圧部により半導体基板を押圧すると、ガスが改質層(すなわち、特定面)に沿って横方向に移動する。これにより、半導体基板の内部に発生したガスを改質層に沿って移動させることができる。このため、この製造装置では、改質層の内部に発生したガスを好適に半導体基板の外部に排出することができる。したがって、この製造装置によれば、半導体基板の変形を抑制することができる。
【0008】
また、本明細書は、半導体装置の製造方法を開示する。当該製造方法は、半導体基板の内部で焦点が形成されるように前記半導体基板にレーザを照射する工程であって、前記焦点を前記半導体基板内において横方向に広がる特定面に沿って移動させる前記工程と、前記レーザが照射された照射範囲を前記半導体基板の厚み方向に押圧する工程と、前記特定面に沿って前記半導体基板を分割する工程、を備える。
【0009】
この製造方法では、半導体基板にレーザを照射することで、半導体基板の内部に改質層が形成される。レーザの焦点を半導体基板内において特定面に沿って移動させるので、改質層は当該特定面に沿って形成される。このとき、改質層の内部にガスが発生する。次に、レーザが照射された照射範囲を、半導体基板の厚み方向に押圧する。改質層は、他の半導体領域よりも機械的強度が低い。このため、半導体基板を押圧すると、ガスが改質層(すなわち、特定面)に沿って横方向に移動する。これにより、半導体基板の内部に発生したガスを改質層に沿って移動させることができる。その後、半導体基板を分割する。以上のように、この製造方法では、改質層の内部に発生したガスを好適に半導体基板の外部に排出することができる。したがって、この製造方法では、半導体基板の変形を抑制することができ、歩留まり良く半導体装置を製造することができる。
【図面の簡単な説明】
【0010】
実施例に係る製造装置の模式図。
半導体基板の平面図。
レーザ照射工程の説明図。
レーザ照射工程の説明図。
押圧工程の説明図。
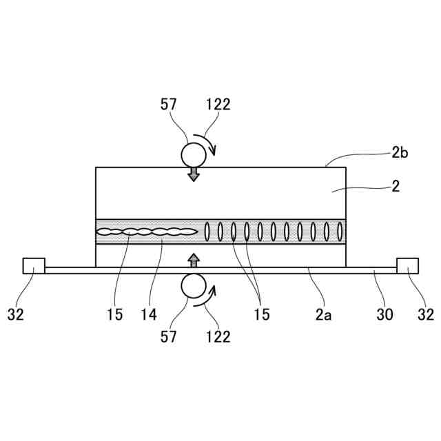
レーザ照射工程と押圧工程を同時に実施する態様の説明図。
分割工程の説明図。
研磨、個片化工程の説明図。
変形例に係る製造装置を説明するための図。
他の変形例に係る製造装置を説明するための図。
他の変形例に係る製造装置を説明するための図。
他の変形例に係る製造装置を説明するための図。
【発明を実施するための形態】
(【0011】以降は省略されています)
この特許をJ-PlatPat(特許庁公式サイト)で参照する
関連特許
他の特許を見る