TOP
|
特許
|
意匠
|
商標
特許ウォッチ
Twitter
他の特許を見る
10個以上の画像は省略されています。
公開番号
2025170737
公報種別
公開特許公報(A)
公開日
2025-11-19
出願番号
2024193855
出願日
2024-11-05
発明の名称
微粒子収容装置、非接触型微粒子処理機器及びその光感知構造体
出願人
醫華生技股フン有限公司
,
CYTOAURORA BIOTECHNOLOGIES, INC.
代理人
個人
,
個人
,
個人
主分類
B03C
5/00 20060101AFI20251112BHJP(液体による,または,風力テーブルまたはジグによる固体物質の分離;固体物質または流体から固体物質の磁気または静電気による分離,高圧電界による分離)
要約
【課題】微粒子収容装置、非接触型微粒子処理機器及びその光感知構造体を提供する。
【解決手段】微粒子収容装置1は、複数の微粒子を含む液体検体を収容する。収容装置は、光感知構造体11と、光感知構造体から間隔を置いて設けられる整合構造体12とを有する。光感知構造体は、基板111と、基板に形成される電極層112及び光電層113と、光電層に形成される絶縁体114とを有する。絶縁体は、光電層から突出する電荷軌道Tを含む。光電層が動作して電荷軌道に集中する複数の電荷を生成することによって、電荷軌道の電荷密度は、光電層の外表面の電荷密度よりも大きくなり、電荷軌道は、静電吸着によって少なくとも1つの微粒子をその上に位置決めされる。
【選択図】図2
特許請求の範囲
【請求項1】
複数の微粒子を含む液体検体を収容する微粒子収容装置と、
前記微粒子収容装置に面する光駆動装置と、
を備え、
前記微粒子収容装置は、
第1基板、前記第1基板に形成される第1電極層、前記第1基板に形成される光電層、及び、前記光電層に形成される絶縁体を有する光感知構造体と、
前記光感知構造体に間隔を置いて設けられる整合構造体と、
を有し、
前記絶縁体は、
前記光電層内に埋め込まれている基底層と、
前記基底層に接続され、少なくとも一部が前記光電層から突出し、上縁に電荷軌道が形成されている軌道層と、
を有し、
前記光電層が動作して前記電荷軌道に集中する複数の電荷を生成することによって、前記電荷軌道は、静電吸着によって少なくとも1つの前記微粒子をその上に位置決めされ、少なくとも1つの前記微粒子は、標的微粒子として定義され、
前記光感知構造体及び前記整合構造体の少なくとも一方は透明であり、前記整合構造体は、第2基板と、前記第2基板に形成される第2電極層とを含み、前記第2電極層は、前記光感知構造体に面し、
前記光駆動装置は、前記光感知構造体に照射する光を放射することによって、前記光感知構造体に誘電泳動パターンを形成させ、
前記標的微粒子が静電吸着されて前記電荷軌道に位置決めされたとき、前記光駆動装置は、前記誘電泳動パターンを移動させることによって、前記標的微粒子を押し付けて前記電荷軌道に沿って移動させる、
ことを特徴とする非接触型微粒子処理機器。
続きを表示(約 1,900 文字)
【請求項2】
前記光電層が動作して前記電荷軌道に集中する複数の前記電荷を生成するとき、前記電荷軌道の電荷密度は、前記光電層の外表面の電荷密度よりも大きい、
請求項1に記載の非接触型微粒子処理機器。
【請求項3】
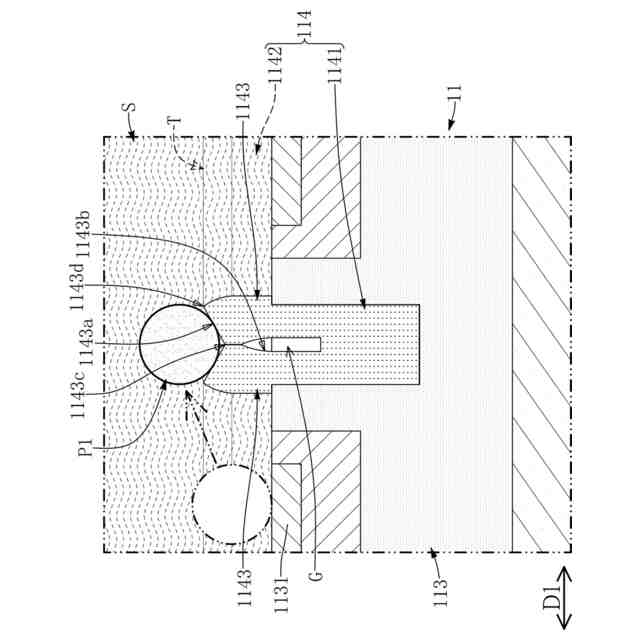
前記軌道層は、前記基底層から延びる2つのアームを含み、2つの前記アームの内側面の間に隙間が形成され、2つの前記アームの自由端面が前記光電層の外側に位置して互いに接触することによって、前記隙間は、2つの前記アームの前記内側面と前記基底層とによって囲まれている一方、2つの前記アームの前記自由端面は、前記電荷軌道の少なくとも一部を形成する、
請求項1に記載の非接触型微粒子処理機器。
【請求項4】
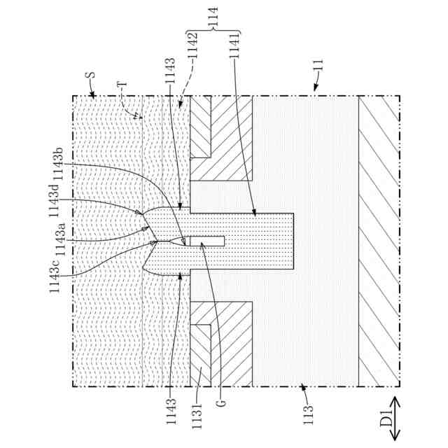
前記軌道層は、前記基底層から延びる2つのアームを含み、2つの前記アームの内側面の間に隙間が形成され、2つの前記アームの自由端面は、前記隙間が外部に連通するように、前記光電層の外側に互いに離れて位置し、2つの前記アームの前記内側面は、前記電荷軌道の少なくとも一部を形成する、
請求項1に記載の非接触型微粒子処理機器。
【請求項5】
前記電荷軌道は、
それぞれが第1方向に平行する複数の横方向軌道溝と、
それぞれが第2方向に平行し、複数の前記横方向軌道溝と互いに交差する複数の縦方向軌道溝と、
を有し、
複数の前記横方向軌道溝と複数の前記縦方向軌道溝とが互いに交差する複数の重なる箇所のそれぞれを電荷集中領域として、
前記光電層が動作して前記電荷軌道に集中する複数の前記電荷を生成するとき、前記電荷集中領域は、前記光感知構造体内で最大の電荷密度を有する、
請求項1に記載の非接触型微粒子処理機器。
【請求項6】
複数の前記横方向軌道溝と複数の前記縦方向軌道溝とのいずれか1つは、互いに隣り合う2つの内縁角と、2つの前記内縁角の外側に位置する2つの外縁角とを有し、複数の前記横方向軌道溝と複数の前記縦方向軌道溝とのいずれか1つにおいて、2つの前記内縁角の高さ位置は、2つの前記外縁角の高さ位置と異なる、
請求項5に記載の非接触型微粒子処理機器。
【請求項7】
前記光電層は、マトリックス状に配置される複数のトランジスタを備え、前記軌道層は、複数の前記トランジスタをそれぞれ取り囲む複数の環状セグメントを含み、複数の前記環状セグメントが互いに隣り合ってマトリックス状に配置され、複数の前記環状セグメントの上縁が共に前記電荷軌道を構成する、
請求項1に記載の非接触型微粒子処理機器。
【請求項8】
各前記環状セグメントの外輪郭は長方形であり、長方形に配置される互いに隣り合う任意の4つの前記環状セグメントの中央部に電荷集中領域が形成され、前記光電層が動作して前記電荷軌道に集中する複数の前記電荷を生成するとき、前記電荷集中領域は、前記光感知構造体内で最大の電荷密度を有する、
請求項7に記載の非接触型微粒子処理機器。
【請求項9】
複数の微粒子を含む液体検体を収容する微粒子収容装置であって、
前記収容装置は、
第1基板、前記第1基板に形成される第1電極層、前記第1基板に形成される光電層、及び、前記光電層に形成される絶縁体を有する光感知構造体と、
前記光感知構造体に間隔を置いて設けられる整合構造体と、
を備え、
前記絶縁体は、前記光電層から突出する電荷軌道を含み、
前記光電層が動作して前記電荷軌道に集中する複数の電荷を生成することによって、前記電荷軌道の電荷密度は、前記光電層の外表面の電荷密度よりも大きくなり、前記電荷軌道は、静電吸着によって少なくとも1つの前記微粒子をその上に位置決めされ、
前記光感知構造体及び前記整合構造体の少なくとも一方は透明であり、前記整合構造体は、第2基板と、前記第2基板に形成される第2電極層とを含み、前記第2電極層は、前記光感知構造体に面する、
ことを特徴とする微粒子収容装置。
【請求項10】
第1基板と、
前記第1基板に形成される第1電極層と、
前記第1基板に形成される光電層と、
前記光電層に形成される絶縁体と、
を備え、
前記絶縁体は、前記光電層から突出する電荷軌道を含み、
前記光電層が動作して前記電荷軌道に集中する複数の電荷を生成することによって、前記電荷軌道の電荷密度は、前記光電層の外表面の電荷密度よりも大きい、
ことを特徴とする非接触型微粒子処理機器の光感知構造体。
発明の詳細な説明
【技術分野】
【0001】
本発明は、微粒子処理装置に関し、特に微粒子収容装置、非接触型微粒子処理機器及びその光感知構造体に関する。
続きを表示(約 2,400 文字)
【背景技術】
【0002】
従来の微粒子処理装置は、電界を印加することで標的微粒子を移動させることができる。しかしながら、標的微粒子に接触することなく、前記標的微粒子を所定の経路に沿って所定の標的領域まで正確に移動させるには、従来の微粒子処理装置をさらに改良及び洗練する必要がある。
【発明の概要】
【発明が解決しようとする課題】
【0003】
そこで、本願発明者は、上記の欠陥を改善できると考え、研究に専念して科学原理を応用し、最終的に合理的に設計され、上記の欠陥を効果的に改善する本発明を提案する。
【課題を解決するための手段】
【0004】
本発明の実施例は、従来の微粒子処理装置で生じる可能性がある欠陥を効果的に改善できる微粒子収容装置、非接触型微粒子処理機器及びその光感知構造体を提供する。
【0005】
本発明の実施例は、非接触型微粒子処理機器を開示する。非接触型微粒子処理機器は、複数の微粒子を含む液体検体を収容する微粒子収容装置と、前記微粒子収容装置に面する光駆動装置とを備え、前記微粒子収容装置は、第1基板、前記第1基板に形成される第1電極層、前記第1基板に形成される光電層、及び、前記光電層に形成される絶縁体を有する光感知構造体と、前記光感知構造体に間隔を置いて設けられる整合構造体とを有し、前記絶縁体は、前記光電層内に埋め込まれている基底層と、前記基底層に接続され、少なくとも一部が前記光電層から突出し、上縁に電荷軌道が形成されている軌道層とを有し、前記光電層が動作して前記電荷軌道に集中する複数の電荷を生成することによって、前記電荷軌道は、静電吸着によって少なくとも1つの前記微粒子をその上に位置決めされ、少なくとも1つの前記微粒子は、標的微粒子として定義され、前記光感知構造体及び前記整合構造体の少なくとも一方は透明であり、前記整合構造体は、第2基板と、前記第2基板に形成される第2電極層とを含み、前記第2電極層は、前記光感知構造体に面し、前記光駆動装置は、前記光感知構造体に照射する光を放射することによって、前記光感知構造体に誘電泳動パターンを形成させ、前記標的微粒子が静電吸着されて前記電荷軌道に位置決めされたとき、前記光駆動装置は、前記誘電泳動パターンを移動させることによって、前記標的微粒子を押し付けて前記電荷軌道に沿って移動させる。
【0006】
本発明の実施例は、複数の微粒子を含む液体検体を収容する微粒子収容装置をさらに開示する。前記収容装置は、第1基板、前記第1基板に形成される第1電極層、前記第1基板に形成される光電層、及び、前記光電層に形成される絶縁体を有する光感知構造体と、前記光感知構造体に間隔を置いて設けられる整合構造体とを備え、前記絶縁体は、前記光電層から突出する電荷軌道を含み、前記光電層が動作して前記電荷軌道に集中する複数の電荷を生成することによって、前記電荷軌道の電荷密度は、前記光電層の外表面の電荷密度よりも大きくなり、前記電荷軌道は、静電吸着によって少なくとも1つの前記微粒子をその上に位置決めされ、前記光感知構造体及び前記整合構造体の少なくとも一方は透明であり、前記整合構造体は、第2基板と、前記第2基板に形成される第2電極層とを含み、前記第2電極層は、前記光感知構造体に面する。
【0007】
本発明の実施例は、非接触型微粒子処理機器の光感知構造体をさらに開示する。非接触型微粒子処理機器の光感知構造体は、第1基板と、前記第1基板に形成される第1電極層と、前記第1基板に形成される光電層と、前記光電層に形成される絶縁体とを備え、前記絶縁体は、前記光電層から突出する電荷軌道を含み、前記光電層が動作して前記電荷軌道に集中する複数の電荷を生成することによって、前記電荷軌道の電荷密度は、前記光電層の外表面の電荷密度よりも大きい。
【発明の効果】
【0008】
以上のことから、本発明の実施例に開示された微粒子収容装置、非接触型微粒子処理機器及びその光感知構造体は、光電層に絶縁体が形成されることにより、絶縁体の電荷軌道が光電層の動作と協働して、前述の静電吸着方式によって標的微粒子を移動及び位置決めすることができ、これにより、標的微粒子を正確に位置決めすることができる。
【0009】
さらに、電荷軌道が光駆動装置と協働できるため、標的微粒子が誘電泳動パターンによって押し付けられて電荷軌道で迅速に移動することができる。即ち、標的微粒子が誘電泳動パターンによって押し付けられて移動するか、又は接触(又は、軽く衝突)された後に電荷軌道に沿って移動することができる。その結果、フォトマスクによって引き起こされる標的微粒子へのダメージが効果的に低減される。
【図面の簡単な説明】
【0010】
本発明の実施例1に係る非接触型微粒子処理機器の立体模式図である。
本発明の実施例1に係る非接触型微粒子処理機器の断面模式図である。
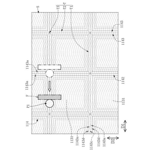
本発明の実施例1に係る非接触型微粒子処理機器の平面模式図である。
図3の領域IVの拡大模式図である。
図4の後続動作の模式図である。
図4の他の後続動作の模式図である。
本発明の実施例1に係る非接触型微粒子処理機器の部分断面模式図である。
図7の後続動作の模式図である。
本発明の実施例2に係る非接触型微粒子処理機器の部分断面模式図である。
本発明の実施例3に係る非接触型微粒子処理機器の断面模式図である。
【発明を実施するための形態】
(【0011】以降は省略されています)
この特許をJ-PlatPat(特許庁公式サイト)で参照する
関連特許
醫華生技股フン有限公司
微粒子収容装置、非接触型微粒子処理機器及びその光感知構造体
2日前
醫華生技股フン有限公司
バイオ粒子濃縮装置、バイオ粒子濃縮デバイス、及びピコ液滴発生装置
9か月前
アマノ株式会社
荷電装置
1か月前
株式会社きんでん
磁性体除去具
23日前
富士レビオ株式会社
集磁システム
1か月前
富士電機株式会社
ガス処理システム
3か月前
鈴健興業株式会社
湿式選別システムおよび湿式選別方法
1か月前
個人
水流式選別装置
5か月前
三菱電機株式会社
空気清浄装置
9日前
日本永磁株式会社
磁性異物除去装置
3か月前
パナソニックIPマネジメント株式会社
電気集塵装置
2か月前
日本永磁株式会社
磁性異物除去装置
3か月前
国立大学法人東海国立大学機構
気体分離装置
1日前
株式会社SCREENホールディングス
分離チップ
4か月前
株式会社SCREENホールディングス
分離チップ
4か月前
JFEスチール株式会社
エアテーブル型密度分離装置及び分離方法
28日前
雪印メグミルク株式会社
泡沫分離装置および泡沫分離方法
24日前
雪印メグミルク株式会社
泡沫分離装置および泡沫分離方法
24日前
国立大学法人 名古屋工業大学
帯電状態の切り替えにより花粉を吸着する金網およびこれを備えた網戸
3か月前
三星電子株式会社
電気集塵装置
2か月前
プライムプラネットエナジー&ソリューションズ株式会社
金属捕集器およびその利用
5か月前
JFEスチール株式会社
スローピングシュート、シュート装置及び、粒状物の分級方法
5か月前
三星電子株式会社
帯電装置及び電気集塵装置
2か月前
住友化学株式会社
浮選剤およびヒ素非含有銅鉱物の回収方法
3か月前
株式会社レゾナック
磁性異物分離装置、磁性異物分離方法、及び封止用樹脂組成物の製造方法
1か月前
広東美的環境電器制造有限公司
ファン
3か月前
財團法人工業技術研究院
磁性物質分離装置
4か月前
財團法人工業技術研究院
磁性物質分離装置
4か月前
醫華生技股フン有限公司
微粒子収容装置、非接触型微粒子処理機器及びその光感知構造体
2日前
ブレイクスルー・テクノロジーズ・エルエルシー
蒸気の凝縮
5か月前
バイオジェン インターナショナル ニューロサイエンス ゲーエムベーハー
アルツハイマー病を治療する方法
1か月前
東京応化工業株式会社
レジスト組成物、レジストパターン形成方法、化合物、及び酸発生剤
1か月前
東京応化工業株式会社
レジスト組成物、レジストパターン形成方法、化合物、及び酸発生剤
1か月前
ザ・ボーイング・カンパニー
テレメトリ対話型順列行列のシステム及び方法
24日前
トリデルタ メイデンシャ ゲーエムベーハー
サージ・アレスタの状態を評価するためのコンピュータ実装方法
6か月前
アークタラス テラピュウティクス、インク
アンチコドンループを延長した合成転移RNA
2か月前
他の特許を見る