TOP
|
特許
|
意匠
|
商標
特許ウォッチ
Twitter
他の特許を見る
10個以上の画像は省略されています。
公開番号
2025177744
公報種別
公開特許公報(A)
公開日
2025-12-05
出願番号
2024084816
出願日
2024-05-24
発明の名称
電気集塵機、および空気調和機の室内ユニット
出願人
日本キヤリア株式会社
代理人
弁理士法人スズエ国際特許事務所
主分類
B03C
3/40 20060101AFI20251128BHJP(液体による,または,風力テーブルまたはジグによる固体物質の分離;固体物質または流体から固体物質の磁気または静電気による分離,高圧電界による分離)
要約
【課題】通風抵抗を抑制するとともに集塵性能を向上させることが可能な電気集塵機、および該電気集塵機を備えた空気調和機の室内ユニットを提供する。
【解決手段】電気集塵機は、放電電極と、対向電極と、壁部とを備える。前記放電電極は、空気の流れの上流側に配置されてコロナ放電を生じさせる。前記対向電極は、前記空気の流れの下流側に前記放電電極と対向して配置されて前記空気に含まれる塵埃を集塵する。前記壁部は、前記放電電極と前記対向電極との間で、前記放電電極から前記対向電極へ向けて前記空気を誘導する。前記放電電極は、前記壁部に沿って並んで配置されて該壁部に向けて突出する複数の突起部を有する。前記放電電極と前記対向電極との対向距離をD1とし、前記放電電極の複数の前記突起部と前記壁部との対向距離をD2とした場合、D1<D2<1.5×D1なる関係を満たす。
【選択図】図5
特許請求の範囲
【請求項1】
空気の流れの上流側に配置されてコロナ放電を生じさせる放電電極と、
前記空気の流れの下流側に前記放電電極と対向して配置されて前記空気に含まれる塵埃を集塵する対向電極と、
前記放電電極と前記対向電極との間で、前記放電電極から前記対向電極へ向けて前記空気を誘導する壁部と、を備え、
前記放電電極は、前記壁部に沿って並んで配置されて該壁部に向けて突出する複数の突起部を有し、
前記放電電極と前記対向電極との対向距離をD1とし、前記放電電極の複数の前記突起部と前記壁部との対向距離をD2とした場合、
D1<D2<1.5×D1
なる関係を満たす
電気集塵機。
続きを表示(約 590 文字)
【請求項2】
前記放電電極が有する前記突起部の数をNとし、
複数の前記突起部のうち、隣り合って並ぶもの同士の間の距離の最大距離をPとした場合、
(0.0121×N+0.5367)<(D1/P)<(0.0133×N+0.5932)、かつ、
(D1/P)>0.86
なる関係式を満たす
請求項1に記載の電気集塵機。
【請求項3】
前記対向電極は、前記空気の流れに垂直な平面での断面がハニカム構造をなし、
前記ハニカム構造の正六角形の平行する二辺間の距離をSとした場合、
1/25<S<1/4
なる関係式を満たす
請求項1または2に記載の電気集塵機。
【請求項4】
前記空気と冷媒との間で熱交換を行う熱交換器と、
室内から前記空気を吸い込み、前記熱交換器で熱交換された該空気を前記室内に吹き出す送風機と、
前記室内に向けて開口する箱形に構成され、前記熱交換器および前記送風機を収容する筐体と、
前記室内の空気を吸い込む吸込口および前記熱交換器で熱交換された空気を吹き出す吹出口を有し、前記筐体の開口を前記室内の側から覆うパネルと、
前記吸込口もしくは前記吹出口に配置された請求項3に記載の前記電気集塵機と、を備える
空気調和機の室内ユニット。
発明の詳細な説明
【技術分野】
【0001】
本発明の実施形態は、電気集塵機、および該電気集塵機を備えた空気調和機の室内ユニットに関する。
続きを表示(約 2,200 文字)
【背景技術】
【0002】
空気調和機の室内ユニット(以下、単に室内ユニットという)に対し、電気集塵機が搭載される場合がある。電気集塵機は、通風路を通過する空気中の塵埃に電荷を与え、静電力により塵埃を捕捉して集塵する装置である。室内ユニットに搭載された電気集塵機は、例えば該室内ユニットが室内の空気を吸い込む際、吸い込まれた空気に含まれる塵埃を集塵して該空気の清浄化を図る。電気集塵機は、室内ユニットが室内の空気を吸い込む吸込口などに配置される。これにより、吸込口から吸い込まれた空気が電気集塵機を通過する。
【0003】
したがって、室内ユニットに搭載される電気集塵機においては、通風路の通風抵抗を抑制するとともに、集塵性能の向上を図ることが求められる。
【先行技術文献】
【特許文献】
【0004】
特開平11-249382号公報
特開2019-171334号公報
【発明の概要】
【発明が解決しようとする課題】
【0005】
本発明は、これを踏まえてなされたものであり、その目的は、通風抵抗を抑制するとともに集塵性能を向上させることが可能な電気集塵機、および該電気集塵機を備えた空気調和機の室内ユニットを提供することにある。
【課題を解決するための手段】
【0006】
実施形態によれば、電気集塵機は、放電電極と、対向電極と、壁部とを備える。前記放電電極は、空気の流れの上流側に配置されてコロナ放電を生じさせる。前記対向電極は、前記空気の流れの下流側に前記放電電極と対向して配置されて前記空気に含まれる塵埃を集塵する。前記壁部は、前記放電電極と前記対向電極との間で、前記放電電極から前記対向電極へ向けて前記空気を誘導する。前記放電電極は、前記壁部に沿って並んで配置されて該壁部に向けて突出する複数の突起部を有する。前記放電電極と前記対向電極との対向距離をD1とし、前記放電電極の複数の前記突起部と前記壁部との対向距離をD2とした場合、D1<D2<1.5×D1なる関係を満たす。
【図面の簡単な説明】
【0007】
本実施形態に係る天井埋め込み型の空気調和機の室内ユニットの斜視図である。
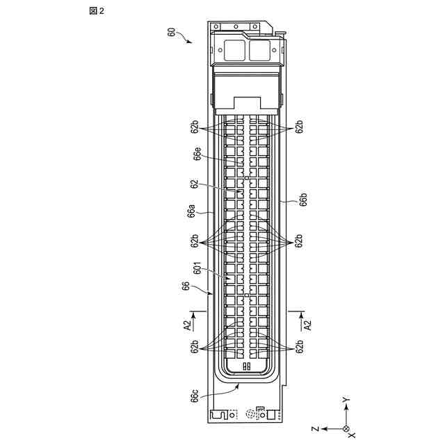
本実施形態に係る電気集塵機を、室内側(該電気集塵機を通過する空気の流れの上流側)から該電気集塵機を概略的に示す平面図である。
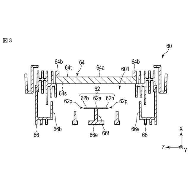
本実施形態に係る電気集塵機を、図2の矢印A2で示す箇所において矢印方向から概略的に示す断面図である。
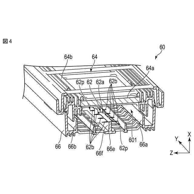
本実施形態に係る電気集塵機を、図3に示す断面を含んで概略的に示す斜視図である。
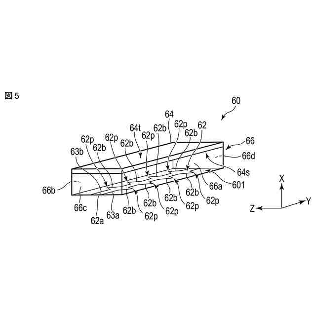
本実施形態に係る電気集塵機における放電電極、対向電極、および壁部の位置関係を模式的に示す図である。
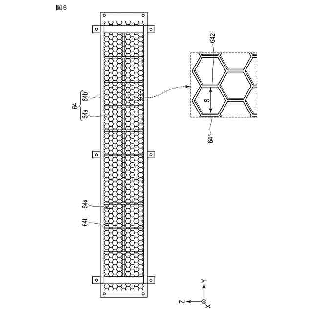
本実施形態に係る電気集塵機の対向電極を、該対向電極を通過する空気の流れの下流側から概略的に示す平面図である。
本実施形態に係る電気集塵機の対向電極の通風抵抗、放電面積、および集塵性能を、ハニカム構造のセルサイズに応じて比較して示す図である。
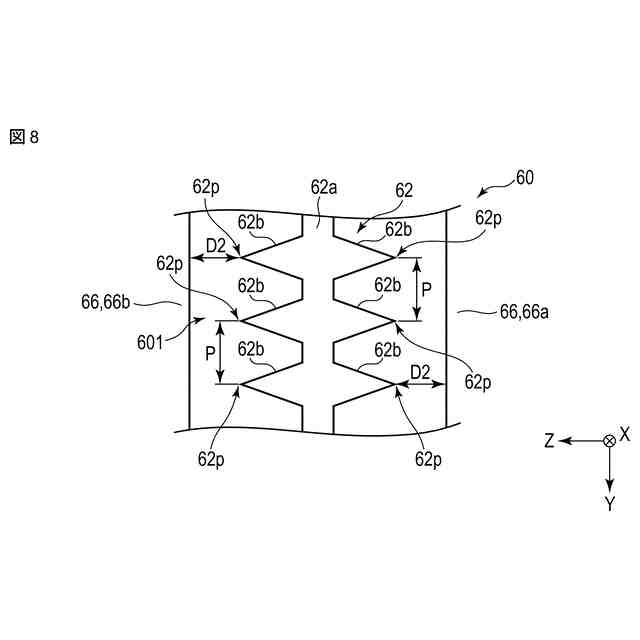
本実施形態に係る電気集塵機の放電電極、対向電極、および壁部の相対的な位置関係を、該電気集塵機を通過する空気の流れの上流側から模式的に示す図である。
本実施形態に係る電気集塵機の放電電極、対向電極、および壁部の相対的な位置関係を、該電気集塵機を通過する空気の流れと直交する方向から模式的に示す図である。
本実施形態に係る電気集塵機の放電電極の複数の突起部と壁部の側壁との対向距離(D2)と、対向電極での集塵性能との関係を示す図である。
本実施形態に係る電気集塵機の放電電極の突起部の数(N)と、突起部の距離(P)に対する対向距離(D1)の比率(D1/P)との関係を示す図である。
【発明を実施するための形態】
【0008】
以下、本発明の実施形態について、図面を参照して説明する。
図1は、本実施形態に係る天井埋め込み型の空気調和機の室内ユニットの斜視図である。図1に示すように、空気調和機の室内ユニット1は、主たる要素として、天井裏に据え付けられるユニット本体2と、ユニット本体2の下端に取り付けられたパネル(以下、化粧パネルという)3を備えている。ユニット本体2は、筐体4を備えている。筐体4は、室内に向けて開口する箱形に構成され、例えば複数の吊りボルト(図示省略)を介して天井裏の梁から吊り下げられる。
【0009】
筐体4の内部には、送風機10が収容されている。送風機10は、空調対象空間、つまり室内の空気を吸い込み、熱交換器(図示省略)で熱交換された空気を室内に吹き出す。図示例では、軸方向から空気を吸い込んで周方向に吹き出す、いわゆる遠心ファンが送風機10として用いられている。熱交換器は、空調対象空間、つまり室内の空気と冷媒との間で熱交換を行い、該室内を空気調和する。熱交換器は、筐体4の内部で送風機10の吹き出し側を取り囲むように起立している。
【0010】
化粧パネル3は、空調対象空間の天井(図示省略)に沿うような姿勢で配置され、筐体4の下端の開口部を室内の側から覆っている。化粧パネル3は、グリル(以下、吸込グリルという)80および枠体81を備えている。
(【0011】以降は省略されています)
この特許をJ-PlatPat(特許庁公式サイト)で参照する
関連特許
アマノ株式会社
荷電装置
2か月前
株式会社きんでん
磁性体除去具
1か月前
富士レビオ株式会社
集磁システム
1か月前
富士電機株式会社
ガス処理システム
4か月前
株式会社氣工社
液体中の固形分を分離する装置
1日前
ダイカテック株式会社
磁性物除去装置及び清掃用治具
1日前
鈴健興業株式会社
湿式選別システムおよび湿式選別方法
2か月前
三菱電機株式会社
空気清浄装置
24日前
日本永磁株式会社
磁性異物除去装置
4か月前
日本永磁株式会社
磁性異物除去装置
3か月前
パナソニックIPマネジメント株式会社
電気集塵装置
3か月前
国立大学法人東海国立大学機構
気体分離装置
16日前
三菱電機株式会社
集塵装置および換気システム
9日前
雪印メグミルク株式会社
泡沫分離装置および泡沫分離方法
1か月前
雪印メグミルク株式会社
泡沫分離装置および泡沫分離方法
1か月前
JFEスチール株式会社
エアテーブル型密度分離装置及び分離方法
1か月前
国立大学法人 名古屋工業大学
帯電状態の切り替えにより花粉を吸着する金網およびこれを備えた網戸
3か月前
三星電子株式会社
電気集塵装置
3か月前
日本キヤリア株式会社
電気集塵機、および空気調和機の室内ユニット
1日前
三星電子株式会社
帯電装置及び電気集塵装置
3か月前
株式会社レゾナック
磁性異物分離装置、磁性異物分離方法、及び封止用樹脂組成物の製造方法
2か月前
広東美的環境電器制造有限公司
ファン
4か月前
醫華生技股フン有限公司
微粒子収容装置、非接触型微粒子処理機器及びその光感知構造体
17日前
バイオジェン インターナショナル ニューロサイエンス ゲーエムベーハー
アルツハイマー病を治療する方法
1か月前
バイオジェン・エムエイ・インコーポレイテッド
抗ベータアミロイド抗体を含有する医薬組成物
5日前
東京応化工業株式会社
レジスト組成物、レジストパターン形成方法、化合物、及び酸発生剤
2か月前
東京応化工業株式会社
レジスト組成物、レジストパターン形成方法、化合物、及び酸発生剤
2か月前
ザ・ボーイング・カンパニー
テレメトリ対話型順列行列のシステム及び方法
1か月前
アークタラス テラピュウティクス、インク
アンチコドンループを延長した合成転移RNA
2か月前
他の特許を見る