TOP
|
特許
|
意匠
|
商標
特許ウォッチ
Twitter
他の特許を見る
10個以上の画像は省略されています。
公開番号
2025129965
公報種別
公開特許公報(A)
公開日
2025-09-05
出願番号
2024026986
出願日
2024-02-26
発明の名称
電気集塵装置
出願人
パナソニックIPマネジメント株式会社
代理人
個人
,
個人
主分類
B03C
3/41 20060101AFI20250829BHJP(液体による,または,風力テーブルまたはジグによる固体物質の分離;固体物質または流体から固体物質の磁気または静電気による分離,高圧電界による分離)
要約
【課題】双方向からの送風に対して除塵可能な電気集塵装置を提供する。
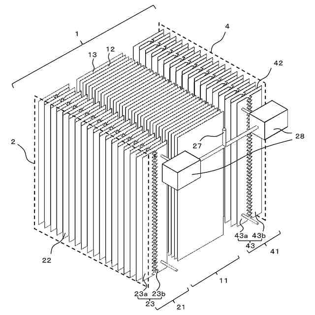
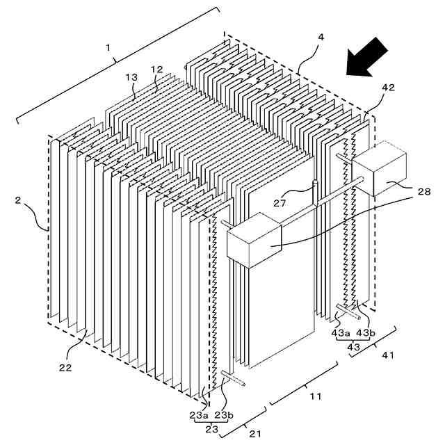
【解決手段】電気集塵装置1は、粉塵を含む空気が流入可能に設けられた開口(一端側開口2、他端側開口4)と、開口から流入する空気中の粉塵を荷電させる荷電部(一端側荷電部21、他端側荷電部41)と、を備える。荷電部は、少なくとも2つ以上設けられ、開口から流入する空気の流れ方向に対して直列に配置される。開口から空気が流入した場合に、流入した開口に近接する一方の荷電部は、第一極板と第二極板とが所定の空間を空けて接地極板との間で放電可能に分割する。一方に対応する他方の荷電部は、第一極板と第二極板とが接地極板との間での放電を抑制可能に係合する。
【選択図】図1
特許請求の範囲
【請求項1】
粉塵を含む空気が流入可能に設けられた開口と、
前記開口から流入する空気中の前記粉塵を荷電させる荷電部と、
を備え、
前記荷電部は、少なくとも2つ以上設けられ、前記開口から流入する空気の流れ方向に対して直列に配置される、電気集塵装置。
続きを表示(約 750 文字)
【請求項2】
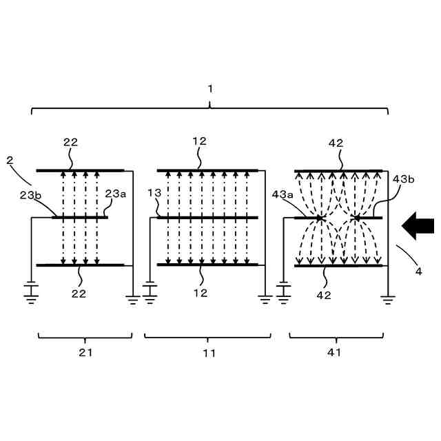
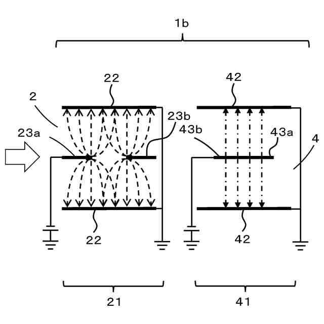
前記荷電部は、
前記開口の開口面に対して垂直に設けられた複数の接地極板と、
前記開口の開口面に対して垂直かつ前記接地極板に面対向に設けられ電圧の印加により前記接地極板との間で放電を行う複数の放電極板と、を備え、
前記放電極板と前記接地極板は前記開口の面に沿って交互に設けられ、
前記放電極板は、
空気の流れに沿う方向に第一極板と第二極板とを有して構成され、
前記開口から前記空気が流入した場合に、
当該流入した開口に近接する一方の前記荷電部は前記第一極板と前記第二極板とが所定の空間を空けて前記接地極板との間で放電可能に分割し、
前記一方に対応する他方の前記荷電部は前記第一極板と前記第二極板とが前記接地極板との間での放電を抑制可能に係合する、請求項1に記載の電気集塵装置。
【請求項3】
前記荷電した前記粉塵を集塵する集塵部を備え、
前記荷電部は、前記集塵部の両端に設けられる、請求項1に記載の電気集塵装置。
【請求項4】
前記開口から流入する前記空気の風向を検知する風向検知部と、
前記第一極板と前記第二極板との前記分割及び前記係合を制御する制御部と、を備え、
前記制御部は、
前記風向検知部が検知した前記風向に基づいて、風上側に該当する前記荷電部を前記分割状態とし、風下側に該当する前記荷電部を前記係合状態とする、請求項2に記載の電気集塵装置。
【請求項5】
前記開口から流入する前記空気の風圧により、風上側に該当する前記荷電部を前記分割状態とし、風下側に該当する前記荷電部を前記係合状態とする、請求項2に記載の電気集塵装置。
発明の詳細な説明
【技術分野】
【0001】
本発明は、空気中の浮遊粒子を荷電させ静電気力で捕集する電気集塵装置に関するものである。
続きを表示(約 1,700 文字)
【背景技術】
【0002】
従来、この種の電気集塵装置は、荷電部の放電極に直流高電圧を印加し、正コロナまたは負コロナを発生させ、荷電部を通過する粉塵に正または負の電荷をもたせて荷電する。この荷電された粉塵を、直流高電圧が印加された荷電極と、接地に繋がれた接地極板を有する集塵部の高電界により、静電気力で接地極板面上に捕集する技術が広く一般的に知られている(例えば、特許文献1参照)。
【0003】
以下、その電気集塵原理について図14を参照しながら説明する。
【0004】
図14は、従来の電気集塵装置の荷電部と集塵部の構成を表した模式図である。図14に示すように、電気集塵装置は、荷電部104と集塵部105により構成される。通風方向は、荷電部104から、集塵部105への向き(図14における左から右)であり、荷電部104は風上側、集塵部105は風下側に設置される。荷電部104と集塵部105にはそれぞれ高電圧が供給されている。荷電部104は、板状の放電極104Aと板状の接地極板104Bにより構成される。放電極104Aに直流高圧が印加され、放電極104Aと接地極板104Bの間の空間に正コロナ放電が発生する。この正コロナにより発生した正イオンが、空間中の粉塵に正の電荷を与え、粉塵は正に荷電される。荷電した粉塵は後段の集塵部105における、板状の荷電極板105Aと板状の接地極板105B間で形成される強電界により、静電気力で接地極板105B上に捕集される。
【0005】
このような一般的な電気集塵装置は、電気集塵装置の前方または後方に設置されたファンによって、空気を送るまたは吸い込むことで、電気集塵装置に空気を通過させるため、電気集塵装置を通過する空気の通風方向は一方向流となる。
【0006】
ところで、地下鉄の駅のホーム及び列車が通過するトンネルなどにおいても、電気集塵により粉塵の除去を行うことが検討されている。このような場合、列車が通過する通路の近傍に電気集塵装置を設置し、ファンを用いずに列車の通過による空気の流れを利用した自然換気を用いて電気集塵装置に空気を通過させることが考えられる。図15は、電気集塵装置203をトンネル201内に設置した場合の自然換気の風向を示す模式図であり、図15の(a)では列車の進行方向前方に電気集塵装置203がある場合の自然換気の風向を示し、図15の(b)では列車の進行方向後方に電気集塵装置203がある場合の自然換気の風向を示している。図15に示すように、自然換気を用いて空気を通過させる場合は、列車201が電気集塵装置203を通過する前の空気の流れは排気方向(図15の(a)におけるX)となり、列車201が電気集塵装置203を通過した後の空気の流れは吸気方向(図15の(b)におけるY)となる。つまり、トンネル201内の空気の流れの向きによって風上側と風下側が入れ替わり、電気集塵装置203の荷電部側からだけでなく、集塵部側からも空気が流入する。
【先行技術文献】
【特許文献】
【0007】
特開平9-225340号公報
【発明の概要】
【発明が解決しようとする課題】
【0008】
このように双方向から電気集塵装置に空気が流入する場合、従来の電気集塵装置では、粉塵を含む空気が集塵部を通過した後に荷電部を通過することになり、トンネル内の空気の集塵が行えなくなるという課題があった。
【0009】
そこで本発明は、上記従来の課題を解決するものであり、双方向からの送風に対して除塵可能な電気集塵装置を提供することを目的とする。
【課題を解決するための手段】
【0010】
そして、この目的を達成するために、本発明に係る電気集塵装置は、粉塵を含む空気が流入可能に設けられた開口と、開口から流入する空気中の粉塵を荷電させる荷電部と、を備える。荷電部は、少なくとも2つ以上設けられ、開口から流入する空気の流れ方向に対して直列に配置されるものであり、これにより所期の目的を達成するものである。
【発明の効果】
(【0011】以降は省略されています)
この特許をJ-PlatPat(特許庁公式サイト)で参照する
関連特許
株式会社きんでん
磁性体除去具
4日前
アマノ株式会社
荷電装置
1か月前
富士レビオ株式会社
集磁システム
25日前
富士電機株式会社
ガス処理システム
3か月前
鈴健興業株式会社
湿式選別システムおよび湿式選別方法
1か月前
個人
水流式選別装置
4か月前
日本永磁株式会社
磁性異物除去装置
2か月前
日本永磁株式会社
磁性異物除去装置
2か月前
パナソニックIPマネジメント株式会社
電気集塵装置
1か月前
冨士色素株式会社
磁性体を含む粉体の磁気選別方法及び装置
5か月前
株式会社SCREENホールディングス
分離チップ
3か月前
株式会社SCREENホールディングス
分離チップ
3か月前
大成建設株式会社
磁性体回収装置および磁性体回収方法
6か月前
雪印メグミルク株式会社
泡沫分離装置および泡沫分離方法
5日前
雪印メグミルク株式会社
泡沫分離装置および泡沫分離方法
5日前
JFEスチール株式会社
エアテーブル型密度分離装置及び分離方法
9日前
国立研究開発法人産業技術総合研究所
湿式比重選別機
5か月前
国立大学法人 名古屋工業大学
帯電状態の切り替えにより花粉を吸着する金網およびこれを備えた網戸
2か月前
三星電子株式会社
電気集塵装置
1か月前
プライムプラネットエナジー&ソリューションズ株式会社
金属捕集器およびその利用
5か月前
JFEスチール株式会社
スローピングシュート、シュート装置及び、粒状物の分級方法
5か月前
三星電子株式会社
帯電装置及び電気集塵装置
1か月前
株式会社島津製作所
マグネットプレート、分離装置およびマグネットプレートを用いる自動分注機
5か月前
住友化学株式会社
浮選剤およびヒ素非含有銅鉱物の回収方法
3か月前
株式会社レゾナック
磁性異物分離装置、磁性異物分離方法、及び封止用樹脂組成物の製造方法
1か月前
学校法人 芝浦工業大学
磁性異物粉分離装置及び磁性異物粉分離方法
5か月前
コリア インスティチュート オブ ジオサイエンス アンド ミネラル リソースズ
土壌試料の粒度を選別するための一体型篩装置
6か月前
広東美的環境電器制造有限公司
ファン
3か月前
財團法人工業技術研究院
磁性物質分離装置
3か月前
財團法人工業技術研究院
磁性物質分離装置
3か月前
ブレイクスルー・テクノロジーズ・エルエルシー
蒸気の凝縮
4か月前
バイオジェン インターナショナル ニューロサイエンス ゲーエムベーハー
アルツハイマー病を治療する方法
11日前
東京応化工業株式会社
レジスト組成物、レジストパターン形成方法、化合物、及び酸発生剤
1か月前
東京応化工業株式会社
レジスト組成物、レジストパターン形成方法、化合物、及び酸発生剤
1か月前
ザ・ボーイング・カンパニー
非同期テレメトリ帯域幅シミュレータのためのシステム及び方法
5か月前
ザ・ボーイング・カンパニー
テレメトリ対話型順列行列のシステム及び方法
5日前
続きを見る
他の特許を見る