TOP
|
特許
|
意匠
|
商標
特許ウォッチ
Twitter
他の特許を見る
公開番号
2025144267
公報種別
公開特許公報(A)
公開日
2025-10-02
出願番号
2024043965
出願日
2024-03-19
発明の名称
磁性異物分離装置、磁性異物分離方法、及び封止用樹脂組成物の製造方法
出願人
株式会社レゾナック
代理人
弁理士法人太陽国際特許事務所
主分類
B03C
1/28 20060101AFI20250925BHJP(液体による,または,風力テーブルまたはジグによる固体物質の分離;固体物質または流体から固体物質の磁気または静電気による分離,高圧電界による分離)
要約
【課題】磁性異物と非磁性材料との混合物から磁性異物を効率的に除去する磁性異物分離装置を提供する。
【解決手段】分離槽と、前記分離槽の内部に配置され、回転軸を有する支持部材と前記支持部材の側面に設けられた撹拌翼とを有する撹拌部材と、前記分離槽の内部において、前記支持部材の回転軸延長方向のうち前記支持部材に対して重力方向の下側に配置された第1の磁石と、を有する、磁性異物分離装置。
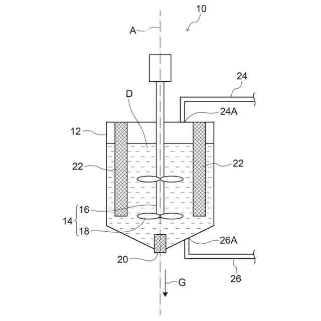
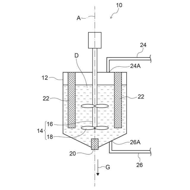
【選択図】図1
特許請求の範囲
【請求項1】
分離槽と、
前記分離槽の内部に配置され、回転軸を有する支持部材と前記支持部材の側面に設けられた撹拌翼とを有する撹拌部材と、
前記分離槽の内部において、前記支持部材の回転軸延長方向のうち前記支持部材に対して重力方向の下側に配置された第1の磁石と、
を有する、磁性異物分離装置。
続きを表示(約 680 文字)
【請求項2】
前記分離槽の内部において、前記支持部材の径方向外側に配置された第2の磁石をさらに有する、請求項1に記載の磁性異物分離装置。
【請求項3】
前記第1の磁石は、柱状であり、側面に磁力を有する、請求項1に記載の磁性異物分離装置。
【請求項4】
磁性異物を含有する材料と分散媒とを含む分散液を、請求項1~3のいずれか1項に記載の磁性異物分離装置の前記分離槽に供給することと、
前記撹拌部材により前記分散液を撹拌することで、前記分散液から前記磁性異物を分離することと、
を含む、磁性異物分離方法。
【請求項5】
磁性異物を含有する無機充填材と分散媒とを含む分散液を、請求項1~3のいずれか1項に記載の磁性異物分離装置の前記分離槽に供給することと、
前記撹拌部材により前記分散液を撹拌することで、前記分散液から前記磁性異物を分離し、前記無機充填材の精製体の分散液を得ることと、
前記無機充填材の精製体と樹脂とを混合することと、
を含む、封止用樹脂組成物の製造方法。
【請求項6】
磁性異物と無機充填材と樹脂と分散媒とを含む分散液を、請求項1~3のいずれか1項に記載の磁性異物分離装置の前記分離槽に供給することと、
前記撹拌部材により前記分散液を撹拌することで、前記分散液から前記磁性異物を分離し、前記分散液の精製体を得ることと、
前記分散液の精製体から前記分散媒を除去することと、
を含む、封止用樹脂組成物の製造方法。
発明の詳細な説明
【技術分野】
【0001】
本開示は、磁性異物分離装置、磁性異物分離方法、及び封止用樹脂組成物の製造方法に関する。
続きを表示(約 2,400 文字)
【背景技術】
【0002】
半導体の実装において、半導体素子を封止する非導電性の封止材、熱伝導シート、放熱充填剤等の電子部品又はその基板に用いられる非導電性材料の絶縁性能は、原材料に含まれる主に鉄成分からなる導電性異物等の存在によって劣化することがある。例えば導電性異物の存在は、素子回路間の短絡現象などにより品質保証上の問題の原因とされうる。半導体素子の回路幅は極めて細いことが多いため、これを電気的に架橋してしまう導電性異物は微細であっても可能な限り除去することが求められる。
【0003】
導電性異物の多くは鉄を主成分とする磁性導電体であり、非導電性材料の多くは非磁性材料であることから、その除去には磁気によって分離する方法が有効である。
特許文献1には、磁性金属異物を含む液体を、磁石の表面に接触させながら斜面に沿って上部から下部に向かって流すことで、液体中に含まれる磁性金属異物を捕捉する捕捉装置が開示されている。
【先行技術文献】
【特許文献】
【0004】
特開2011-005397号公報
【発明の概要】
【発明が解決しようとする課題】
【0005】
特に近年、半導体パッケージの小型化及び高性能化が進むことに伴って、配線間及び素子間のピッチが狭くなっている。そのような半導体パッケージにおいても配線等の短絡不良が抑制される封止用樹脂組成物を効率的に得るため、磁性異物と非磁性材料との混合物から磁性異物を効率的に除去する方法が求められている。
本開示の一形態は、磁性異物と非磁性材料との混合物から磁性異物を効率的に除去する磁性異物分離装置及び磁性異物分離方法を提供することを目的とする。
また、本開示の他の一形態は、配線の短絡不良を抑制する封止用樹脂組成物が得られる封止用樹脂組成物の製造方法を提供することを目的とする。
【課題を解決するための手段】
【0006】
前記課題を達成するための具体的手段は以下の形態を含む。
<1>
分離槽と、
前記分離槽の内部に配置され、回転軸を有する支持部材と前記支持部材の側面に設けられた撹拌翼とを有する撹拌部材と、
前記分離槽の内部において、前記支持部材の回転軸延長方向のうち前記支持部材に対して重力方向の下側に配置された第1の磁石と、
を有する、磁性異物分離装置。
<2>
前記分離槽の内部において、前記支持部材の径方向外側に配置された第2の磁石をさらに有する、<1>に記載の磁性異物分離装置。
<3>
前記第1の磁石は、柱状であり、側面に磁力を有する、<1>又は<2>に記載の磁性異物分離装置。
<4>
磁性異物を含有する材料と分散媒とを含む分散液を、<1>~<3>のいずれか1つに記載の磁性異物分離装置の前記分離槽に供給することと、
前記撹拌部材により前記分散液を撹拌することで、前記分散液から前記磁性異物を分離することと、
を含む、磁性異物分離方法。
<5>
磁性異物を含有する無機充填材と分散媒とを含む分散液を、<1>~<3>のいずれか1つに記載の磁性異物分離装置の前記分離槽に供給することと、
前記撹拌部材により前記分散液を撹拌することで、前記分散液から前記磁性異物を分離し、前記無機充填材の精製体の分散液を得ることと、
前記無機充填材の精製体と樹脂とを混合することと、
を含む、封止用樹脂組成物の製造方法。
<6>
磁性異物と無機充填材と樹脂と分散媒とを含む分散液を、<1>~<3>のいずれか1つに記載の磁性異物分離装置の前記分離槽に供給することと、
前記撹拌部材により前記分散液を撹拌することで、前記分散液から前記磁性異物を分離し、前記分散液の精製体を得ることと、
前記分散液の精製体から前記分散媒を除去することと、
を含む、封止用樹脂組成物の製造方法。
【発明の効果】
【0007】
本開示の一形態によれば、磁性異物と非磁性材料との混合物から磁性異物を効率的に除去する磁性異物分離装置及び磁性異物分離方法が提供される。
また、本開示の他の一形態によれば、配線の短絡不良を抑制する封止用樹脂組成物が得られる封止用樹脂組成物の製造方法が提供される。
【図面の簡単な説明】
【0008】
本開示の一実施形態における磁性異物分離装置の一例を示す概略構成図である。
【発明を実施するための形態】
【0009】
本開示において「~」を用いて示された数値範囲には、「~」の前後に記載される数値がそれぞれ最小値及び最大値として含まれる。
本開示中に段階的に記載されている数値範囲において、一つの数値範囲で記載された上限値又は下限値は、他の段階的な記載の数値範囲の上限値又は下限値に置き換えてもよい。また、本開示中に記載されている数値範囲において、その数値範囲の上限値又は下限値は、試験例に示されている値に置き換えてもよい。
本開示において実施形態を図面を参照して説明する場合、当該実施形態の構成は図面に示された構成に限定されない。また、各図における部材の大きさは概念的なものであり、部材間の大きさの相対的な関係はこれに限定されない。
【0010】
以下、本開示を実施するための形態について詳細に説明する。但し、本開示は以下の実施形態に限定されるものではない。以下の実施形態において、その構成要素(要素ステップ等も含む)は、特に明示した場合を除き、必須ではない。数値及びその範囲についても同様であり、本開示を制限するものではない。
(【0011】以降は省略されています)
この特許をJ-PlatPat(特許庁公式サイト)で参照する
関連特許
株式会社レゾナック
繊維強化樹脂のリサイクル方法
5日前
株式会社きんでん
磁性体除去具
6日前
アマノ株式会社
荷電装置
1か月前
富士レビオ株式会社
集磁システム
27日前
富士電機株式会社
ガス処理システム
3か月前
鈴健興業株式会社
湿式選別システムおよび湿式選別方法
1か月前
個人
水流式選別装置
4か月前
日本永磁株式会社
磁性異物除去装置
2か月前
パナソニックIPマネジメント株式会社
電気集塵装置
2か月前
日本永磁株式会社
磁性異物除去装置
3か月前
冨士色素株式会社
磁性体を含む粉体の磁気選別方法及び装置
5か月前
株式会社SCREENホールディングス
分離チップ
3か月前
株式会社SCREENホールディングス
分離チップ
3か月前
雪印メグミルク株式会社
泡沫分離装置および泡沫分離方法
7日前
JFEスチール株式会社
エアテーブル型密度分離装置及び分離方法
11日前
雪印メグミルク株式会社
泡沫分離装置および泡沫分離方法
7日前
国立研究開発法人産業技術総合研究所
湿式比重選別機
5か月前
三星電子株式会社
電気集塵装置
2か月前
国立大学法人 名古屋工業大学
帯電状態の切り替えにより花粉を吸着する金網およびこれを備えた網戸
2か月前
プライムプラネットエナジー&ソリューションズ株式会社
金属捕集器およびその利用
5か月前
JFEスチール株式会社
スローピングシュート、シュート装置及び、粒状物の分級方法
5か月前
三星電子株式会社
帯電装置及び電気集塵装置
2か月前
住友化学株式会社
浮選剤およびヒ素非含有銅鉱物の回収方法
3か月前
株式会社レゾナック
磁性異物分離装置、磁性異物分離方法、及び封止用樹脂組成物の製造方法
1か月前
学校法人 芝浦工業大学
磁性異物粉分離装置及び磁性異物粉分離方法
5か月前
広東美的環境電器制造有限公司
ファン
3か月前
財團法人工業技術研究院
磁性物質分離装置
3か月前
財團法人工業技術研究院
磁性物質分離装置
3か月前
ブレイクスルー・テクノロジーズ・エルエルシー
蒸気の凝縮
4か月前
バイオジェン インターナショナル ニューロサイエンス ゲーエムベーハー
アルツハイマー病を治療する方法
13日前
東京応化工業株式会社
レジスト組成物、レジストパターン形成方法、化合物、及び酸発生剤
1か月前
東京応化工業株式会社
レジスト組成物、レジストパターン形成方法、化合物、及び酸発生剤
1か月前
ザ・ボーイング・カンパニー
非同期テレメトリ帯域幅シミュレータのためのシステム及び方法
5か月前
ザ・ボーイング・カンパニー
テレメトリ対話型順列行列のシステム及び方法
7日前
トリデルタ メイデンシャ ゲーエムベーハー
サージ・アレスタの状態を評価するためのコンピュータ実装方法
5か月前
カルトス セラピューティクス,インコーポレイテッド
骨髄増殖性腫瘍を治療する方法
5か月前
続きを見る
他の特許を見る