TOP
|
特許
|
意匠
|
商標
特許ウォッチ
Twitter
他の特許を見る
10個以上の画像は省略されています。
公開番号
2025161593
公報種別
公開特許公報(A)
公開日
2025-10-24
出願番号
2024064911
出願日
2024-04-12
発明の名称
エアテーブル型密度分離装置及び分離方法
出願人
JFEスチール株式会社
代理人
個人
,
個人
,
個人
,
個人
主分類
B03B
4/02 20060101AFI20251017BHJP(液体による,または,風力テーブルまたはジグによる固体物質の分離;固体物質または流体から固体物質の磁気または静電気による分離,高圧電界による分離)
要約
【課題】粒径が小さく、かつ、3種類以上の粒子を各種類に分離する精度を向上できるエアテーブル型密度分離装置及び分離方法を提供する。
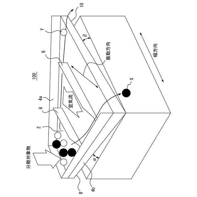
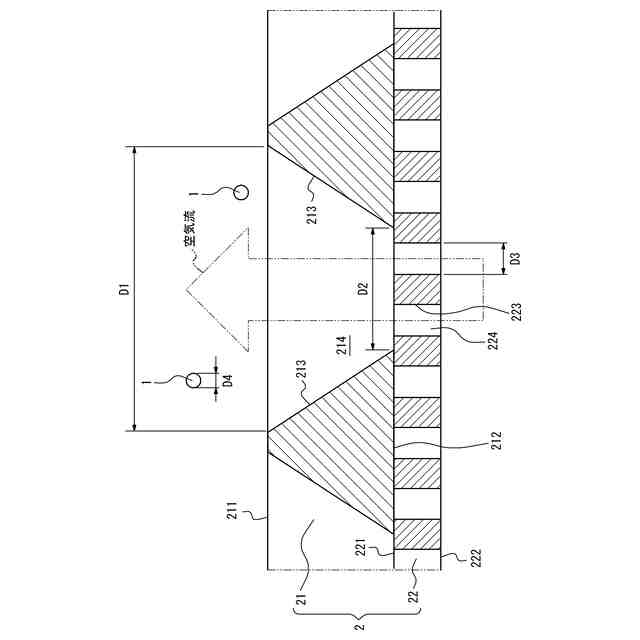
【解決手段】エアテーブル型密度分離装置100は、複数の分離対象物の投入口から第1方向及び第2方向のそれぞれに向かって低くなるように傾斜する第1底板21と、第1底板21の上で第2方向に延在する少なくとも1枚の邪魔板6とを備える。第1底板21は、裏面212から表面211に向けて吹き出すガスが通過する第1孔214を有する。第1底板21の裏面212における第1孔214の径D2は、複数の分離対象物のうち少なくとも一部の分離対象物よりも大きい。第1底板21の表面211における第1孔214の径D1は、第1底板21の裏面212における第1孔214の径D2よりも大きい。
【選択図】図2C
特許請求の範囲
【請求項1】
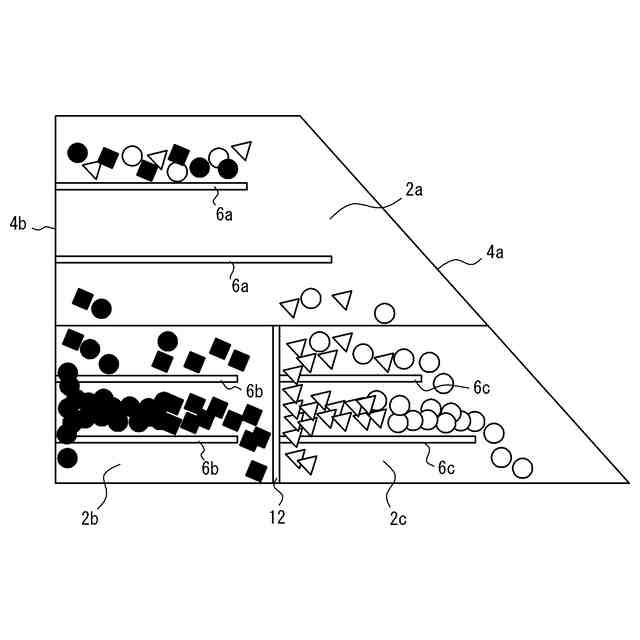
複数の分離対象物の投入口から前記複数の分離対象物が流れる第1方向及び前記第1方向に交差する第2方向のそれぞれに向かって低くなるように傾斜する第1底板と、
前記第1底板の上で前記第2方向に延在する少なくとも1枚の邪魔板と
を備え、
前記第1底板は、裏面から表面に向けて吹き出すガスが通過する第1孔を有し、
前記第1底板の裏面における前記第1孔の径は、前記複数の分離対象物のうち少なくとも一部の分離対象物よりも大きく、
前記第1底板の表面における前記第1孔の径は、前記第1底板の裏面における前記第1孔の径よりも大きい、
エアテーブル型密度分離装置。
続きを表示(約 750 文字)
【請求項2】
前記第1底板の裏面側に位置する第2底板を更に備え、
前記第2底板は、ガスが通過する第2孔を有し、
前記第2孔の径は、前記第1底板の裏面における前記第1孔の径よりも小さい、
請求項1に記載のエアテーブル型密度分離装置。
【請求項3】
前記複数の分離対象物の直径は、0.01mm~0.5mmであり、
前記邪魔板の、前記第1底板からの高さは、5.0mm~7.5mmである、
請求項2に記載のエアテーブル型密度分離装置。
【請求項4】
前記複数の分離対象物は、使用済み耐火物である、請求項1から3までのいずれか一項に記載のエアテーブル型密度分離装置。
【請求項5】
複数の分離対象物の投入口から前記複数の分離対象物が流れる第1方向及び前記第1方向に交差する第2方向のそれぞれに向かって低くなるように傾斜する第1底板と、前記第1底板の上で前記第2方向に延在する少なくとも1枚の邪魔板とを備え、前記第1底板の裏面から表面に向けて貫通する孔であって、前記第1底板の裏面における径が前記複数の分離対象物のうち少なくとも一部の分離対象物よりも大きく、かつ、前記第1底板の表面における径が前記第1底板の裏面における径よりも大きい第1孔を有する装置を用いて前記複数の分離対象物を密度別に分離する方法であって、
前記投入口に前記複数の分離対象物を投入するステップと、
前記第1孔の裏面から表面に向けてガスを流すステップと、
前記第1底板を振動させるステップと、
前記第1底板の前記投入口と反対側において、前記複数の分離対象物を密度別に分離して回収するステップと
を含む、分離方法。
発明の詳細な説明
【技術分野】
【0001】
本開示は、粒子を密度差に応じて分離するエアテーブル型密度分離装置及び分離方法に関する。
続きを表示(約 1,700 文字)
【背景技術】
【0002】
製銑工程において溶銑の流れる樋を形成する高炉樋耐火物は溶損又は損耗が進んだ場合に解体される。高炉樋耐火物の解体によって、スラグライン(SL)材、メタルライン(ML)材、及び、スラグ材の3種類の成分が混在する原料が発生する。スラグ材を含む原料で高炉樋耐火物を形成した場合、高炉樋耐火物の品位が安定しない。したがって、スラグ材を含む原料は、リサイクルした耐火物原料として使用することが困難であり、主に産業廃棄物として処理される。
【0003】
しかしながら、SL材又はML材は、耐火物としての能力に富んだ素材である。SL材又はML材を安定した状態で分離して回収することによって、SL材又はML材が耐火物原料としてリサイクルされることが望ましい。SL材、ML材、及びスラグ材の3種類の成分は、色合いが酷似している。したがって、成分の色合いに基づく色彩選別法を用いてSL材、ML材、及びスラグ材の3種類の成分を分離することは困難である。
【0004】
SL材、ML材、及びスラグ材の3種類の成分を分離するために、特許文献1に示されるように、各成分の密度差を利用する手法が知られている。特許文献1に示されるエアテーブル型密度分離装置は、所定角度で傾斜するテーブル面を所定方向に振動させつつ、テーブル面に設けられている孔から空気を吹き出して空気流を与えることによって、異なる密度の粒子を密度差に応じて分離できる。具体的に、低密度の粒子は、空気流によって浮上し、振動するテーブル面との摩擦が小さくなることによって、傾斜するテーブル面において低くなっている方に移動する。一方で、高密度の粒子は、低密度の粒子よりも浮上しにくく、低密度の粒子よりも振動するテーブル面との摩擦が大きくなることによって、傾斜するテーブル面において高くなっている方に移動する。各密度の粒子が移動する高さに応じて邪魔板を設定することによって、各密度の粒子を分離できる。その結果、エアテーブル型密度分離装置は、3種類以上の粒子を密度差に応じて分離できる。
【0005】
他の分離手法として、特許文献2に示されるように、サイクロン分離器を用いる手法が知られている。
【先行技術文献】
【特許文献】
【0006】
特許第7270404号公報
特開昭62-129165号公報
【発明の概要】
【発明が解決しようとする課題】
【0007】
特許文献1のエアテーブル型密度分離装置は、テーブル面から十分な量の空気を吹き出すために、空気を吹き出すための孔の径を所定値以上にする必要がある。しかし、所定値未満の径の粒子は、空気を吹き出すための孔を通って落下することがある。粒子が孔を通って落下する場合、その粒子を分離することができない。つまり、特許文献1のエアテーブル型密度分離装置は、小さい径の粒子を分離することが難しい。
【0008】
特許文献2のサイクロン分離器は、3種類以上の成分を分離することが難しい。
【0009】
そこで、本開示は、粒径が小さく、かつ、3種類以上の粒子を各種類に分離する精度を向上できるエアテーブル型密度分離装置及び分離方法を提供することを目的とする。
【課題を解決するための手段】
【0010】
(1)本開示の一実施形態に係るエアテーブル型密度分離装置は、複数の分離対象物の投入口から前記複数の分離対象物が流れる第1方向及び前記第1方向に交差する第2方向のそれぞれに向かって低くなるように傾斜する第1底板と、前記第1底板の上で前記第2方向に延在する少なくとも1枚の邪魔板とを備える。前記第1底板は、裏面から表面に向けて吹き出すガスが通過する第1孔を有する。前記第1底板の裏面における前記第1孔の径は、前記複数の分離対象物のうち少なくとも一部の分離対象物よりも大きい。前記第1底板の表面における前記第1孔の径は、前記第1底板の裏面における前記第1孔の径よりも大きい。
(【0011】以降は省略されています)
この特許をJ-PlatPat(特許庁公式サイト)で参照する
関連特許
JFEスチール株式会社
遅れ破壊試験方法
11日前
JFEスチール株式会社
残留投射材の除去装置
今日
JFEスチール株式会社
鋼板およびその製造方法
今日
JFEスチール株式会社
プレス成形品の製造方法
7日前
JFEスチール株式会社
アルミキルド鋼の製造方法
14日前
JFEスチール株式会社
厚さ計測方法及び厚さ計測装置
14日前
JFEスチール株式会社
鋼板、その製造方法およびスラブ
14日前
JFEスチール株式会社
情報処理装置、および情報処理方法
6日前
JFEスチール株式会社
集塵機及び、ろ布の損傷状態認定方法
今日
JFEスチール株式会社
構造物の損傷検出装置及び損傷検出方法
4日前
JFEスチール株式会社
回収装置、回収システム、及び回収方法
11日前
JFEスチール株式会社
有価元素の回収方法および金属の製造方法
14日前
JFEスチール株式会社
エアテーブル型密度分離装置及び分離方法
4日前
JFEスチール株式会社
表面粗度測定装置および表面粗度測定方法
5日前
JFEスチール株式会社
金属帯の加工設備、および、金属帯の加工方法
4日前
JFEスチール株式会社
粒度判定装置、粒度判定方法及び造粒物の製造方法
5日前
JFEスチール株式会社
演算装置、物理演算装置、演算方法、及び演算プログラム
13日前
JFEスチール株式会社
黒鉛の精製方法
11日前
JFEスチール株式会社
圧延素材決定装置、圧延素材決定方法および板材製品の製造方法
7日前
JFEスチール株式会社
き裂解析方法、プログラム、材料設計支援方法及び材料設計方法
1日前
JFEスチール株式会社
コークスの製造方法
14日前
JFEスチール株式会社
原子モデル生成方法、プログラム、材料設計支援方法及び材料設計方法
1日前
JFEスチール株式会社
金属板の反り測定方法、反り制御方法、製造方法、反り測定装置、及びプログラム
14日前
JFEスチール株式会社
情報検索方法および情報検索システム
11日前
JFEスチール株式会社
金属板材の衝突性能評価方法、衝撃吸収部材の設計方法および衝撃吸収部材の製造方法
14日前
株式会社NICHIJO
パレット検出装置、パレット検出方法及びパレット検出プログラム
1日前
JFEスチール株式会社
穿孔荷重予測方法、穿孔圧延機の制御方法、穿孔荷重予測モデルの生成方法、及び管製造設備
6日前
アマノ株式会社
荷電装置
25日前
富士レビオ株式会社
集磁システム
20日前
富士電機株式会社
ガス処理システム
2か月前
個人
水流式選別装置
4か月前
鈴健興業株式会社
湿式選別システムおよび湿式選別方法
1か月前
日本永磁株式会社
磁性異物除去装置
2か月前
パナソニックIPマネジメント株式会社
電気集塵装置
1か月前
日本永磁株式会社
磁性異物除去装置
2か月前
株式会社SCREENホールディングス
分離チップ
3か月前
続きを見る
他の特許を見る