TOP
|
特許
|
意匠
|
商標
特許ウォッチ
Twitter
他の特許を見る
公開番号
2025177733
公報種別
公開特許公報(A)
公開日
2025-12-05
出願番号
2024084802
出願日
2024-05-24
発明の名称
液体中の固形分を分離する装置
出願人
株式会社氣工社
代理人
個人
,
個人
主分類
B03B
5/34 20060101AFI20251128BHJP(液体による,または,風力テーブルまたはジグによる固体物質の分離;固体物質または流体から固体物質の磁気または静電気による分離,高圧電界による分離)
要約
【課題】液体中の固形分を分離する装置において、従来よりも分級または分離精度を向上させることである。
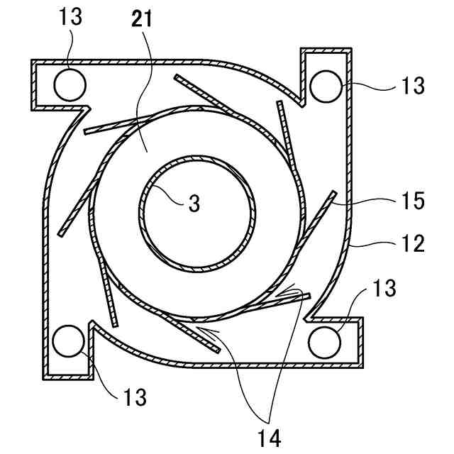
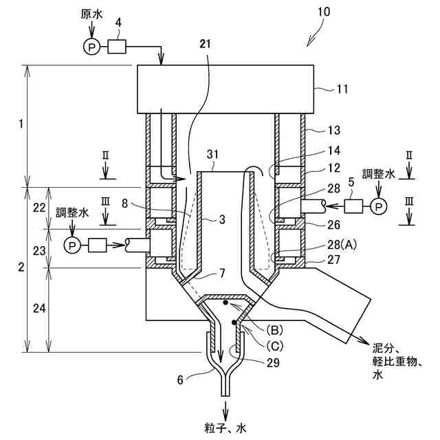
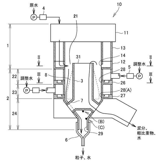
【解決手段】本発明の液体中の固形分を分離する装置は、円柱状の内部空間21を有する本体2と、内部空間21の中央に設けられた内筒3と、内部空間21の側壁に沿って旋回するように固形分を含む液体を供給する処理対象物供給部1と、を備える。内筒3は、内部空間21内の液体が内筒3の上端のオーバーフロー堰31を超えて当該内筒3の内部に落ちるとともに、内筒3の下端に接続されたオーバーフロー排出路7を通って本体2の外部に排出されるように、設けられている。内部空間21の側壁には、固形分の沈降状態の調整用の液体を供給する調整液供給口28が、固形分を含む液体を供給する高さよりも低い位置に設けられている。内部空間21の下端には、沈降した固形分を内部空間21内の液体の一部とともに排出する沈降物排出口29が設けられている。
【選択図】 図1
特許請求の範囲
【請求項1】
液体中の固形分を分離する装置であって、
円柱状の内部空間を有する本体と、
前記内部空間の中央に設けられた内筒と、
前記内部空間の側壁に沿って旋回するように固形分を含む液体を供給する処理対象物供給部と、を備え、
前記内筒は、前記内部空間内の液体が前記内筒の上端のオーバーフロー堰を超えて当該内筒の内部に落ちるとともに、前記内筒の下端に接続されたオーバーフロー排出路を通って前記本体の外部に排出されるように、設けられており、
前記内部空間の側壁には、固形分の沈降状態の調整用の液体を供給する調整液供給口が、前記固形分を含む液体を供給する高さよりも低い位置に設けられており、
前記内部空間の下端には、沈降した固形分を前記内部空間内の液体の一部とともに排出する沈降物排出口が設けられている、
ことを特徴とする液体中の固形分を分離する装置。
続きを表示(約 480 文字)
【請求項2】
請求項1記載の装置において、前記内筒には、当該内筒の外径を調整するための外径調整部材が着脱可能に設けられることを特徴とする液体中の固形分を分離する装置。
【請求項3】
請求項2記載の装置において、前記外径調整部材は、前記内筒の外周に設けられる円錐台形状であり、前記内筒の下部の外径が上部の外径よりも大きくなるように形成されている、ことを特徴とする液体中の固形分を分離する装置。
【請求項4】
請求項1記載の装置において、前記調整液供給口には、調整用の液体の供給量調整装置が接続されていることを特徴とする液体中の固形分を分離する装置。
【請求項5】
請求項1記載の装置において、前記処理対象物供給部は、前記固形分を含む液体の位置エネルギーを旋回エネルギーに変換する手段を含むことを特徴とする液体中の固形分を分離する装置。
【請求項6】
請求項1記載の装置において、前記処理対象物供給部には、固形分を含む液体の供給量調整装置が接続されていることを特徴とする液体中の固形分を分離する装置。
発明の詳細な説明
【技術分野】
【0001】
本発明は、液体中の固形分を分離する装置に関する。
続きを表示(約 1,900 文字)
【背景技術】
【0002】
例えば、砂利採取場や砕石場において、原水には、様々な大きさの粒子(砂など)の他に、泥分(砂よりも小さい微粒子)や軽比重物が含まれており、このような原水から所望の大きさの粒子を骨材として選別するために、分級機や異物除去装置などの装置を用いている。
また、例えば希少金属のリサイクルでは、電子回路基板などの粉砕物に含まれる金属を、酸やアルカリ液で溶解した後、その金属溶出液と溶解残渣物の混合物から溶解残渣物を取り除いたり、金属溶出液から析出沈殿物を取り除いたりするための装置を用いている。
【0003】
前者の骨材生産の現場では、その原料の採取場所によって原水に異なった特徴がある。
1.良質な骨材である川砂利・砂は、近年の採取規則により使用量が激減している。
2.旧河川敷の田畑の表土を剥がして採取する陸砂利・砂は、泥を多く含み、十分な洗浄を必要とする。また、木片、木の根、枝、葉などの軽比重物が混入している場合が多く、適宜、選別して除去する必要がある。
3.旧河床や海底が隆起して出来た丘陵地の砂礫層から採取される山砂利・砂も泥を多く含み、十分な洗浄を必要とする。また、軽石や貝殻片などの軽比重物が混入している場合があり、適宜、選別して除去する必要がある。
4.最近では、河川やダムの浚渫工事で発生する浚渫土砂から、砂利・砂を採取して有効利用することもある。しかし、浚渫土砂には、特に、木片、木の根、枝、葉などの軽比重物が混入している場合が多く、適宜、選別して除去する必要がある。
【0004】
骨材の生産設備には、従来、特許文献1のような分級脱水機が広く使われてきた。しかし、上記のように原料の採取場所によって様々な特徴があり、特に泥(シルト、粘土など)や軽比重物などが多い原料から高品質の骨材を安定して生産するには、分級脱水機に投入する前に、分級タンクや特許文献2のような比重選別装置による前処理をする場合が多かった。
【0005】
特許文献2の比重選別装置について詳しく説明する。本体上面中央部には、原水を受け入れる供給口があり、本体上面の外周部には、泥分や軽比重物を余剰水と一緒に排出するオーバーフロー堰および樋がある。また、本体下面には、本体内を沈降した粒子を水と一緒に排出するアンダー排出口がある。
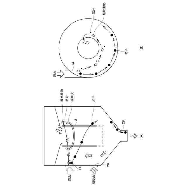
供給口からの水の一部はアンダー排出口からも排出されるが、アンダー排出口より排出しきれない余剰水は本体内を上昇してオーバーフロー堰よりオーバーフローする。このようにアンダー側の排出量とオーバーフロー側の排出量が原水の供給量とバランスして運転が継続される。
【0006】
原水中の粒子は、その粒子径に応じてストークスの式に代表される等速沈降速度に近い速度で本体内に沈殿しようとするが、オーバーフローによる上昇流速の影響を受けてしまう。等速沈降速度が上昇流速より十分に速い粒子は、沈殿しやすい。逆に等速沈降速度が上昇流速と同等かそれよりも遅い粒子は、上昇流の流れで押し上げられてオーバーフローによって機外に排出されやすい。
【0007】
また、木片、木の根、枝、葉などの軽比重物は、既に十分に吸湿していて水面に浮くことは極稀であり、沈みやすい。しかし、このような軽比重物は骨材より低密度であるので、上昇流によって押し上げられて、オーバーフロー側から排出されやすくなる。
【0008】
以上のように、特許文献2の装置では、オーバーフロー側からの排出物には、泥分、軽比重物などが多く含まれ、アンダー側からの排出物には、砂などの粒子が多く含まれる。アンダー側への泥分、軽比重物などの混入は低減される。
【先行技術文献】
【特許文献】
【0009】
特開昭62-258762号公報
実公平04-040744号公報
【発明の概要】
【発明が解決しようとする課題】
【0010】
しかし、特許文献2の比重選別装置においても、一部の泥分や軽比重物がアンダー側へ混入したり、良質な粒子の一部がオーバーフロー側へ流出したりすることがあり、分級・分離精度を向上させる上で、改善の余地があった。このような課題は、特許文献2のような骨材生産用の比重選別装置に限られるものではなく、上述した希少金属のリサイクル分野の装置や、その他の分野の装置にも当て嵌まる。つまり、液体中の固形分を分離する装置に共通する課題である。
(【0011】以降は省略されています)
この特許をJ-PlatPat(特許庁公式サイト)で参照する
関連特許
株式会社氣工社
液体中の固形分を分離する装置
1日前
株式会社きんでん
磁性体除去具
1か月前
アマノ株式会社
荷電装置
2か月前
富士レビオ株式会社
集磁システム
1か月前
ダイカテック株式会社
磁性物除去装置及び清掃用治具
1日前
株式会社氣工社
液体中の固形分を分離する装置
1日前
鈴健興業株式会社
湿式選別システムおよび湿式選別方法
2か月前
三菱電機株式会社
空気清浄装置
24日前
日本永磁株式会社
磁性異物除去装置
4か月前
日本永磁株式会社
磁性異物除去装置
3か月前
パナソニックIPマネジメント株式会社
電気集塵装置
3か月前
国立大学法人東海国立大学機構
気体分離装置
16日前
三菱電機株式会社
集塵装置および換気システム
9日前
雪印メグミルク株式会社
泡沫分離装置および泡沫分離方法
1か月前
雪印メグミルク株式会社
泡沫分離装置および泡沫分離方法
1か月前
JFEスチール株式会社
エアテーブル型密度分離装置及び分離方法
1か月前
国立大学法人 名古屋工業大学
帯電状態の切り替えにより花粉を吸着する金網およびこれを備えた網戸
3か月前
三星電子株式会社
電気集塵装置
3か月前
日本キヤリア株式会社
電気集塵機、および空気調和機の室内ユニット
1日前
三星電子株式会社
帯電装置及び電気集塵装置
3か月前
株式会社レゾナック
磁性異物分離装置、磁性異物分離方法、及び封止用樹脂組成物の製造方法
2か月前
広東美的環境電器制造有限公司
ファン
4か月前
醫華生技股フン有限公司
微粒子収容装置、非接触型微粒子処理機器及びその光感知構造体
17日前
バイオジェン インターナショナル ニューロサイエンス ゲーエムベーハー
アルツハイマー病を治療する方法
1か月前
バイオジェン・エムエイ・インコーポレイテッド
抗ベータアミロイド抗体を含有する医薬組成物
5日前
東京応化工業株式会社
レジスト組成物、レジストパターン形成方法、化合物、及び酸発生剤
2か月前
東京応化工業株式会社
レジスト組成物、レジストパターン形成方法、化合物、及び酸発生剤
2か月前
ザ・ボーイング・カンパニー
テレメトリ対話型順列行列のシステム及び方法
1か月前
アークタラス テラピュウティクス、インク
アンチコドンループを延長した合成転移RNA
2か月前
他の特許を見る