TOP
|
特許
|
意匠
|
商標
特許ウォッチ
Twitter
他の特許を見る
公開番号
2025170761
公報種別
公開特許公報(A)
公開日
2025-11-19
出願番号
2025076051
出願日
2025-05-01
発明の名称
油圧アクチュエータへの圧力供給用の油圧システム
出願人
リープヘル-ヴェルク エーインゲン ゲーエムベーハー
,
Liebherr-Werk EhingenGmbH
代理人
弁理士法人前田特許事務所
主分類
F15B
11/08 20060101AFI20251112BHJP(流体圧アクチュエータ;水力学または空気力学一般)
要約
【課題】小型で軽量な油圧アクチュエータへの圧力供給用の油圧システムを提供する。
【解決手段】油圧ポンプ12により加圧が可能な第1圧力チャンバ21と第2圧力チャンバ22とを備えた複動式の油圧シリンダ20と、急速移動モードにおいて2つの圧力チャンバを油圧的に接続して一方の圧力チャンバから押し出された作動油を他方の圧力チャンバに流入させ、通常移動モードにおいて2つの圧力チャンバを油圧的に互いに分離する急速移動装置52,66,70とを備える。
【選択図】図1
特許請求の範囲
【請求項1】
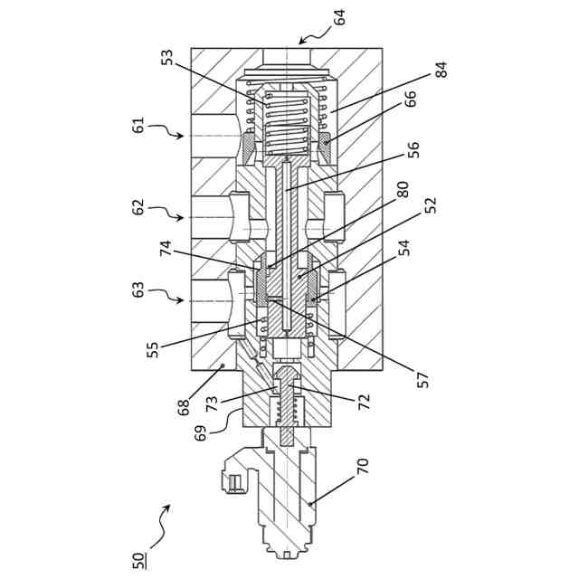
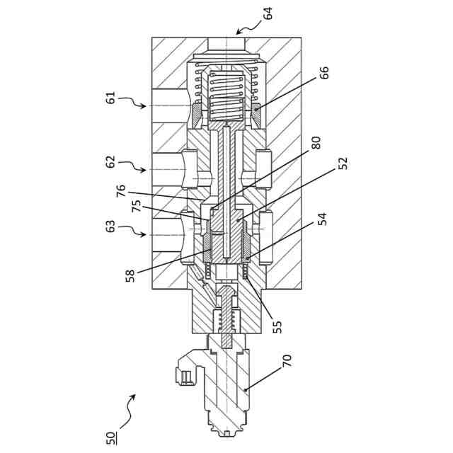
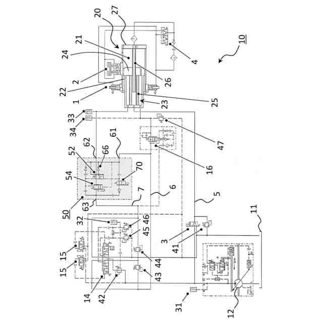
油圧アクチュエータ(1、2)への圧力供給用の油圧システム(10)であって、油圧ポンプ(12)により加圧が可能な第1圧力チャンバ(21)と第2圧力チャンバ(22)とを備えた複動式の油圧シリンダ(20)と、急速移動モードにおいて第1,第2圧力チャンバ(21、22)を油圧的に接続して一方の圧力チャンバ(22)から押し出された作動油を他方の圧力チャンバ(21)に流入させ、通常移動モードにおいて2つの圧力チャンバ(21、22)を油圧的に互いに分離する急速移動装置とを備え、
前記急速移動装置は、前記油圧システム(10)のバルブユニット(50)に一体化され、前記バルブユニットは、第1,第2接続部(61,62)を介して前記第1,第2圧力チャンバ(21、22)に接続され、かつ前記油圧ポンプ(12)により加圧が可能な第3接続部(63)を備え、前記バルブユニット(50)は、移動可能に装着されたシフトピストン(52)を備え、前記シフトピストン(52)は、通常移動位置において第1接続部(61)と第2接続部(62)を互いに油圧的に分離し、急速移動位置において第1接続部(61)と第2接続部(62)を互いに油圧的に接続してこれらを第3接続部(63)から分離し、さらに、前記バルブユニット(50)には、切り換え可能なプリロード要素(54)を有するプリロード手段が一体化され、前記プリロード要素は、ロック位置において前記第3接続部(63)を前記第2接続部(62)から分離し、それによって前記第2接続部(62)に接続された前記圧力チャンバ(22)を外部に対してロックするように構成されている
ことを特徴とする油圧システム(10)。
続きを表示(約 2,500 文字)
【請求項2】
請求項1に記載の油圧システム(10)において、
前記バルブユニット(50)は、好ましくは電気的に制御可能な作動ユニット(70)、特にソレノイドバルブを備え、この作動ユニットにより前記シフトピストン(52)が通常移動位置と急速移動位置の間で移動可能であり、前記シフトピストン(52)は、第1プリロード装置(53)により通常移動位置にプリロードされ、前記作動ユニット(70)により急速移動位置に移動可能である
油圧システム(10)。
【請求項3】
請求項1または2に記載の油圧システム(10)において、
前記プリロード要素(54)は、前記シフトピストン(52)を包囲するとともに前記シフトピストン(52)に対して移動可能に装着されたスリーブとして構成され、前記スリーブ(54)は好ましくは前記第3接続部(63)の領域に配置されている
油圧システム(10)。
【請求項4】
請求項1から3いずれか1項に記載の油圧システム(10)において、
前記シフトピストン(52)は、その移動方向に沿って延びる流路(56)を有し、前記流路は、前記スリーブ(54)の領域で径方向外側へ導かれて前記シフトピストン(52)と前記スリーブ(54)との間に形成された環状チャンバ(58)に連通し、好ましくは前記流路(56)の開口部は前記第1接続部(61)の領域で前記シフトピストン(52)に配置され、前記環状チャンバ(58)は、特に前記シフトピストン(52)の位置にかかわらず前記第1接続部(61)と油圧的に接続される
油圧システム(10)。
【請求項5】
請求項1から4のいずれか1項に記載の油圧システム(10)において、
前記プリロード要素(54)は、第2プリロード装置(55)によってロック位置にプリロードされ、且つ通常移動モードで前記第1接続部(61)または前記第3接続部(63)への加圧により、前記第2接続部(62)および前記第3接続部(63)が油圧的に接続される開位置に移動可能である
油圧システム(10)。
【請求項6】
請求項1から5のいずれか1項に記載の油圧システム(10)において、
前記バルブユニット(50)は、前記第1接続部と前記第2接続部の間に配置された逆止弁(66)を備え、前記逆止弁(66)は、前記シフトピストン(52)の急速移動位置において、前記第2接続部(62)から前記第1接続部(61)への作動油の流れを許容し、前記第1接続部(61)から前記第2接続部(62)への作動油の流れを阻止するように構成され、前記逆止弁(66)は、好ましくは前記シフトピストン(52)を環状に包囲するとともに前記シフトピストン(52)に対して移動可能に装着された弁体を有している
油圧システム(10)。
【請求項7】
請求項1から6のいずれか1項に記載の油圧システム(10)において、
油圧シリンダ(20)の収縮及び伸長のための制御弁(14)を備え、前記制御弁は、前記油圧ポンプ(12)に接続された第1入口、好ましくは油圧タンク(11)に接続された第2入口、および前記油圧シリンダ(20)の圧力チャンバ(21、22)に接続された2つの出口を有し、特に前記出口の1つが前記バルブユニット(50)の第1接続部(61)に接続され、および/または前記出口の1つが前記バルブユニット(50)の第3接続部(63)に接続されている
油圧システム(10)。
【請求項8】
請求項1から7のいずれか1項に記載の油圧システム(10)において、
前記シフトピストン(52)を移動させる作動ユニット(70)を急速移動モードと通常移動モードに切り換える制御が可能な制御ユニットを備え、前記制御ユニットは、特に、前記油圧システム(10)における少なくとも1つの圧力測定値に基づいて前記油圧シリンダ(20)の負荷を検出して、これを少なくとも1つの保存された特性値と比較するように構成され、好ましくは、前記制御ユニットは、さらに急速移動モードから通常移動モードへの切り換え前、またはその逆の切り換え前に、その切り換えによってその後に生じる負荷を検出して、これを少なくとも1つの保存された特性値と比較し、その比較に基づいて切り換えが実行可能か否かを決定する
油圧システム(10)。
【請求項9】
請求項1から8のいずれか1項に記載の油圧システム(10)において、
前記バルブユニット(50)と前記圧力チャンバ(21)の1つとの間に配置された下降制動弁(16)を備え、前記下降制動弁(16)は、第1切り換え位置において前記圧力チャンバ(21)からの作動油の逆流を阻止し、好ましくは、特に内蔵された逆止弁により前記圧力チャンバ(21)への作動油の流れを許容し、前記下降制動弁(16)は第2切り換え位置において前記圧力チャンバ(21)からの作動油の逆流を許可する
油圧システム(10)。
【請求項10】
請求項1から9のいずれか1項に記載の油圧システム(10)において、
前記油圧シリンダ(20)は、ピストン(24)と、パイプ貫通部(25、26)を有するピストンロッド(23)とを備え、前記油圧アクチュエータ(1、2)への圧力供給は前記パイプ貫通部(25、26)を介して行われ、前記ピストンロッド(23)は好ましくは前記油圧シリンダ(20)のシリンダハウジング(27)の一側から導出され、前記第2接続部(62)には前記ピストンロッド(23)の側に形成された環状チャンバ(22)が接続され、前記バルブユニット(50)の第1接続部(61)には前記ピストン(24)の反対側に形成されたピストンチャンバ(21)が接続されている
油圧システム(10)。
(【請求項11】以降は省略されています)
発明の詳細な説明
【技術分野】
【0001】
本発明は、請求項1の前提部分に記載の油圧システム、およびそのシステムを備えたバルブユニットと作業機械、特に移動式クレーンに関する。
続きを表示(約 2,600 文字)
【背景技術】
【0002】
ピストンシリンダユニットは、シリンダハウジングと、その内部に可動に装着され且つピストンロッドを備えたピストンとを有する。複動式のピストンシリンダユニットの場合、ピストンの両側に圧力チャンバが位置し、一方または他方の圧力チャンバへの加圧により、ピストンロッドが後退(収縮)または伸長する。ピストンロッドが通過する圧力チャンバは、環状のピストン表面のために環状チャンバまたは環状空間と呼ばれ、ピストンロッドが通過しない圧力チャンバはピストンチャンバまたはピストン空間と呼ばれる。ピストンが片側のみにピストンロッドを有する複動式ピストンシリンダユニットは、差動シリンダと呼ばれる。
【0003】
このようなピストンシリンダユニットの応用例の一つに、既知の移動式クレーンの伸縮式ブームの伸縮シリンダがある。このような伸縮式ブームは、外側伸縮部と、その内部に移動可能に装着された1つまたは複数の内側伸縮部とを有する。特に大型の伸縮式ブームの場合、伸縮部の伸縮には油圧差動シリンダの形態の単一の伸縮シリンダが使用されることが多く、この油圧式の差動シリンダが内側伸縮部を連続して伸縮させる。この目的のため、伸縮シリンダの一部、通常はピストンロッドが外側伸縮部の基部に接続され、他の部分、通常はシリンダハウジングが外側伸縮部に対して伸縮して各圧力チャンバに圧力を加える。対応する油圧ラインは、一般にピストンロッドを通って圧力チャンバに導かれる。
【0004】
個々の伸縮部を動作可能にするため、伸縮シリンダを適宜それらに接続する必要がある。この目的のため、通常は伸縮シリンダ、特にハウジングのピストンロッド側端部またはカラーにロック装置(いわゆるロックヘッド)が設けられ、このロック装置は複数のスプリングリターン式駆動ピンを介して各内側伸縮部内に係合して押し出され、それによって伸縮部が伸縮シリンダと共に伸長するように構成されている。さらに、個々の伸縮部は、伸縮部にスプリングで支持されたロックボルトにより、所定の排出位置で互いにロックすることができる。ロックボルトをロック解除または引き抜くため、通常、ロック装置でロックボルトを把持し、ロック解除位置に移動させることができる。このため、ロック装置は、一般に、伸縮部の内側へ突出するロックボルトのロッドの引き抜き型と係合可能なスプリングリターン式ヨークを具備している。
【0005】
駆動ピンとヨークは、いずれもスプリング要素によりロック位置にプリロードされ(予荷重がかけられ)ており、リターンスプリングのばね力に抗して油圧の力でロック解除位置へ後退させることができる。このための油圧供給は、伸縮シリンダのピストンロッドに統合されたパイプ貫通部を介して行うことができる。このパイプ貫通部は2つの貫通管を備えた構成にすることができ、これらの貫通管は互いに位置移動が可能に取り付けられ、互いにシールされ、シリンダと共に伸縮する。伸縮シリンダが伸長すると、例えば内側の貫通管も伸長してシリンダの伸縮動作を実行する。より大きな直径の外側の貫通管は、ピストンロッドに固定状態で接続できる。伸縮シリンダのシリンダ側の端部では、供給ラインが外部へ導かれ、シリンダの外側を通ってロック装置へ戻る。
【発明の概要】
【発明が解決しようとする課題】
【0006】
この構成における既知の問題は、ボルト接続が解除されている状態(つまりロック解除位置)において、特定の状況下でパイプ貫通部内の圧力が伸縮シリンダの望ましくない伸縮を引き起こす可能性があることで、特に、ブームが水平の位置にある場合、低摩擦の場合、および/または小荷重の場合にこの現象が発生する。この望ましくない動きを防止するため、圧力チャンバの一つ(通常はリング側)に、パイプ貫通部内の圧力に対抗する予荷重を加えて伸長を防止できる。この予荷重は切り換え可能にする必要があり、これは、そうしないと通常の伸縮動作時に予荷重によって不必要に大きな動力損失が生じてしまうためである。このために必要とされる制御ブロックにより、コストと重量の増加に繋がり、設置スペースと、対応する配管設備が必要となる。
【0007】
さらに、この種の伸縮シリンダでは、特にデッドストロークの場合に必要な伸縮時間が障害の要因となる。目標は常に、伸縮時間を最小限に抑えることである。伸縮シリンダのデッドストロークは、原理的に収縮時と伸長時の両方で発生する可能性があり、この場合はクレーンの操作者に見える動きが発生しない(例えば次の伸縮部を受け入れるためにブーム内で伸縮シリンダが収縮する)ために特に顕著に現れる。この場合、ピストンと環状面との違いにより差が生じる。伸縮シリンダの伸長には、同じ油の流量でもより大きなピストン空間を満たすのに時間がかかるため、伸縮シリンダの収縮よりも明らかに遅くなる。
【0008】
伸長時間を短縮するため、伸縮シリンダのピストンの速度を速くすることができる。高速にするには、ピストン側に流入する油の流量を多くすることが必要である。これは、より大きなポンプを使用するか、可能であれば駆動速度を速くすることで実現できる。どちらの選択肢も、コスト上昇および/または重量増大、そして騒音の増加と流体損失の増加という欠点がある。さらに、ピストン表面のサイズを小さくすることも可能であるが、同時に圧力をさらに高くできない場合は積載量(有効荷重)の損失に繋がる。
【0009】
別の解決手段として、シリンダの伸長時にリング側とピストン側を急速移動回路で接続する方法がある。これにより、リング側で流出する油が伸長のために直接ピストン側に戻り、ピストン側に戻る油の流量が増加して伸長時の速度が向上する。伸縮時のシリンダの力は、ピストン面積とロッド断面積の比率に応じて減少するが、これは一般に伸縮プロセスを制限せず、伸縮荷重の高荷重範囲でのみ制限する。
【0010】
本発明の目的は、前述の従来技術の欠点を回避し、その従来技術を効果的に発展させることである。これは特に、小型で軽量な装置によって実現されることを目的としている。
(【0011】以降は省略されています)
この特許をJ-PlatPat(特許庁公式サイト)で参照する
関連特許
他の特許を見る