TOP
|
特許
|
意匠
|
商標
特許ウォッチ
Twitter
他の特許を見る
公開番号
2025177235
公報種別
公開特許公報(A)
公開日
2025-12-05
出願番号
2024083872
出願日
2024-05-23
発明の名称
光学部品の製造方法
出願人
住友ベークライト株式会社
代理人
個人
主分類
G02B
6/13 20060101AFI20251128BHJP(光学)
要約
【課題】光電気複合基板の切断面の端面ダレを低減させることが可能な光学部品の製造方法を提供する。
【解決手段】基板10上に光導波路層20を備える光電気複合基板100と、ダイシングフィルム400と、を備える積層体500を準備する工程(A)と、ダイシング刃により積層体500中の光電気複合基板100を切断し、切断後の光電気複合基板を得る工程(B)と、を含み、前記工程(B)は、条件(1)~(3)からなる群から選択される少なくとも1つの条件を満たす、光学部品の製造方法。
【選択図】図2
特許請求の範囲
【請求項1】
基板上に光導波路層を備える光電気複合基板と、ダイシングフィルムと、を備える積層体を準備する工程(A)と、
ダイシング刃により前記積層体中の前記光電気複合基板を切断し、切断後の光電気複合基板を得る工程(B)と、を含み、
前記工程(B)は、下記条件(1)~(3)からなる群から選択される少なくとも1つの条件を満たす、光学部品の製造方法。
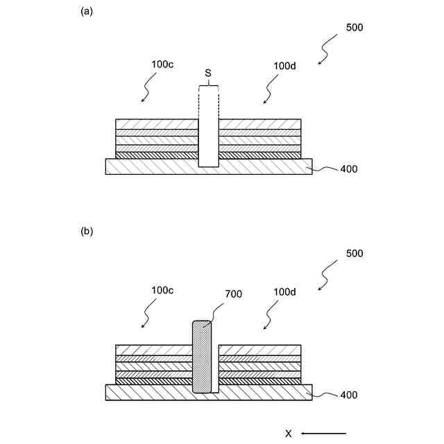
条件(1)前記ダイシング刃により前記積層体中の前記光電気複合基板を切断する第1切断工程と、前記第1切断工程よりも後に、前記ダイシング刃により前記積層体中の前記光電気複合基板の切断面を切断する第2切断工程と、を含む
条件(2)前記ダイシング刃を超音波振動させながら前記積層体中の前記光電気複合基板を切断する
条件(3)ダイシング速度が0.4mm/sec以下である
続きを表示(約 610 文字)
【請求項2】
前記工程(B)は、前記条件(1)および(2)からなる群から選択される少なくとも1つの条件を満たす、請求項1に記載の光学部品の製造方法。
【請求項3】
前記積層体は、前記光導波路層と、前記ダイシングフィルムと、が直に接している、請求項1または2に記載の光学部品の製造方法。
【請求項4】
前記光導波路層は、ポリイミド基材を備え、
前記積層体は、前記ポリイミド基材と、前記ダイシングフィルムと、が直に接している、請求項1または2に記載の光学部品の製造方法。
【請求項5】
前記基板はフレキシブルプリント基板である、請求項1または2に記載の光学部品の製造方法。
【請求項6】
前記ダイシング刃の砥粒の粒度が#2000~#8000である、請求項1または2に記載の光学部品の製造方法。
【請求項7】
前記切断後の光電気複合基板の切断面は、光ファイバーを接続するための面である、請求項1または2に記載の光学部品の製造方法。
【請求項8】
前記光学部品は、前記切断後の光電気複合基板を光電気複合基板(a)としたとき、前記光電気複合基板(a)の切断面と、前記光電気複合基板(a)とは異なる光電気複合基板(b)の端面とが光ファイバーを介して接続されている構造体を含む、請求項1または2に記載の光学部品の製造方法。
発明の詳細な説明
【技術分野】
【0001】
本発明は光学部品の製造方法に関する。
続きを表示(約 2,200 文字)
【背景技術】
【0002】
近年、情報通信機器において、情報の大容量化、情報通信速度の高速化等の、より高度な情報通信を実現できる部材が求められており、そのような部材として光電気複合基板、光電気複合基板を備える光学部品等が検討されている。
光電気複合基板に関する技術としては、例えば、特許文献1に記載の技術が挙げられる。
【0003】
特許文献1には、絶縁層の表面に電気配線が形成された電気回路基板と、上記電気回路基板の裏面側に設けられる光導波路とを備え、外形加工によって所定形状が付与された光電気混載基板であって、上記絶縁層表面の外形加工部の近傍に、絶縁層表面の電気配線と同一基準で位置決めされた外形加工用のアライメントマークが設けられており、上記外形加工用のアライメントマークを基準とした外形加工によって所定形状が付与されていることを特徴とする光電気混載基板が記載されている。
特許文献1の光電気混載基板によれば、外形加工用のアライメントマークを、正確かつ視認しやすい配置で形成することができると記載されている。
【先行技術文献】
【特許文献】
【0004】
特開2016-85315号公報
【発明の概要】
【発明が解決しようとする課題】
【0005】
本発明は、光電気複合基板の切断面の端面ダレを低減させることが可能な光学部品の製造方法を提供するものである。
【課題を解決するための手段】
【0006】
本発明によれば、以下に示す光学部品の製造方法が提供される。
【0007】
[1]
基板上に光導波路層を備える光電気複合基板と、ダイシングフィルムと、を備える積層体を準備する工程(A)と、
ダイシング刃により前記積層体中の前記光電気複合基板を切断し、切断後の光電気複合基板を得る工程(B)と、を含み、
前記工程(B)は、下記条件(1)~(3)からなる群から選択される少なくとも1つの条件を満たす、光学部品の製造方法。
条件(1)前記ダイシング刃により前記積層体中の前記光電気複合基板を切断する第1切断工程と、前記第1切断工程よりも後に、前記ダイシング刃により前記積層体中の前記光電気複合基板の切断面を切断する第2切断工程と、を含む
条件(2)前記ダイシング刃を超音波振動させながら前記積層体中の前記光電気複合基板を切断する
条件(3)ダイシング速度が0.4mm/sec以下である
[2]
前記工程(B)は、前記条件(1)および(2)からなる群から選択される少なくとも1つの条件を満たす、前記[1]に記載の光学部品の製造方法。
[3]
前記積層体は、前記光導波路層と、前記ダイシングフィルムと、が直に接している、前記[1]または[2]に記載の光学部品の製造方法。
[4]
前記光導波路層は、ポリイミド基材を備え、
前記積層体は、前記ポリイミド基材と、前記ダイシングフィルムと、が直に接している、前記[1]~[3]のいずれかに記載の光学部品の製造方法。
[5]
前記基板はフレキシブルプリント基板である、前記[1]~[4]のいずれかに記載の光学部品の製造方法。
[6]
前記ダイシング刃の砥粒の粒度が#2000~#8000である、前記[1]~[5]のいずれかに記載の光学部品の製造方法。
[7]
前記切断後の光電気複合基板の切断面は、光ファイバーを接続するための面である、前記[1]~[6]のいずれかに記載の光学部品の製造方法。
[8]
前記光学部品は、前記切断後の光電気複合基板を光電気複合基板(a)としたとき、前記光電気複合基板(a)の切断面と、前記光電気複合基板(a)とは異なる光電気複合基板(b)の端面とが光ファイバーを介して接続されている構造体を含む、前記[1]~[7]のいずれかに記載の光学部品の製造方法。
【発明の効果】
【0008】
本発明によれば、光電気複合基板の切断面の端面ダレを低減させることが可能な光学部品の製造方法を提供できる。
【図面の簡単な説明】
【0009】
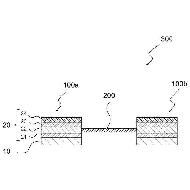
本実施形態の光学部品の構造の一例を模式的に示した断面図である。
工程(A)における積層体の構造の一例を模式的に示した断面図である。
工程(B)における条件(1)について説明するための図である。
【発明を実施するための形態】
【0010】
以下、本発明の実施形態について、図面を用いて説明する。なお、図面は簡略図で、実際の寸法比率とは一致していない。数値範囲の「A~B」は特に断りがなければ、A以上B以下を表す。本明細書において、単に「クラッド層」と記載した場合、第1のクラッド層および第2のクラッド層の両方を含むことを意味する。「切断後の光電気複合基板」は特に断りがなければ、工程(B)の後に得られる光電気複合基板を意味する。(メタ)アクリル樹脂とは、アクリル樹脂およびメタクリル樹脂の両方を含む概念である。
(【0011】以降は省略されています)
この特許をJ-PlatPat(特許庁公式サイト)で参照する
関連特許
カンタツ株式会社
光学系
1か月前
住友化学株式会社
偏光板
1か月前
株式会社シグマ
結像光学系
28日前
株式会社シグマ
結像光学系
1か月前
住友化学株式会社
垂直偏光板
1か月前
日本精機株式会社
ミラーユニット
1か月前
古河電気工業株式会社
融着機
1か月前
日本電気株式会社
光モジュール
1か月前
アイカ工業株式会社
反射防止フィルム
2日前
個人
多方向視差効果のための微細穴加工
1か月前
日東電工株式会社
導光部材
28日前
株式会社コシナ
投射ズームレンズ
21日前
豊田合成株式会社
調光装置
15日前
三菱電機株式会社
レンズモジュール
1か月前
個人
眼鏡装着位置変更具および眼鏡
1か月前
京セラ株式会社
光学系
1か月前
日東電工株式会社
光学積層体
1か月前
AGC株式会社
インフィニティミラー
1か月前
日本精機株式会社
ヘッドアップディスプレイ
28日前
日本精機株式会社
ヘッドアップディスプレイ
1か月前
キヤノン株式会社
表示装置
今日
キヤノン株式会社
表示装置
7日前
マクセル株式会社
映像表示装置
21日前
京セラ株式会社
アイソレータ
7日前
日本精機株式会社
ヘッドアップディスプレイ装置
28日前
住友化学株式会社
複合偏光板
今日
日本精機株式会社
ヘッドアップディスプレイ装置
29日前
古河電気工業株式会社
光ファイバケーブル
今日
新光電気工業株式会社
光導波路部品
1か月前
古河電気工業株式会社
光ファイバケーブル
今日
新光電気工業株式会社
光導波路部品
1か月前
株式会社タムロン
ズームレンズ及び撮像装置
1か月前
株式会社リコー
光走査装置及び画像形成装置
28日前
株式会社タムロン
ズームレンズ及び撮像装置
今日
レーザーテック株式会社
光学装置及び調整方法
28日前
住友ベークライト株式会社
光学部品の製造方法
今日
続きを見る
他の特許を見る