TOP
|
特許
|
意匠
|
商標
特許ウォッチ
Twitter
他の特許を見る
公開番号
2025177257
公報種別
公開特許公報(A)
公開日
2025-12-05
出願番号
2024083905
出願日
2024-05-23
発明の名称
融着機、ピッチ変換部材
出願人
古河電気工業株式会社
代理人
個人
主分類
G02B
6/255 20060101AFI20251128BHJP(光学)
要約
【課題】 回転調心が必要な複数の光ファイバを一括融着することが可能な融着機等を提供する。
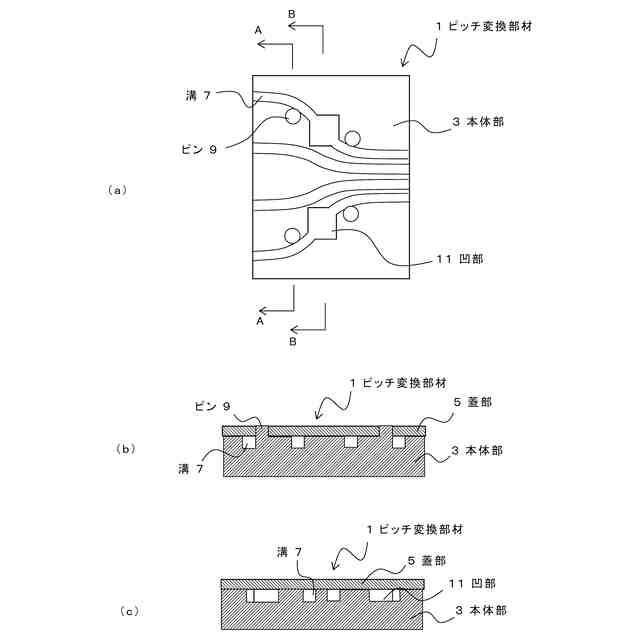
【解決手段】 ピッチ変換部材1は、上面に複数の溝7が形成された本体部3と、溝7の上方を塞ぐ蓋部5とを有する。ピッチ変換部材1は、融着機に使用され、後方から前方に対し、複数の溝7のピッチが徐々に狭くなるように変化させることで、溝7に収容される複数の光ファイバのピッチを規制するための部材である。それぞれの溝7は、後方から前方に向けて、なだらかな曲線状に形成される。
【選択図】図1
特許請求の範囲
【請求項1】
複数の光ファイバ回転部を有する融着機であって、
光ファイバを保持するホルダが配置されるホルダ載置部と、
前記ホルダ載置部の前方において併設される複数の光ファイバ回転部と、
前記光ファイバ回転部の前方において、接続されるそれぞれの光ファイバを所定のピッチで保持するV溝部材と、
前記光ファイバ回転部と前記V溝部材の間において、前記光ファイバ回転部の併設ピッチから、前記V溝部材のピッチに変換する溝を有するピッチ変換部材と、
を具備し、
前記V溝部材によって保持可能な光ファイバ径に対して、前記溝の深さ及び幅が大きいことを特徴とする融着機。
続きを表示(約 1,100 文字)
【請求項2】
融着対象の対向する一対の光ファイバに対し、一方の光ファイバを保持する側には前記光ファイバ回転部が配置されず、前記ホルダ載置部の前方に前記V溝部材が配置され、
他方の光ファイバが配置される側に対してのみ、前記光ファイバ回転部と前記ピッチ変換部材が配置されることを特徴とする請求項1記載の融着機。
【請求項3】
前記ピッチ変換部材は、前記溝が形成された本体部と、前記溝の上方を塞ぐ蓋部とを有することを特徴とする請求項1記載の融着機。
【請求項4】
前記溝の曲がり部の内側にはピンが配置され、前記ピンは、光ファイバを前記溝に挿入する際のガイドとして機能することを特徴とする請求項1記載の融着機。
【請求項5】
前記溝の一部を含む所定の範囲において、前記溝の深さと略同一深さの凹部が形成されることを特徴とする請求項1記載の融着機。
【請求項6】
前記ピッチ変換部材は、前記溝で区画された分割体がそれぞれ別体で構成され、少なくとも一部の前記分割体は基準位置から移動可能であり、前記分割体を基準位置から移動させた状態でそれぞれの前記分割体の間に光ファイバを配置可能であり、前記分割体を基準位置に戻すことで、前記分割体同士の間に前記溝を形成可能であることを特徴とする請求項1記載の融着機。
【請求項7】
前記ピッチ変換部材は、前記光ファイバ回転部の前方と後方にそれぞれ配置され、
それぞれの前記ピッチ変換部材に対し、任意の一の光ファイバが配置される前記溝の合計長さが、任意の他の光ファイバが配置される前記溝の合計長さと略同一であることを特徴とする請求項1記載の融着機。
【請求項8】
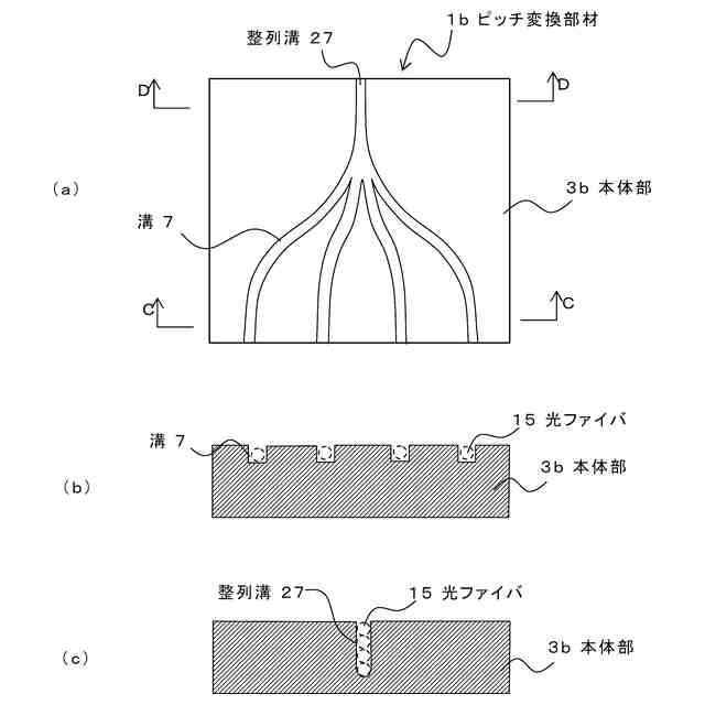
前記ピッチ変換部材の前方において、複数の光ファイバを収容可能な整列溝が形成され、複数の前記溝が、前記整列溝において集約され、
前記整列溝の内部において、複数の光ファイバを整列させることが可能であることを特徴とする請求項1記載の融着機。
【請求項9】
融着機に使用され、複数の光ファイバが収容される溝のピッチが変化する光ファイバのピッチ変換部材であって、
溝が形成された本体部を有し、
前記溝の曲がり部の内側にはピンが配置され、前記ピンは、光ファイバを前記溝に挿入する際のガイドとして機能することを特徴とするピッチ変換部材。
【請求項10】
前記溝の一部を含む所定の範囲において、前記溝の深さと略同一深さの凹部が形成されることを特徴とする請求項9記載のピッチ変換部材。
(【請求項11】以降は省略されています)
発明の詳細な説明
【技術分野】
【0001】
本発明は、調心作業性に優れた融着機等に関するものである。
続きを表示(約 1,200 文字)
【背景技術】
【0002】
光ファイバ同士の接続には、融着機が用いられる。融着機は、一対のホルダに保持された光ファイバ同士を突き合わせて電極間に配置し、アークによって光ファイバ同士の先端を融着して、光ファイバ同士を接続するものである。
【0003】
光ファイバ同士の融着時には、光ファイバの先端位置を合わせる調心作業が必要である。このため、従来は、光ファイバ同士を対向して配置した状態で、側方(光ファイバの軸方向に対して垂直な方向)から、撮像部によって光ファイバの先端位置を撮像して調心を行っていた。
【0004】
一方、一般的な単心の光ファイバではなく、いわゆる偏波保持ファイバやマルチコアファイバのように、断面形態に対して周方向の方向性を有する場合、先端位置のみではなく、回転方向の調心も必要である。すなわち、光ファイバ先端位置のいわゆるX-Y方向の調心のみではなく、光ファイバの軸方向を中心軸とした周方向の回転調心が必要となる。
【0005】
このような光ファイバの回転調心を行うためには、例えば、光ファイバを配置するファイバ溝が形成された軸部と、光ファイバの先端を軸部に対向する端部に向けて載置する載置部とを有し、軸部を支持部に支持させて回転部材を光ファイバの軸廻りに回転させることが可能な光ファイバの回転装置が提案されている(特許文献1)。
【先行技術文献】
【特許文献】
【0006】
特開2005-164985号公報
【発明の概要】
【発明が解決しようとする課題】
【0007】
ここで、従来のシングルコアファイバでは、ケーブル敷設工事時間の短縮のために複数の光ファイバをテープ状に連結させた構造のテープ心線が用いられている。この場合、複数の光ファイバを一括融着接続することができることが望ましい。
【0008】
図8(a)は、従来のテープ心線100同士を融着接続する際の部分概略図である。テープ心線100を構成する各光ファイバ101は、V溝部材103によって所定の間隔で保持され、電極105間におけるアーク放電によって、先端を溶融させて融着を行うことができる。
【0009】
一方、前述したように、マルチコアファイバが普及するにつれて、複数のマルチコアファイバからなるテープ心線が提案されている。この場合にも、同様に複数のマルチコアファイバを一括接続することが望ましい。
【0010】
図8(b)は、マルチコアファイバなどのような周方向の方向性を有する複数の光ファイバ101aからなるテープ心線100a同士を融着接続する際の部分概略図である。前述したように、マルチコアファイバ同士を接続するためには、複数のコアおよびマーカの位置を接続対象の光ファイバと一致させるために、光ファイバ軸を中心として回転調心する必要がある。
(【0011】以降は省略されています)
この特許をJ-PlatPat(特許庁公式サイト)で参照する
関連特許
古河電気工業株式会社
コネクタ付き電線
28日前
古河電気工業株式会社
光ファイバケーブル
今日
古河電気工業株式会社
光ファイバケーブル
今日
古河電気工業株式会社
融着機、ピッチ変換部材
今日
古河電気工業株式会社
通信システム、プログラム及び通信方法
1か月前
古河電気工業株式会社
通信システム、プログラム及び通信方法
1か月前
古河電気工業株式会社
光ファイバ心線および光ファイバ心線の製造方法
15日前
古河電気工業株式会社
分岐部保護具及び分岐部保護具付きワイヤーハーネス
今日
古河電気工業株式会社
端子付き電線及びその製造方法、並びにコネクタ付き電線
28日前
古河電気工業株式会社
端子付き電線及びその製造方法、並びにコネクタ付き電線
28日前
古河電気工業株式会社
端子付き電線およびその製造方法、ならびにコネクタ付き電線
28日前
古河AS株式会社
結束具及びこれを利用する電線束並びにワイヤハーネス
2日前
古河電気工業株式会社
端子付き電線およびその製造方法、電線用端子、ならびにコネクタ付き電線
28日前
古河電気工業株式会社
皮膜除去方法および皮膜除去装置
1か月前
古河電気工業株式会社
絶縁電線、コイル、電気・電子機器、及び電気・電子機器の製造方法
9日前
古河ネットワークソリューション株式会社
プロキシサーバ配下における通信可視化装置、通信可視化方法、及び通信可視化プログラム
23日前
古河電気工業株式会社
接合用フィルム、半導体モジュール、インバータ、電子機器及び半導体モジュールの製造方法
今日
カンタツ株式会社
光学系
1か月前
住友化学株式会社
偏光板
1か月前
株式会社シグマ
結像光学系
28日前
株式会社シグマ
結像光学系
1か月前
住友化学株式会社
垂直偏光板
1か月前
日本精機株式会社
ミラーユニット
1か月前
古河電気工業株式会社
融着機
1か月前
日本電気株式会社
光モジュール
1か月前
アイカ工業株式会社
反射防止フィルム
2日前
株式会社コシナ
投射ズームレンズ
21日前
日東電工株式会社
導光部材
28日前
豊田合成株式会社
調光装置
15日前
個人
多方向視差効果のための微細穴加工
1か月前
三菱電機株式会社
レンズモジュール
1か月前
日東電工株式会社
光学積層体
1か月前
個人
眼鏡装着位置変更具および眼鏡
1か月前
京セラ株式会社
光学系
1か月前
日本精機株式会社
ヘッドアップディスプレイ
28日前
日本精機株式会社
ヘッドアップディスプレイ
1か月前
続きを見る
他の特許を見る