TOP
|
特許
|
意匠
|
商標
特許ウォッチ
Twitter
他の特許を見る
10個以上の画像は省略されています。
公開番号
2025168100
公報種別
公開特許公報(A)
公開日
2025-11-07
出願番号
2024073235
出願日
2024-04-26
発明の名称
端子付き電線およびその製造方法、電線用端子、ならびにコネクタ付き電線
出願人
古河電気工業株式会社
,
古河AS株式会社
代理人
個人
,
個人
主分類
H01R
4/02 20060101AFI20251030BHJP(基本的電気素子)
要約
【課題】超音波接合によって端子と電線とを接合しても、端子を構成する部材のクラック発生および破断を抑制できる、端子付き電線およびその製造方法、電線用端子、ならびにコネクタ付き電線を提供する。
【解決手段】端子付き電線は、本体部と前記本体部に連結される接続部とを備える端子の前記接続部に、電線の導線が接合されてなり、前記本体部は、前記本体部の支持面に支持される1つ以上の押圧部材を有し、前記押圧部材の延在方向と前記導線の長手方向とのなす角度αが90度ではない、および/または、前記本体部の前記支持面の面内方向と前記導線の長手方向とのなす角度βが180度ではない。
【選択図】図1
特許請求の範囲
【請求項1】
本体部と前記本体部に連結される接続部とを備える端子の前記接続部に、電線の導線が接合されてなる、端子付き電線であって、
前記本体部は、前記本体部の支持面に支持される1つ以上の押圧部材を有し、
前記押圧部材の延在方向と前記導線の長手方向とのなす角度αが90度ではない、および/または、前記本体部の前記支持面の面内方向と前記導線の長手方向とのなす角度βが180度ではない、端子付き電線。
続きを表示(約 1,000 文字)
【請求項2】
前記押圧部材の延在方向と前記導線の長手方向とのなす角度αは、60度以下である、請求項1に記載の端子付き電線。
【請求項3】
前記押圧部材の延在方向と前記導線の長手方向とのなす角度αは、45度以下である、請求項1に記載の端子付き電線。
【請求項4】
前記押圧部材の延在方向と前記導線の長手方向とのなす角度αは、0度である、請求項1に記載の端子付き電線。
【請求項5】
前記本体部の前記支持面の面内方向と前記導線の長手方向とのなす角度βは、90度以上150度以下である、請求項1に記載の端子付き電線。
【請求項6】
前記本体部の前記支持面の面内方向と前記導線の長手方向とのなす角度βは、90度以上135度以下である、請求項1に記載の端子付き電線。
【請求項7】
前記本体部の前記支持面の面内方向と前記導線の長手方向とのなす角度βは、90度である、請求項1に記載の端子付き電線。
【請求項8】
本体部と前記本体部に連結される接続部とを備える端子の前記接続部に、電線の導線が接合されてなる、端子付き電線の製造方法であって、
前記本体部は、前記本体部の支持面に支持される1つ以上の押圧部材を有し、
前記押圧部材の延在方向と前記導線の長手方向とのなす角度αが90度ではない状態の、および/または、前記本体部の前記支持面の面内方向と前記導線の長手方向とのなす角度βが180度ではない状態の、前記端子の前記接続部と前記電線の前記導線とを加圧した状態で、前記接続部および前記導線に超音波振動を付与して、前記接続部と前記導線とを接合する、端子付き電線の製造方法。
【請求項9】
本体部と、
前記本体部に連結される接続部と
を備える電線用端子であって、
前記本体部は、前記本体部の支持面に支持される1つ以上の押圧部材を有し、
前記押圧部材の延在方向と前記本体部および前記接続部を結ぶ連結方向とのなす角度αが90度ではない、および/または、前記本体部の前記支持面の面内方向と前記本体部および前記接続部を結ぶ連結方向とのなす角度βが180度ではない、電線用端子。
【請求項10】
請求項1~7のいずれか1項に記載の端子付き電線と、
少なくとも前記端子付き電線の端子を収容するコネクタハウジングと
を備える、コネクタ付き電線。
発明の詳細な説明
【技術分野】
【0001】
本開示は、端子付き電線およびその製造方法、電線用端子、ならびにコネクタ付き電線に関する。
続きを表示(約 2,500 文字)
【背景技術】
【0002】
従来から、端子と電線とを電気的に接続する方法が様々検討されている。
【0003】
例えば、特許文献1には、タブコンタクト(平板状の端子)と高電流導体(平板状の端子の接続相手)との間の電気接続を確立するための機構が記載されている。この機構は、高電流導体の接触区域に装着するための保持構造を有し、この保持構造が、接続区域の方向に接触圧力を生成するように構成される少なくとも1つの押圧要素(例えば、ばね状の要素)を有する。押圧要素は、全体に細長い形態である。
【0004】
上記のような端子と電線とを接続する従来技術としては、端子と電線とを超音波振動によって接合する超音波接合がある。しかしながら、超音波接合時において、上記押圧要素など、端子と電線との接合部分に対して小さい部材には、超音波振動に起因する応力が集中しやすい。そのため、押圧要素について、クラックが入り、最悪の場合には破断に至ることがある。
【先行技術文献】
【特許文献】
【0005】
特開2017-50281号公報
【発明の概要】
【発明が解決しようとする課題】
【0006】
本開示の目的は、超音波接合によって端子と電線とを接合しても、端子を構成する部材のクラック発生および破断を抑制できる、端子付き電線およびその製造方法、電線用端子、ならびにコネクタ付き電線を提供することである。
【課題を解決するための手段】
【0007】
[1] 本体部と前記本体部に連結される接続部とを備える端子の前記接続部に、電線の導線が接合されてなる、端子付き電線であって、前記本体部は、前記本体部の支持面に支持される1つ以上の押圧部材を有し、前記押圧部材の延在方向と前記導線の長手方向とのなす角度αが90度ではない、および/または、前記本体部の前記支持面の面内方向と前記導線の長手方向とのなす角度βが180度ではない、端子付き電線。
[2] 前記押圧部材の延在方向と前記導線の長手方向とのなす角度αは、60度以下である、上記[1]に記載の端子付き電線。
[3] 前記押圧部材の延在方向と前記導線の長手方向とのなす角度αは、45度以下である、上記[1]に記載の端子付き電線。
[4] 前記押圧部材の延在方向と前記導線の長手方向とのなす角度αは、0度である、上記[1]に記載の端子付き電線。
[5] 前記本体部の前記支持面の面内方向と前記導線の長手方向とのなす角度βは、90度以上150度以下である、上記[1]~[4]のいずれか1つに記載の端子付き電線。
[6] 前記本体部の前記支持面の面内方向と前記導線の長手方向とのなす角度βは、90度以上135度以下である、上記[1]~[4]のいずれか1つに記載の端子付き電線。
[7] 前記本体部の前記支持面の面内方向と前記導線の長手方向とのなす角度βは、90度である、上記[1]~[4]のいずれか1つに記載の端子付き電線。
[8] 本体部と前記本体部に連結される接続部とを備える端子の前記接続部に、電線の導線が接合されてなる、端子付き電線の製造方法であって、前記本体部は、前記本体部の支持面に支持される1つ以上の押圧部材を有し、前記押圧部材の延在方向と前記導線の長手方向とのなす角度αが90度ではない状態の、および/または、前記本体部の前記支持面の面内方向と前記導線の長手方向とのなす角度βが180度ではない状態の、前記端子の前記接続部と前記電線の前記導線とを加圧した状態で、前記接続部および前記導線に超音波振動を付与して、前記接続部と前記導線とを接合する、端子付き電線の製造方法。
[9] 本体部と、前記本体部に連結される接続部とを備える電線用端子であって、前記本体部は、前記本体部の支持面に支持される1つ以上の押圧部材を有し、前記押圧部材の延在方向と前記本体部および前記接続部を結ぶ連結方向とのなす角度αが90度ではない、および/または、前記本体部の前記支持面の面内方向と前記本体部および前記接続部を結ぶ連結方向とのなす角度βが180度ではない、電線用端子。
[10] 上記[1]~[7]のいずれか1つに記載の端子付き電線と、少なくとも前記端子付き電線の端子を収容するコネクタハウジングとを備える、コネクタ付き電線。
【発明の効果】
【0008】
本開示によれば、超音波接合によって端子と電線とを接合しても、端子を構成する部材のクラック発生および破断を抑制できる、端子付き電線およびその製造方法、電線用端子、ならびにコネクタ付き電線を提供することができる。
【図面の簡単な説明】
【0009】
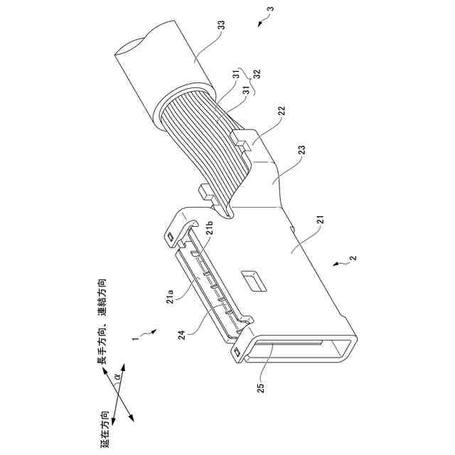
図1は、第1実施形態の端子付き電線の一例を示す斜視図である。
図2は、第1実施形態の端子の一例を示す斜視図である。
図3は、第1実施形態の端子を導線の長手方向からみた一例を示す正面図である。
図4は、第1実施形態の端子を構成する押圧部材の一例を示す拡大斜視図である。
図5は、第1実施形態の端子を構成する押圧部材の一例を示す拡大正面図である。
図6は、第1実施形態のコネクタ付き電線の一例を示す斜視図である。
図7は、第1実施形態のコネクタ付き電線の他例を示す斜視図である。
図8は、第2実施形態の端子付き電線の一例を示す斜視図である。
図9は、第2実施形態の端子の一例を示す斜視図である。
図10は、第2実施形態のコネクタ付き電線の一例を示す斜視図である。
図11は、第3実施形態の端子付き電線の一例を示す斜視図である。
図12は、第3実施形態の端子の一例を示す斜視図である。
図13は、第3実施形態のコネクタ付き電線の一例を示す斜視図である。
【発明を実施するための形態】
【0010】
以下、実施形態に基づき詳細に説明する。
(【0011】以降は省略されています)
この特許をJ-PlatPat(特許庁公式サイト)で参照する
関連特許
古河電気工業株式会社
銅線
24日前
古河電気工業株式会社
融着機
16日前
古河電気工業株式会社
コネクタ付き電線
今日
古河電気工業株式会社
ワイヤハーネス組立体
23日前
古河電気工業株式会社
レーダ装置の配置構造
28日前
古河電気工業株式会社
ワイヤハーネス用コネクタ
28日前
古河電気工業株式会社
保護部材及びワイヤーハーネス
9日前
古河電気工業株式会社
ケーブル及びケーブルシステム
14日前
古河電気工業株式会社
グロメット及びグロメット付ハーネス
24日前
古河樹脂加工株式会社
木質配合樹脂管
28日前
古河電気工業株式会社
通信システム、プログラム及び通信方法
8日前
古河電気工業株式会社
通信システム、プログラム及び通信方法
8日前
古河電気工業株式会社
通信システム、プログラム及び通信方法
8日前
古河電気工業株式会社
通信システム、プログラム及び通信方法
8日前
古河電気工業株式会社
センサシステム、センシング方法およびプログラム
28日前
古河電気工業株式会社
止水カバー付グロメット及び止水カバー付ハーネス
24日前
古河電気工業株式会社
端子付き電線及びその製造方法、並びにコネクタ付き電線
今日
古河電気工業株式会社
端子付き電線及びその製造方法、並びにコネクタ付き電線
今日
古河電気工業株式会社
端子付き電線およびその製造方法、ならびにコネクタ付き電線
今日
株式会社UACJ
磁気ディスク用アルミニウム合金板及び磁気ディスク
22日前
古河電気工業株式会社
端子付き電線およびその製造方法、電線用端子、ならびにコネクタ付き電線
今日
古河電気工業株式会社
皮膜除去方法および皮膜除去装置
8日前
古河電気工業株式会社
磁気ディスク用基板及び磁気ディスク用基板の熱拡散率測定方法、磁気ディスク用基板の検査方法、磁気ディスク用基板の製造方法、ならびに磁気ディスク
10日前
東ソー株式会社
絶縁電線
16日前
APB株式会社
蓄電セル
14日前
個人
フレキシブル電気化学素子
28日前
ローム株式会社
半導体装置
1か月前
ローム株式会社
半導体装置
15日前
株式会社ユーシン
操作装置
28日前
日新イオン機器株式会社
イオン源
24日前
マクセル株式会社
電源装置
8日前
株式会社東芝
端子台
8日前
株式会社GSユアサ
蓄電装置
1日前
株式会社GSユアサ
蓄電装置
9日前
株式会社GSユアサ
蓄電設備
28日前
株式会社GSユアサ
蓄電設備
28日前
続きを見る
他の特許を見る