TOP
|
特許
|
意匠
|
商標
特許ウォッチ
Twitter
他の特許を見る
公開番号
2025167157
公報種別
公開特許公報(A)
公開日
2025-11-07
出願番号
2024071517
出願日
2024-04-25
発明の名称
コネクタ付き電線
出願人
古河電気工業株式会社
,
古河AS株式会社
代理人
個人
,
個人
主分類
H01R
13/655 20060101AFI20251030BHJP(基本的電気素子)
要約
【課題】電線による電流密度の偏りによる電磁ノイズの放射の影響を受けることなく、外部の接続対象物と連結固定されるシールドシェルから外部に電磁ノイズを漏洩させることのないコネクタ付き電線を提供する。
【解決手段】電線7と、前記電線7の端部を収容する導電性のシールドシェル5を少なくとも有するコネクタ3と、を備え、前記シールドシェル5は、前記電線7の端部を包囲する側壁をもち、接続対象物10に連結固定される、コネクタ付き電線1であって、前記シールドシェル5は、前記接続対象物10に連結固定されたときの前記接続対象物10と接する前記側壁50の端面51の少なくとも一部に、導電性被膜52を有する、コネクタ付き電線。
【選択図】図1
特許請求の範囲
【請求項1】
電線と、
前記電線の端部を収容する導電性のシールドシェルを少なくとも有するコネクタと、
を備え、
前記シールドシェルは、前記電線の端部を包囲する側壁をもち、接続対象物に連結固定される、コネクタ付き電線であって、
前記シールドシェルは、接続対象物に連結固定されたときの前記接続対象物と接する前記側壁の端面の少なくとも一部に、導電性被膜を有する、コネクタ付き電線。
続きを表示(約 470 文字)
【請求項2】
前記シールドシェルは、前記接続対象物と接する前記側壁の端面の全体に、前記導電性被膜を備える、請求項1に記載のコネクタ付き電線。
【請求項3】
前記シールドシェルは、収容する前記電線の端部を中心とする幅中心対称に位置する両側側壁の外面から、それぞれ前記両側側壁の端面と同一面上に延在する下面をもつ対をなすフランジ部を有し、前記フランジ部に、締結部材を挿入して連結する貫通孔が形成されている、請求項2に記載のコネクタ付き電線。
【請求項4】
前記シールドシェルは、前記フランジ部に、前記導電性被膜を備える、請求項3に記載のコネクタ付き電線。
【請求項5】
前記シールドシェルがアルミニウム材である、請求項1又は3に記載のコネクタ付き電線。
【請求項6】
前記導電性被膜が錫めっき被膜を有する、請求項5に記載のコネクタ付き電線。
【請求項7】
前記シールドシェルは、錫めっき被膜との間にジンケート処理が施されている、請求項6に記載のコネクタ付き電線。
発明の詳細な説明
【技術分野】
【0001】
本発明は、コネクタ付き電線に関する。
続きを表示(約 2,800 文字)
【背景技術】
【0002】
従来、車両等に装備される電子機器又は制御基板等を接続するのに用いられる電線は、高電圧および高周波の電流を使用することが多くなっている。しかしながら、これら車両等に用いられる電線は、高電圧の電流が流れるために、また、コネクタ内の電線又は接続端子までの距離が異なるために電流密度の偏りが生じ、電磁波のノイズ(電磁ノイズ)を発生することが知られている。この電磁ノイズが、他の電子機器又は制御基板等の信号線に重畳する悪影響を防止するために、電磁ノイズを遮蔽するコネクタ付き電線が求められている。
【0003】
例えば、特許文献1は、体格を小型化したコネクタ付き電線が開示されている。ここでは、電線の外周面を覆う筒状の部材である編組体を設けている。編組体が、導電性の素線が筒状且つ網目状に編み込まれたものであり、芯線に電流が流れることで発生する電磁ノイズを周囲に配置された電子機器などに影響を及ぼすことを抑制することが記載されている。また、特許文献2は、電磁シールド性能の低下を抑制できるワイヤハーネスが開示されている。ここでは、複数の電線部材が有する複数の第1露出部に接触した状態で、筒状部材に電気的に接続されている第1シールド部材が記載されている。
しかし、特許文献1及び2は、いずれも、電磁ノイズを遮蔽するのに不十分であり、電磁ノイズの影響を無視することは困難である。
【先行技術文献】
【特許文献】
【0004】
特開2020-038823号公報
特開2023-146269号公報
【発明の概要】
【発明が解決しようとする課題】
【0005】
そこで、本発明は、シールドシェルの適正化を図ることによって、シールドシェルと接続対象物間の接触抵抗が安定的に小さく、かつ、電線に流れる電流密度の偏りも抑制されるため、シールド特性を格段に向上させることができるコネクタ付き電線を提供することを目的とする。
【課題を解決するための手段】
【0006】
上記目的を達成するため、本発明は、以下のとおりである。
(1)電線と、前記電線の端部を収容する導電性のシールドシェルを少なくとも有するコネクタと、を備え、前記シールドシェルは、前記電線の端部を包囲する側壁をもち、接続対象物に連結固定される、コネクタ付き電線であって、前記シールドシェルは、前記接続対象物に連結固定されたときの前記接続対象物と接する前記側壁の端面の少なくとも一部に、導電性被膜を有する、コネクタ付き電線。
(2)前記シールドシェルは、前記接続対象物と接する前記側壁の端面の全体に、前記導電性被膜を備える、上記(1)に記載のコネクタ付き電線。
(3)前記シールドシェルは、収容する前記電線の端部を中心とする幅中心対称に位置する両側側壁の外面から、それぞれ前記両側側壁の端面と同一面上に延在する下面をもつ対をなすフランジ部を有し、前記フランジ部に、締結部材を挿入して連結する貫通孔が形成されている、上記(2)に記載のコネクタ付き電線。
(4)前記シールドシェルは、前記フランジ部に、前記導電性被膜を備える、上記(3)に記載のコネクタ付き電線。
(5)前記シールドシェルがアルミニウム材である、上記(1)又は(3)に記載のコネクタ付き電線。
(6)前記導電性被膜が錫めっき被膜を有する、上記(5)に記載のコネクタ付き電線。
(7)前記シールドシェルは、錫めっき被膜との間にジンケート処理が施されている、上記(6)に記載のコネクタ付き電線。
【発明の効果】
【0007】
本発明によれば、シールドシェルと接続対象物間の接触抵抗が安定的に小さく、かつ、電線に流れる電流密度の偏りも抑制されるため、シールド特性を格段に向上させることができるコネクタ付き電線を提供することができる。
【図面の簡単な説明】
【0008】
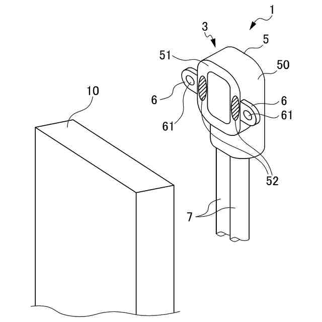
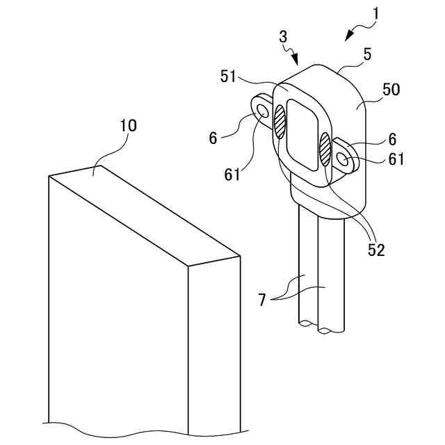
図1は、本発明の一の実施形態であるコネクタ付き電線の構成を示す斜図であって、接続対象物に連結固定する前の分離した状態で示す。
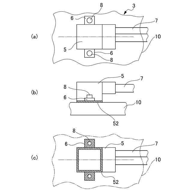
図2(a)は、従来例1のシールドシェルを説明する図であり、フランジ部がシールドシェルの正面の側壁の1か所の場合の側面図であり、図2(b)は、従来例2のシールドシェルを説明する図であり、フランジ部がシールドシェルの正面の側壁の1か所でシールドシェルの底面を低くした場合の側面図であり、図2(c)は、従来例3のシールドシェルを説明する図であり、フランジ部がシールドシェルの側面の側壁の1か所の場合の上面図を示している。
図3(a)は、従来例1のシールドシェルの締結状態を説明する図であり、フランジ部がシールドシェルの正面の側壁の1か所の場合の締結状態を示す側面図であり、図3(b)は、従来例2のシールドシェルの締結状態を説明する図であり、フランジ部が1か所でシールドシェルの底面を低くした場合の締結状態を示す側面図であり、図3(c)は、従来例3のシールドシェルを説明する図であり、フランジ部がシールドシェルの側面の側壁の1か所の場合の締結状態を説明する正面図である。
図4は、本発明のシールドシェルの締結状態を説明する図であり、図4(a)は上面図であり、図4(b)側面図であり、図4(c)は底面図である。
【発明を実施するための形態】
【0009】
以下に、本発明の実施形態に係るコネクタ付き電線について説明する。なお、以下の説明はこの発明における実施形態の例であって、この特許請求の範囲を限定するものではない。
【0010】
<コネクタ付き電線>
図1は、本発明の一の実施形態であるコネクタ付き電線の構成を示す斜視図であって、接続対象物に連結固定する前の分離した状態で示している。
本発明のコネクタ付き電線1は、電線7と、電線7の端部を収容する導電性のシールドシェル5を少なくとも有するコネクタ3とを備え、シールドシェル5は、電線7の端部を包囲する側壁50をもち、接続対象物10に連結固定されるコネクタ付き電線1であって、シールドシェル5は、接続対象物10に連結固定されたときの接続対象物10と接する側壁50の端面51の少なくとも一部に、好ましくは端面51の全体に、さらに、好ましくはフランジ部6の底面に導電性被膜52を有する。シールドシェル5とフランジ部6の端面は段差のない同じ平面状になることが好ましいことから、導電性被膜52も同時に設けることが好ましい。
(【0011】以降は省略されています)
この特許をJ-PlatPat(特許庁公式サイト)で参照する
関連特許
古河電気工業株式会社
端子
28日前
古河電気工業株式会社
銅線
24日前
古河電気工業株式会社
融着機
16日前
古河電気工業株式会社
コネクタ付き電線
今日
古河電気工業株式会社
コネクタ接続構造
28日前
古河電気工業株式会社
光半導体モジュール
28日前
古河電気工業株式会社
ワイヤハーネス組立体
23日前
古河電気工業株式会社
レーダ装置の配置構造
28日前
古河電気工業株式会社
フラットケーブル組立体
28日前
古河電気工業株式会社
ワイヤハーネス用コネクタ
28日前
古河電気工業株式会社
保護部材及びワイヤーハーネス
9日前
古河電気工業株式会社
ケーブル及びケーブルシステム
14日前
古河電気工業株式会社
コネクタ及びコネクタ接続構造
28日前
古河電気工業株式会社
グロメット及びグロメット付ハーネス
24日前
古河樹脂加工株式会社
木質配合樹脂管
28日前
古河電気工業株式会社
通信システム、プログラム及び通信方法
8日前
古河電気工業株式会社
通信システム、プログラム及び通信方法
8日前
古河電気工業株式会社
通信システム、プログラム及び通信方法
8日前
古河電気工業株式会社
通信システム、プログラム及び通信方法
8日前
古河電気工業株式会社
止水カバー付グロメット及び止水カバー付ハーネス
24日前
古河電気工業株式会社
センサシステム、センシング方法およびプログラム
28日前
古河電気工業株式会社
端子付き電線及びその製造方法、並びにコネクタ付き電線
今日
古河電気工業株式会社
端子付き電線及びその製造方法、並びにコネクタ付き電線
今日
古河電気工業株式会社
端子付き電線およびその製造方法、ならびにコネクタ付き電線
今日
株式会社UACJ
磁気ディスク用アルミニウム合金板及び磁気ディスク
22日前
古河電気工業株式会社
フラットケーブル組立体、回転コネクタ装置、及び、スライドドアハーネス
28日前
古河電気工業株式会社
端子付き電線およびその製造方法、電線用端子、ならびにコネクタ付き電線
今日
古河電気工業株式会社
皮膜除去方法および皮膜除去装置
8日前
古河電気工業株式会社
磁気ディスク用基板及び磁気ディスク用基板の熱拡散率測定方法、磁気ディスク用基板の検査方法、磁気ディスク用基板の製造方法、ならびに磁気ディスク
10日前
東ソー株式会社
絶縁電線
16日前
APB株式会社
蓄電セル
14日前
個人
フレキシブル電気化学素子
28日前
ローム株式会社
半導体装置
1か月前
ローム株式会社
半導体装置
15日前
日新イオン機器株式会社
イオン源
24日前
株式会社ユーシン
操作装置
28日前
続きを見る
他の特許を見る