TOP
|
特許
|
意匠
|
商標
特許ウォッチ
Twitter
他の特許を見る
10個以上の画像は省略されています。
公開番号
2025167028
公報種別
公開特許公報(A)
公開日
2025-11-07
出願番号
2024071292
出願日
2024-04-25
発明の名称
端子付き電線及びその製造方法、並びにコネクタ付き電線
出願人
古河電気工業株式会社
,
古河AS株式会社
代理人
個人
,
個人
主分類
H01R
4/02 20060101AFI20251030BHJP(基本的電気素子)
要約
【課題】超音波溶着による接合不足や、接合時のエネルギーのロスを抑制し得る端子付き電線及びその製造方法を提供する。また、かかる優れた特徴を備えた端子付き電線とコネクタとが安定的に結合されたコネクタ付き電線を提供する。
【解決手段】電線接続部31を備えた端子金具3と、電線接続部31に接合される芯線21を備えた電線2と、を有し、電線接続部31が、芯線21が電線2の長手方向TEに沿って接合される底壁部と、芯線21の両側であって前記底壁部の両端から立設した一対の立壁部35と、を有し、一対の立壁部35の高さが、電線2の長手方向TEの位置によって異なっている、端子付き電線及びその製造方法、並びにコネクタ付き電線。
【選択図】図1
特許請求の範囲
【請求項1】
電線接続部を備えた端子金具と、前記電線接続部に接合される芯線を備えた電線と、を有する端子付き電線であって、
前記電線接続部が、前記芯線が前記電線の長手方向に沿って接合される底壁部と、前記芯線の両側であって前記底壁部の両端から立設した一対の立壁部と、を有し、
前記一対の立壁部の高さが、前記電線の長手方向の位置によって異なっている、端子付き電線。
続きを表示(約 1,100 文字)
【請求項2】
前記電線の長手方向において、前記一対の立壁部の中途位置の高さが、当該中途位置の両側に比して低い、請求項1に記載の端子付き電線。
【請求項3】
前記電線の長手方向において、前記一対の立壁部の中途位置の高さが、当該中途位置の両側に比して高い、請求項1に記載の端子付き電線。
【請求項4】
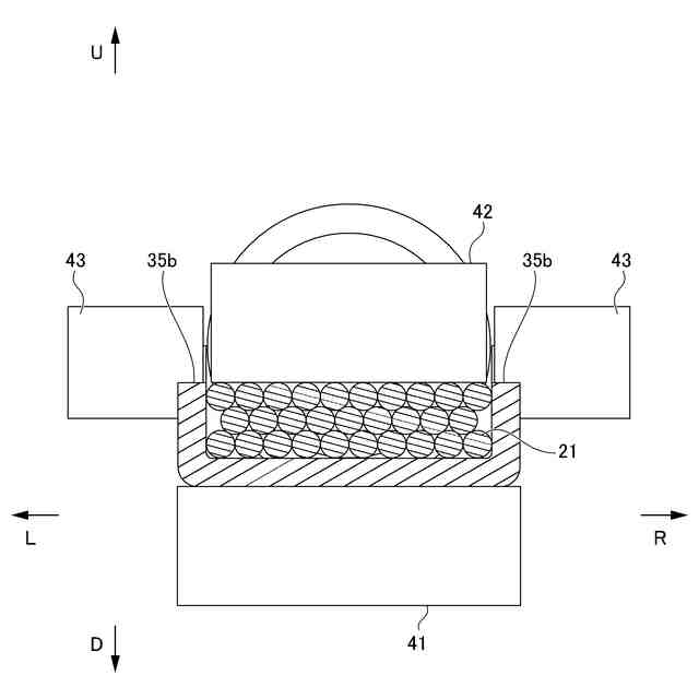
複数の素線から成る芯線を備えた電線の長手方向に沿って前記芯線が接合される底壁部と前記底壁部の両端から立設した一対の立壁部とからなり、前記一対の立壁部の高さが、前記電線の長手方向の位置によって異なっている電線接続部を備えた端子金具を、前記底壁部がアンビルに接し、かつ、前記一対の立壁部が前記アンビルから離れる方向に立設するように配置する端子金具配置工程と、
前記一対の立壁部の両外側面に当接する当接面を有する一対の端子固定ブロックで、前記一対の立壁部の両外側面を挟み込んで前記端子金具を固定する端子金具固定工程と、
前記芯線を備えた電線を、前記端子金具における前記底壁部及び前記一対の立壁部に囲まれた空間及びその上方の空間に前記芯線が位置し、前記電線の長手方向と前記一対の立壁部の延在方向とが略一致するように配置する電線配置工程と、
ホーンを前記一対の立壁部の間に挿入し前記アンビルに向けて移動させることにより前記アンビルと前記ホーンとの間に前記芯線及び前記底壁部を挟み込んで加圧した状態で前記ホーンに超音波振動を付与して、前記芯線と前記端子金具とを溶着する溶着工程と、を含み、
前記一対の端子固定ブロックが、前記当接面の上方に、前記一対の立壁部の上端の形状の少なくとも一部に対応する形状の突出部を有し、
前記端子金具固定工程で、前記一対の端子固定ブロックにおける前記突出部と前記一対の立壁部の上端とが係合している、端子付き電線の製造方法。
【請求項5】
請求項1に記載の端子付き電線と、コネクタハウジングを備えたコネクタと、を有するコネクタ付き電線であって、
前記端子金具は、前記電線の長手方向における前記電線接続部から前記電線が延びる側とは逆側に連なる端子本体部を備え、
前記電線接続部における前記一対の立壁部は、高さが前記電線の長手方向における前記電線が延びる側から前記端子本体部の側に高くなるように切り替わる一対の係止縁を有し、
前記コネクタハウジングには、前記端子金具が前記端子本体部の側から挿し込まれる差込穴が設けられ、
前記差込穴の内部の対向する内壁面には、一対の係止突起が設けられており、
前記端子金具が前記差込穴に挿し込まれ、前記一対の係止縁に前記一対の係止突起が当接して係止されている、コネクタ付き電線。
発明の詳細な説明
【技術分野】
【0001】
本発明は、端子付き電線及びその製造方法、並びにコネクタ付き電線に関する。
続きを表示(約 1,200 文字)
【背景技術】
【0002】
従来より、自動車には、各種電子機器にバッテリなどの電源から電力を供給したり、制御装置から制御信号などを伝えたりするためにワイヤハーネスが配索されている。当該ワイヤハーネスは、電線とこの電線の末端に取り付けられた端子とを備えた複数の端子付き電線よりなる。
【0003】
端子付き電線の電線は、導電性の複数の素線を撚り合わせた芯線と、該芯線を被覆する絶縁性の被覆部とを備えている。この電線の端末の被覆部を除去して露出した芯線が端子金具に溶着されて端子付き電線を構成する。この芯線と端子金具との溶着は、超音波溶着装置を用いた超音波溶着により行われる。
【0004】
超音波溶着は、端子金具が備える電線接続部に電線の芯線が重ねられ、これをアンビルとホーンとで挟み込んで加圧した状態で、振動子よってホーンに超音波振動が付与されることで行われ、当該超音波振動により生じた熱の作用によって、電線接続部と芯線とが溶着される。このとき、電線の長手方向に振動方向(振幅)が沿うように超音波振動が付与される。
【0005】
しかし、電線の芯線及び端子金具の電線接続部が超音波振動の振動方向に同期して振動してしまうと、芯線と電線接続部との間の摩擦が十分に働かず、接合不足が生じたり、あるいは、接合時のエネルギーのロスに繋がったりしてしまう。
【先行技術文献】
【特許文献】
【0006】
特開2011-18597号公報
【発明の概要】
【発明が解決しようとする課題】
【0007】
したがって、本発明は、超音波溶着による接合不足や、接合時のエネルギーのロスを抑制し得る端子付き電線及びその製造方法を提供することを目的とする。また、本発明は、かかる優れた特徴を備えた端子付き電線とコネクタハウジングとが安定的に結合されたコネクタ付き電線を提供することを他の目的とする。
【課題を解決するための手段】
【0008】
上記目的は、以下の本発明により達成される。即ち、本発明の態様は、以下の通りである。
【0009】
<1>
電線接続部を備えた端子金具と、前記電線接続部に接合される芯線を備えた電線と、を有する端子付き電線であって、
前記電線接続部が、前記芯線が前記電線の長手方向に沿って接合される底壁部と、前記芯線の両側であって前記底壁部の両端から立設した一対の立壁部と、を有し、
前記一対の立壁部の高さが、前記電線の長手方向の位置によって異なっている、端子付き電線。
【0010】
<2>
前記電線の長手方向において、前記一対の立壁部の中途位置の高さが、当該中途位置の両側に比して低い、<1>に記載の端子付き電線。
(【0011】以降は省略されています)
この特許をJ-PlatPat(特許庁公式サイト)で参照する
関連特許
古河電気工業株式会社
銅線
24日前
古河電気工業株式会社
融着機
16日前
古河電気工業株式会社
コネクタ付き電線
今日
古河電気工業株式会社
ワイヤハーネス組立体
23日前
古河電気工業株式会社
保護部材及びワイヤーハーネス
9日前
古河電気工業株式会社
ケーブル及びケーブルシステム
14日前
古河電気工業株式会社
グロメット及びグロメット付ハーネス
24日前
古河電気工業株式会社
通信システム、プログラム及び通信方法
8日前
古河電気工業株式会社
通信システム、プログラム及び通信方法
8日前
古河電気工業株式会社
通信システム、プログラム及び通信方法
8日前
古河電気工業株式会社
通信システム、プログラム及び通信方法
8日前
古河電気工業株式会社
止水カバー付グロメット及び止水カバー付ハーネス
24日前
古河電気工業株式会社
センサシステム、センシング方法およびプログラム
28日前
古河電気工業株式会社
端子付き電線及びその製造方法、並びにコネクタ付き電線
今日
古河電気工業株式会社
端子付き電線及びその製造方法、並びにコネクタ付き電線
今日
古河電気工業株式会社
端子付き電線およびその製造方法、ならびにコネクタ付き電線
今日
株式会社UACJ
磁気ディスク用アルミニウム合金板及び磁気ディスク
22日前
古河電気工業株式会社
端子付き電線およびその製造方法、電線用端子、ならびにコネクタ付き電線
今日
古河電気工業株式会社
皮膜除去方法および皮膜除去装置
8日前
古河電気工業株式会社
磁気ディスク用基板及び磁気ディスク用基板の熱拡散率測定方法、磁気ディスク用基板の検査方法、磁気ディスク用基板の製造方法、ならびに磁気ディスク
10日前
APB株式会社
蓄電セル
14日前
東ソー株式会社
絶縁電線
16日前
個人
フレキシブル電気化学素子
28日前
株式会社東芝
端子台
8日前
日新イオン機器株式会社
イオン源
24日前
株式会社ユーシン
操作装置
28日前
ローム株式会社
半導体装置
15日前
マクセル株式会社
電源装置
8日前
株式会社GSユアサ
蓄電装置
9日前
株式会社GSユアサ
蓄電装置
9日前
株式会社GSユアサ
蓄電装置
1日前
株式会社GSユアサ
蓄電設備
28日前
株式会社GSユアサ
蓄電設備
28日前
太陽誘電株式会社
コイル部品
28日前
オムロン株式会社
電磁継電器
29日前
株式会社ホロン
冷陰極電子源
22日前
続きを見る
他の特許を見る