TOP
|
特許
|
意匠
|
商標
特許ウォッチ
Twitter
他の特許を見る
10個以上の画像は省略されています。
公開番号
2025155336
公報種別
公開特許公報(A)
公開日
2025-10-14
出願番号
2024059123
出願日
2024-04-01
発明の名称
グロメット及びグロメット付ハーネス
出願人
古河電気工業株式会社
,
古河AS株式会社
代理人
個人
,
個人
,
個人
,
個人
,
個人
主分類
H02G
3/22 20060101AFI20251006BHJP(電力の発電,変換,配電)
要約
【課題】止水性を向上させることができるグロメット及びグロメット付ハーネスを提供することを目的とする。
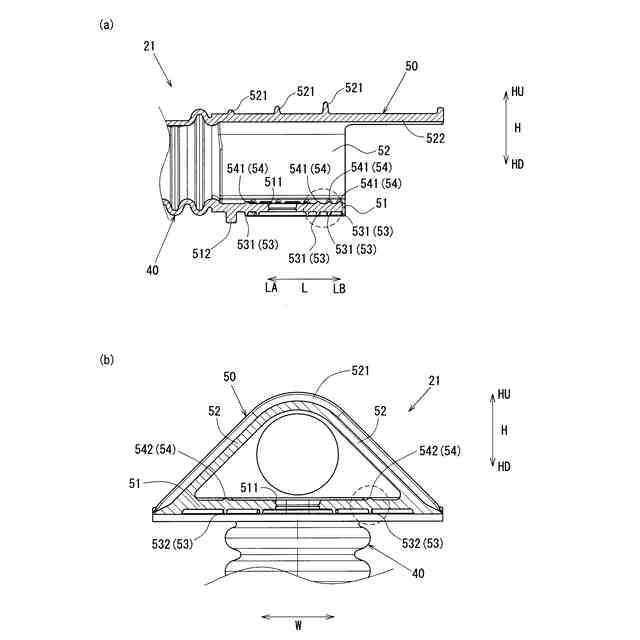
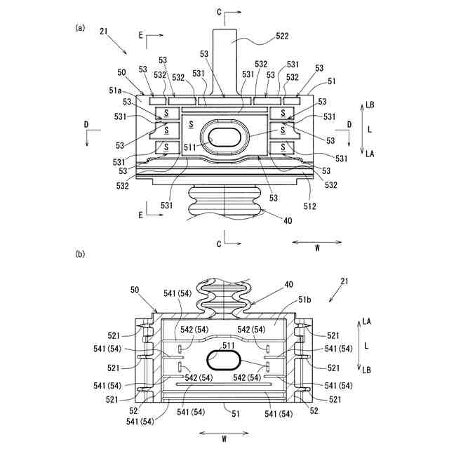
【解決手段】グロメット20は、ハーネスWHを配索させるグロメット本体21と、グロメット本体21に収容されるインナー30とが備えられ、グロメット本体21の一端に、インナー30を収容するとともに、車体パネルPに対して取り付けられるパネル取付部50が設けられ、パネル取付部50には、高さ方向Hに貫通する貫通孔511が設けられるとともに、車体パネルPと対向する平板状の対向部51が備えられている。インナー30に、貫通孔511に挿通して、車体パネルPに設けた固定孔P2に挿通して固定する固定部62が設けられ、対向部51には、車体パネルPに向けて突出するとともに、車体パネルPに当接して止水するインナーリップ53と、インナー30に向けて突出する押圧リブ54がインナーリップ53に対応する位置に設けられている。
【選択図】図9
特許請求の範囲
【請求項1】
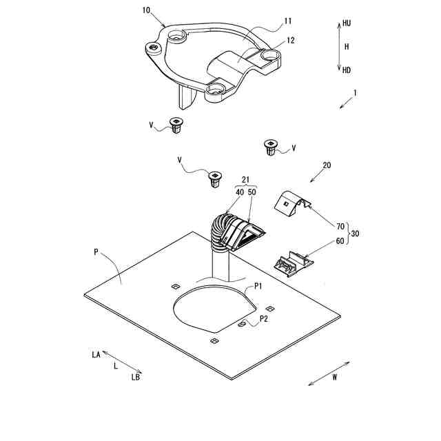
内部にワイヤーハーネスを配索させる筒状のグロメット本体と、
前記グロメット本体に収容され、前記グロメット本体をパネルに固定するインナーとが備えられ、
前記グロメット本体の一端に、前記インナーを収容するとともに、前記パネルに対して取り付けられる取付部が設けられ、
前記取付部に、板厚方向に貫通する貫通孔が設けられるとともに、前記パネルと対向する平板状の対向部が備えられ、
前記インナーに、前記貫通孔に挿通するとともに、前記パネルに設けた固定孔に挿通して固定する固定部が設けられ、
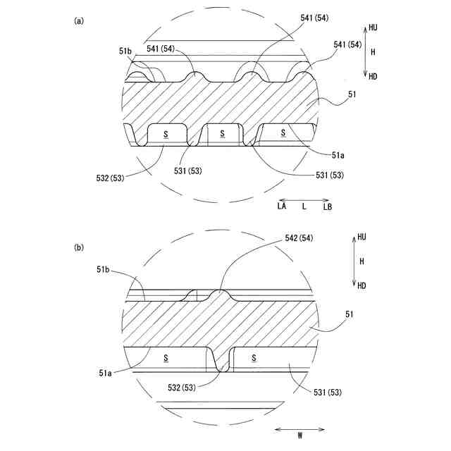
前記対向部には、前記固定部が前記固定孔に固定された状態において、前記パネルに向けて突出するとともに、前記パネルに当接して止水する止水部が備えられ、
前記対向部及び前記インナーの少なくともいずれか一方には、他方に向けて突出するリブが設けられ、
前記リブは、前記止水部に対応する位置に配置された
グロメット。
続きを表示(約 690 文字)
【請求項2】
前記リブは、前記対向部に設けられた
請求項1に記載のグロメット。
【請求項3】
前記リブは、突出方向に向けて先細りする先細り形状で構成された
請求項2に記載のグロメット。
【請求項4】
前記リブと前記止水部とを横断する横断断面において、前記リブの中央が、前記止水部の中央と一致する
請求項3に記載のグロメット。
【請求項5】
前記止水部は、前記ワイヤーハーネスの配索方向に所定の間隔を隔てて複数設けられ、
前記リブは、前記止水部に対応して複数設けられた
請求項1に記載のグロメット。
【請求項6】
前記止水部は、前記固定部の挿入方向から視て、前記ワイヤーハーネスの配索方向と交差する交差方向及び前記配索方向に沿うとともに、前記貫通孔を囲うように矩形状に設けられ、
前記リブは、
前記配索方向に沿った前記止水部に対応する第一リブと、
前記交差方向に沿った前記止水部に対応するとともに、前記第一リブと当接しない第二リブとを備えた
請求項1に記載のグロメット。
【請求項7】
前記取付部は、前記ワイヤーハーネスの配索方向から視て三角形状で構成され、
前記インナーは、前記取付部に嵌合可能な三角形状で構成された
請求項1に記載のグロメット。
【請求項8】
請求項1に記載のグロメットと、
前記グロメット本体に挿通されたワイヤーハーネスとが備えられた
グロメット付ハーネス。
発明の詳細な説明
【技術分野】
【0001】
この発明は、例えば、車両に配索されるワイヤーハーネスを保護するグロメット及びグロメット付ハーネスに関する。
続きを表示(約 1,700 文字)
【背景技術】
【0002】
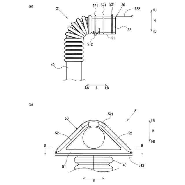
車両に搭載されている電装品を電気的に接続しているワイヤーハーネスは、二次元的又は三次元的に配索されている。このように配索されているワイヤーハーネスは、例えば、床パネルやドアパネルなどのパネルに設けた挿通孔に挿通させる際に、挿通孔の外縁とワイヤーハーネスとが干渉しないようにグロメットを用いて保護することがある。
【0003】
このようなグロメットの一例として、ワイヤーハーネスを挿通させるグロメット本体と、グロメット本体の端部に備えられた取付部に組み付けるとともに、パネルに設けた固定孔に固定するインナーとで構成され、インナーを介してグロメット本体の端部をパネルに固定できるグロメットが特許文献1に開示されている。
【0004】
パネルに固定される取付部には、パネルと当接することで、固定孔からの侵入した水が内部に浸入することを抑制する止水部が設けられているため、車両の内部への浸水を抑制できるとされている。 しかしながら、勢いよく水がかかるような高圧洗浄した場合などには、固定孔から侵入した水が内部に侵入するおそれもあるため、止水性を向上させることが望まれている。
【先行技術文献】
【特許文献】
【0005】
特開2005-086963号公報
【発明の概要】
【発明が解決しようとする課題】
【0006】
この発明は、止水性を向上させることができるグロメット及びグロメット付ハーネスを提供することを目的とする。
【課題を解決するための手段】
【0007】
この発明は、内部にワイヤーハーネスを配索させる筒状のグロメット本体と、前記グロメット本体に収容され、前記グロメット本体をパネルに固定するインナーとが備えられ、前記グロメット本体の一端に、前記インナーを収容するとともに、前記パネルに対して取り付けられる取付部が設けられ、前記取付部に、板厚方向に貫通する貫通孔が設けられるとともに、前記パネルと対向する平板状の対向部が備えられ、前記インナーに、前記貫通孔に挿通するとともに、前記パネルに設けた固定孔に挿通して固定する固定部が設けられ、前記対向部には、前記固定部が前記固定孔に固定された状態において、前記パネルに向けて突出するとともに、前記パネルに当接して止水する止水部が備えられ、前記対向部及び前記インナーの少なくともいずれか一方には、他方に向けて突出するリブが設けられ、前記リブは、前記止水部に対応する位置に配置されたグロメットであることを特徴とする。
またこの発明は、上述のグロメットと、前記グロメット本体に挿通されたワイヤーハーネスとが備えられたグロメット付ハーネスであることを特徴とする。
【0008】
上述の前記止水部に対向する位置に配置されたとは、前記リブと前記止水部とを横断する横断断面において、少なくとも前記リブの一部分が前記止水部の反対側に配置されていればよい。すなわち、前記リブは、前記横断断面において、前記止水部よりも幅広又は幅狭で構成されている場合や、前記止水部に対して幅方向に中心位置がずれている場合も含む。
【0009】
この発明によれば、止水性を向上させることができる。
詳述すると、内部にワイヤーハーネスを配索させる筒状のグロメット本体の一端に設けられた取付部は、インナーを収容するとともに、パネルと対向する平板状の対向部が備えられている。また、インナーには、取付部に設けられた貫通孔に挿通させるとともに、固定孔に固定する固定部が設けられている。そして、対向部及び前記インナーの少なくともいずれか一方には、固定孔に固定部を固定させた固定状態において、他方側に向けてリブが立設している。すなわち、止水部と反対側にリブが設けられている。
【0010】
これにより、取付部をパネルに固定させた固定状態において、リブを介して止水部が効率よく押圧されるため、止水部をパネルに確実に当接させることができる。したがって、止水部による止水性を向上させることができる。
(【0011】以降は省略されています)
この特許をJ-PlatPat(特許庁公式サイト)で参照する
関連特許
古河電気工業株式会社
融着機
17日前
古河電気工業株式会社
コネクタ付き電線
1日前
古河電気工業株式会社
保護部材及びワイヤーハーネス
10日前
古河電気工業株式会社
ケーブル及びケーブルシステム
15日前
古河電気工業株式会社
通信システム、プログラム及び通信方法
9日前
古河電気工業株式会社
通信システム、プログラム及び通信方法
9日前
古河電気工業株式会社
通信システム、プログラム及び通信方法
9日前
古河電気工業株式会社
通信システム、プログラム及び通信方法
9日前
古河電気工業株式会社
端子付き電線及びその製造方法、並びにコネクタ付き電線
1日前
古河電気工業株式会社
端子付き電線及びその製造方法、並びにコネクタ付き電線
1日前
古河電気工業株式会社
端子付き電線およびその製造方法、ならびにコネクタ付き電線
1日前
株式会社UACJ
磁気ディスク用アルミニウム合金板及び磁気ディスク
23日前
古河電気工業株式会社
端子付き電線およびその製造方法、電線用端子、ならびにコネクタ付き電線
1日前
古河電気工業株式会社
皮膜除去方法および皮膜除去装置
9日前
古河電気工業株式会社
磁気ディスク用基板及び磁気ディスク用基板の熱拡散率測定方法、磁気ディスク用基板の検査方法、磁気ディスク用基板の製造方法、ならびに磁気ディスク
11日前
個人
単極モータ
25日前
個人
電気を重力で発電装置
2日前
キヤノン電子株式会社
モータ
9日前
キヤノン電子株式会社
モータ
1日前
株式会社アイシン
ロータ
29日前
株式会社アイシン
ロータ
25日前
日星電気株式会社
ケーブル組立体
17日前
コーセル株式会社
電源装置
10日前
トヨタ自動車株式会社
モータ
1日前
株式会社デンソー
回転機
23日前
株式会社アイシン
ステータ
29日前
株式会社アイシン
ステータ
29日前
株式会社アイシン
ステータ
29日前
株式会社ダイヘン
充電装置
29日前
株式会社アイシン
ステータ
29日前
個人
二次電池繰返パルス放電器用印刷基板
15日前
株式会社kaisei
発電システム
25日前
株式会社ミツバ
回転電機
29日前
株式会社デンソー
電力変換装置
24日前
株式会社ミツバ
回転電機
22日前
株式会社デンソー
電力変換装置
16日前
続きを見る
他の特許を見る