TOP
|
特許
|
意匠
|
商標
特許ウォッチ
Twitter
他の特許を見る
10個以上の画像は省略されています。
公開番号
2025163913
公報種別
公開特許公報(A)
公開日
2025-10-30
出願番号
2024067551
出願日
2024-04-18
発明の名称
通信システム、プログラム及び通信方法
出願人
古河電気工業株式会社
代理人
個人
,
個人
主分類
H04W
36/28 20090101AFI20251023BHJP(電気通信技術)
要約
【課題】通信環境が変化する場合であっても、無線通信の信頼性を担保できる通信システム、プログラム及び通信方法を提供すること。
【解決手段】通信システム100は、経路情報を取得する経路情報取得部104と、基地局情報を取得する基地局情報取得部105と、切替用閾値R0を取得する閾値取得部107と、HO予測エリアを取得するHO予測エリア取得部108と、予定到着時刻を予測する到着時刻予測部109と、HO予測エリアに到達するまでに、HO予測エリアでの基地局72からの受信電波強度を予測する受信電波強度予測部110と、予測された受信電波強度と切替用閾値R0との比較結果に基づいて、多重伝送で新たな接続先にデータを送信するか又は1つの無線回線を介して現在接続している基地局72に送信するかを判定し、その判定結果に基づいてデータを送信する通信制御部111と、を備える。
【選択図】図8
特許請求の範囲
【請求項1】
移動体に搭載され、無線回線を介して基地局との間でデータを送受信する無線通信部を備える通信システムであって、
移動体の位置を示す自己位置情報を取得する位置情報取得部と、
入力された情報に基づいて、移動体が移動する予定の経路に関する経路情報が生成され、前記経路情報を取得する経路情報取得部と、
取得した前記経路情報に含まれている経路の通信エリアをカバーする複数の基地局それぞれの位置情報を含む基地局情報を取得する基地局情報取得部と、
前記無線通信部に無線通信の新たな接続先への切替を実行させる受信電波強度の切替用閾値を取得する閾値取得部と、
少なくとも前記位置情報に基づいて、前記経路情報が含まれている経路において、前記無線通信部が現在接続している基地局を他の基地局に切り替えるハンドオーバの発生が予測されるハンドオーバ予測エリアを取得するハンドオーバ予測エリア取得部と、
前記ハンドオーバ予測エリアに前記移動体が到着する到着時刻を予測する到着時刻予測部と、
前記ハンドオーバ予測エリアに到達するまでに、前記到着時刻における前記ハンドオーバ予測エリアでの前記基地局からの電波の受信電波強度を予測する受信電波強度予測部と、
前記受信電波強度予測部によって予測された前記受信電波強度と前記切替用閾値との比較結果、前記ハンドオーバ予測エリアと前記移動体の現在の位置情報との比較結果、又は前記到着時刻予測部によって予測された到着時刻と現在の時刻との比較結果に基づいて、複数の異なる無線回線それぞれを介して同一のパケットを伝送する多重伝送により新たな接続先にデータを送信するか、又は、1つの無線回線を介してデータを現在接続している基地局に送信するかを判定し、その判定結果に基づいてデータを送信する通信制御部と、を備える通信システム。
続きを表示(約 1,400 文字)
【請求項2】
前記通信制御部は、前記予測された受信電波強度が前記切替用閾値以下である場合に、前記新たな接続先に多重伝送によりデータを送信し、前記予測された受信電波強度が前記切替用閾値を超える場合に、前記現在接続している基地局に同じデータを1つの無線回線を介して送信する請求項1に記載の通信システム。
【請求項3】
前記通信制御部は、前記予測された受信電波強度が前記切替用閾値以下である場合に、前記新たな接続先の候補である複数の接続先候補を前記予測された受信電波強度が高い順に複数特定し、抽出した複数の前記接続先候補へ多重伝送によりデータを送信する請求項2に記載の通信システム。
【請求項4】
前記通信制御部は、前記予測された受信電波強度が前記切替用閾値以下である場合に、前記新たな接続先の候補である複数の接続先候補のうち前記予測された受信電波強度が最も高い前記接続先候補へ多重伝送によりデータを送信し、前記最も高い前記接続先候補以外の前記接続先候補へは同じデータを1つの無線回線を介して送信する請求項2に記載の通信システム。
【請求項5】
前記通信制御部は、前記ハンドオーバ予測エリアから所定の距離の範囲内に移動体が位置する場合又は現在の時刻が前記到着時刻に対して所定の時間範囲内である場合に、前記新たな接続先に多重伝送によりデータを送信する請求項1に記載の通信システム。
【請求項6】
前記通信制御部は、前記予測された受信電波強度が前記切替用閾値よりも小さい通信限界値未満である場合に、前記移動体の運転者に無線通信の通信不良を予報する予報情報を出力する請求項1に記載の通信システム。
【請求項7】
前記通信制御部は、前記予測された受信電波強度が前記切替用閾値よりも小さい通信限界値未満である場合に、前記移動体の運転者に無線通信の通信不良を予報する予測情報を出力するとともに、前記運転者に無線通信部による通信機能の継続又は停止を選択させるための選択情報を出力する請求項1に記載の通信システム。
【請求項8】
前記位置情報取得部、前記経路情報取得部、前記基地局情報取得部、前記閾値取得部、前記ハンドオーバ予測エリア取得部、前記到着時刻予測部、前記受信電波強度予測部、前記通信制御部を有する情報処理装置と、
外部通信装置及び前記情報処理装置と双方向通信を行う前記無線通信部を有する通信装置と、を備える請求項1に記載の通信システム。
【請求項9】
前記情報処理装置は、前記通信装置と、前記移動体の移動情報を検出する車内センサと、前記移動体の周囲の状況を検出する車外センサと、前記移動体の運転者による入力操作を受け付けるとともに、運転者に対して情報を出力する入出力装置と、通信可能であり、
前記通信装置、前記車内センサ、前記車外センサ、及び前記入出力装置から取得した情報に基づいて、前記経路情報の生成、前記ハンドオーバ予測エリアの予測、前記到着時刻の予測、前記ハンドオーバ予測エリアでの前記基地局からの受信電波強度の予測を行う請求項8に記載の通信システム。
【請求項10】
前記入出力装置は、前記情報処理装置による前記経路情報の生成に用いられる複数の地点情報の運転者による入力操作を受け付け、前記情報処理装置に送信する請求項9に記載の通信システム。
(【請求項11】以降は省略されています)
発明の詳細な説明
【技術分野】
【0001】
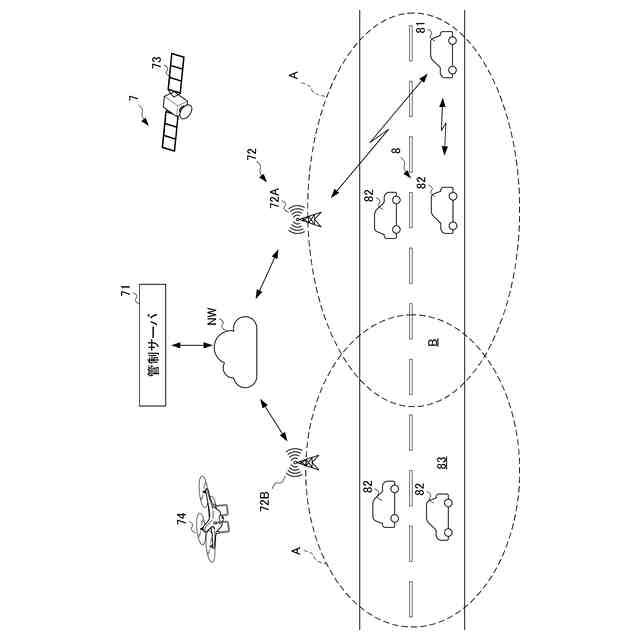
本発明は、通信システム、プログラム及び通信方法に関する。
続きを表示(約 2,100 文字)
【背景技術】
【0002】
従来、自動運転等の車両の各種機能を実行するために、外部と各種データを無線通信する技術が知られている。例えば特許文献1には、自動運転支援センタとの通信が途絶した場合に、通信状況情報に基づいて、自動走行を継続するか否かの決定等を行う技術が記載されている。また特許文献2には、データの抜けがある場合に、前回受信した情報でデータ抜けを補完して支援用データを生成し、走行支援装置に出力する技術が記載されている。
【先行技術文献】
【特許文献】
【0003】
特開2021-71753号公報
特開2017-173904号公報
【発明の概要】
【発明が解決しようとする課題】
【0004】
しかしながら、特許文献1の技術では、通信の途絶の有無によって通信状態を判断しており、通信の途絶が発生するまでは通信品質の悪化を把握できない問題点がある。特許文献2ではデータ抜けが発生した場合に、データ抜けを補完し、データロスのカウント情報で信頼性を評価するため、信頼性に乏しいデータ送受信が生じるとともに、データ抜けが発生するまで通信品質低下の事態を把握できない問題点がある。このため、通信の信頼性を担保するという点で改善の余地があった。
【0005】
本発明は、通信環境が変化する場合であっても、無線通信の信頼性を担保できる通信システム、プログラム及び通信方法を提供することを目的とする。
【課題を解決するための手段】
【0006】
(1)通信システムは、移動体に搭載され、無線回線を介して基地局との間でデータを送受信する無線通信部を備える通信システムであって、移動体の位置を示す自己位置情報を取得する位置情報取得部と、入力された情報に基づいて、移動体が移動する予定の経路に関する経路情報が生成され、前記経路情報を取得する経路情報取得部と、取得した前記経路情報に含まれている経路の通信エリアをカバーする複数の基地局それぞれの位置情報を含む基地局情報を取得する基地局情報取得部と、前記無線通信部に無線通信の新たな接続先への切替を実行させる受信電波強度の切替用閾値を取得する閾値取得部と、少なくとも前記位置情報に基づいて、前記経路情報が含まれている経路において、前記無線通信部が現在接続している基地局を他の基地局に切り替えるハンドオーバの発生が予測されるハンドオーバ予測エリアを取得するハンドオーバ予測エリア取得部と、前記ハンドオーバ予測エリアに前記移動体が到着する到着時刻を予測する到着時刻予測部と、前記ハンドオーバ予測エリアに到達するまでに、前記到着時刻における前記ハンドオーバ予測エリアでの前記基地局からの電波の受信電波強度を予測する受信電波強度予測部と、前記受信電波強度予測部によって予測された前記受信電波強度と前記切替用閾値との比較結果、前記ハンドオーバ予測エリアと前記移動体の現在の位置情報との比較結果、又は前記到着時刻予測部によって予測された到着時刻と現在の時刻との比較結果に基づいて、複数の異なる無線回線それぞれを介して同一のパケットを伝送する多重伝送により新たな接続先にデータを送信するか、又は、1つの無線回線を介してデータを現在接続している基地局に送信するかを判定し、その判定結果に基づいてデータを送信する通信制御部と、を備える。
【0007】
(2)(1)に記載の通信システムにおいて、前記通信制御部は、前記予測された受信電波強度が前記切替用閾値以下である場合に、前記新たな接続先に多重伝送によりデータを送信し、前記予測された受信電波強度が前記切替用閾値を超える場合に、前記現在接続している基地局に同じデータを1つの無線回線を介して送信する。
【0008】
(3)(2)に記載の通信システムにおいて、前記通信制御部は、前記予測された受信電波強度が前記切替用閾値以下である場合に、前記新たな接続先の候補である複数の接続先候補を前記予測された受信電波強度が高い順に複数特定し、抽出した複数の前記接続先候補へ多重伝送によりデータを送信する。
【0009】
(4)(2)に記載の通信システムにおいて、前記通信制御部は、前記予測された受信電波強度が前記切替用閾値以下である場合に、前記新たな接続先の候補である複数の接続先候補のうち前記予測された受信電波強度が最も高い前記接続先候補へ多重伝送によりデータを送信し、前記最も高い前記接続先候補以外の前記接続先候補へは同じデータを1つの無線回線を介して送信する。
【0010】
(5)(1)に記載の通信システムにおいて、前記通信制御部は、前記ハンドオーバ予測エリアから所定の距離の範囲内に移動体が位置する場合又は現在の時刻が前記到着時刻に対して所定の時間範囲内である場合に、前記新たな接続先に多重伝送によりデータを送信する。
(【0011】以降は省略されています)
この特許をJ-PlatPat(特許庁公式サイト)で参照する
関連特許
古河電気工業株式会社
光ファイバケーブル
今日
古河電気工業株式会社
光ファイバケーブル
今日
古河電気工業株式会社
融着機、ピッチ変換部材
今日
古河電気工業株式会社
分岐部保護具及び分岐部保護具付きワイヤーハーネス
今日
古河AS株式会社
結束具及びこれを利用する電線束並びにワイヤハーネス
2日前
古河電気工業株式会社
絶縁電線、コイル、電気・電子機器、及び電気・電子機器の製造方法
9日前
古河電気工業株式会社
接合用フィルム、半導体モジュール、インバータ、電子機器及び半導体モジュールの製造方法
今日
個人
イヤーピース
28日前
個人
イヤーマフ
1か月前
個人
監視カメラシステム
1か月前
キーコム株式会社
光伝送線路
1か月前
個人
スイッチシステム
1か月前
個人
スキャン式車載用撮像装置
1か月前
サクサ株式会社
中継装置
1か月前
WHISMR合同会社
収音装置
2か月前
サクサ株式会社
中継装置
1か月前
キヤノン株式会社
撮像装置
今日
キヤノン株式会社
撮像装置
今日
キヤノン株式会社
撮像装置
今日
キヤノン株式会社
撮像装置
7日前
アイホン株式会社
電気機器
2か月前
キヤノン株式会社
撮像装置
3か月前
キヤノン電子株式会社
画像読取装置
1か月前
株式会社リコー
画像形成装置
1か月前
キヤノン電子株式会社
画像読取装置
1か月前
サクサ株式会社
無線システム
1か月前
サクサ株式会社
無線通信装置
1か月前
サクサ株式会社
無線通信装置
1か月前
キヤノン電子株式会社
画像読取装置
2か月前
個人
映像表示装置、及びARグラス
1か月前
株式会社リコー
画像形成装置
3か月前
ヤマハ株式会社
放音制御装置
1か月前
キヤノン電子株式会社
画像読取装置
28日前
個人
ワイヤレスイヤホン対応耳掛け
2か月前
株式会社リコー
画像形成装置
3か月前
個人
発信機及び発信方法
1か月前
続きを見る
他の特許を見る