TOP
|
特許
|
意匠
|
商標
特許ウォッチ
Twitter
他の特許を見る
10個以上の画像は省略されています。
公開番号
2025177005
公報種別
公開特許公報(A)
公開日
2025-12-05
出願番号
2024083465
出願日
2024-05-22
発明の名称
分岐部保護具及び分岐部保護具付きワイヤーハーネス
出願人
古河電気工業株式会社
,
古河AS株式会社
代理人
個人
,
個人
,
個人
,
個人
,
個人
主分類
H02G
3/04 20060101AFI20251128BHJP(電力の発電,変換,配電)
要約
【課題】分岐部における幹線と枝線の様々な外径に対応しつつ、分岐部を確実に保護できる分岐部保護具及び当該分岐部保護具が装着された分岐部保護具付きワイヤーハーネスを提供することを目的とする。
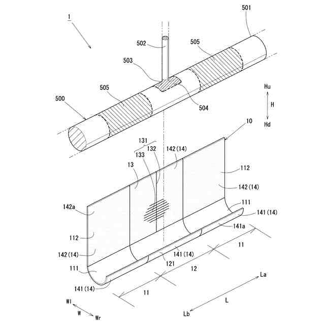
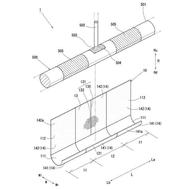
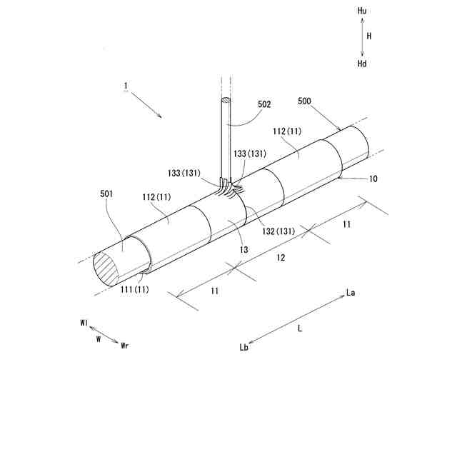
【解決手段】分岐部保護具10は、ワイヤーハーネス500における幹線501から枝線502が分岐する分岐部503を保護するものであって、幹線501における分岐部503の長手方向Lの両側において、幹線501に巻き回す巻回部11と、幹線501の外径に応じた巻回部11の巻き回し状態を固定する面ファスナ14と、幹線501の外周の一部に沿うとともに、長手方向Lにおいて所定間隔を隔てて配置された巻回部11同士を掛渡して連結する枝線保護部12と、巻回部11同士の間において、幹線501から枝線502が分岐する分岐箇所504を覆う覆い部13とが設けられている。
【選択図】図2
特許請求の範囲
【請求項1】
所定方向に延出された幹線と、前記幹線から分岐する枝線とを有するワイヤーハーネスにおける前記幹線から前記枝線が分岐する分岐部を保護する分岐部保護具であって、
前記幹線における前記分岐部の前記所定方向の両側において、前記幹線に巻き回す巻回部と、
前記幹線の外径に応じた前記巻回部の巻き回し状態を固定する固定部と、
前記幹線の外周の少なくとも一部に沿うとともに、前記所定方向において所定間隔を隔てて配置された前記巻回部同士を掛渡して連結する連結部と、
前記巻回部同士の間において、前記幹線から前記枝線が分岐する分岐箇所の少なくとも一部を覆う覆い部とが設けられた
分岐部保護具。
続きを表示(約 1,000 文字)
【請求項2】
前記覆い部は、前記分岐箇所から分岐する前記枝線に追従して変形可能な可撓性を有する
請求項1に記載の分岐部保護具。
【請求項3】
前記覆い部に、前記枝線に追従して変形した状態を固定する覆い部側固定部が備えられた
請求項1に記載の分岐部保護具。
【請求項4】
前記覆い部の前記枝線に追従する変形を補助する変形補助手段が、前記覆い部に備えられた
請求項1に記載の分岐部保護具。
【請求項5】
前記枝線に巻き回す枝線巻回部が備えられ、
前記枝線巻回部は、前記巻回部と前記連結部との少なくとも一方から延出され、
前記枝線の外径に応じた前記枝線巻回部の巻き回し状態を固定する枝線巻回部側固定部が備えられた
請求項1に記載の分岐部保護具。
【請求項6】
前記枝線巻回部の前記枝線に追従する変形を補助する枝線巻回部変形補助手段が前記枝線巻回部に設けられた
請求項5に記載の分岐部保護具。
【請求項7】
前記巻回部、前記覆い部及び前記枝線巻回部のうち、少なくともいずれかが伸縮性素材で形成された
請求項5に記載の分岐部保護具。
【請求項8】
前記巻回部は、
前記幹線の周方向の一部に巻き付ける巻回本体部と、前記巻回本体部の周方向の他方の巻き付け端と重合可能に一方の巻き付け端から延出する延出片部とが備えられ、
前記固定部は、前記一方の巻き付け端に設けられた一方側係合部と、
前記延出片部における、前記他方の巻き付け端との重合箇所に設けられた他方側係合部とが備えられた
請求項1に記載の分岐部保護具。
【請求項9】
前記巻回部は、前記幹線の全周に巻き付けた状態において、一方の巻き付け端と他方の巻き付け端とが径方向に重複する長さを有し、
前記固定部は、前記幹線の全周に巻き付けた前記巻回部の前記一方の巻き付け端に設けられた一方側係合部と、前記一方側係合部と係合可能に前記他方の巻き付け端に設けられた他方側係合部とが備えられた
請求項1に記載の分岐部保護具。
【請求項10】
前記覆い部は、前記幹線の前記分岐箇所に近接可能に前記巻回部に対して移動可能な可動覆い部である
請求項1に記載の分岐部保護具。
(【請求項11】以降は省略されています)
発明の詳細な説明
【技術分野】
【0001】
この発明は、例えば、ワイヤーハーネスにおける幹線から枝線が分岐する分岐部を保護する分岐部保護具及び当該分岐部保護具が装着された分岐部保護具付きワイヤーハーネスに関する。
続きを表示(約 1,600 文字)
【背景技術】
【0002】
自動車をはじめとする車両には、搭載される電装品類同士を電気的に接続するための被覆電線などを束ねたワイヤーハーネスが搭載されている。このようなワイヤーハーネスは、搭載される他部品などとの干渉を防止する目的で、外装部材で外装することによって保護される。
【0003】
ところで、上記ワイヤーハーネスは、車両の様々な箇所に向けて複雑な配索経路で配索されるため、主となる幹線から枝線が分岐する分岐部が設けられることがある。このような分岐部は、例えば特許文献1に開示されているような保護具を用いて保護される。
【0004】
上記特許文献1に開示の保護具は、幹線に対して巻き回して密着させる所定形状のシート状に形成されている。具体的には、特許文献1に開示の保護具は、幹線に対して巻き回す本体部と、該本体部から互いに反対方向に突出する2つの延出片とで構成されている。そして、分岐部における幹線側に上記本体部を巻き回して装着し、上記延出片を、幹線の延設方向における枝線の両側にそれぞれ巻き回して装着することで、延出片同士が枝線を延設方向に挟むように配置されるため、分岐部を1枚のシート状の保護具で保護できるというものである。
【0005】
ところで、昨今においては、車両に搭載される電装品類の増加などに伴い、上記分岐部における幹線及び枝線の外径も多様化している。このような場合において、上記特許文献1に開示の保護具では、例えば枝線の外径が大きな場合には延出片と枝線との間に隙間が生じたりするなど、多様化する幹線及び枝線の外径に対応できず、適切に分岐部を保護できないおそれがあった。
【先行技術文献】
【特許文献】
【0006】
特開2017-011813号公報
【発明の概要】
【発明が解決しようとする課題】
【0007】
この発明は、分岐部における幹線と枝線の様々な外径に対応しつつ、分岐部を確実に保護できる分岐部保護具及び当該分岐部保護具が装着された分岐部保護具付きワイヤーハーネスを提供することを目的とする。
【課題を解決するための手段】
【0008】
この発明は、所定方向に延出された幹線と、前記幹線から分岐する枝線とを有するワイヤーハーネスにおける前記幹線から前記枝線が分岐する分岐部を保護する分岐部保護具であって、前記幹線における前記分岐部の前記所定方向の両側において、前記幹線に巻き回す巻回部と、前記幹線の外径に応じた前記巻回部の巻き回し状態を固定する固定部と、前記幹線の外周の少なくとも一部に沿うとともに、前記所定方向において所定間隔を隔てて配置された前記巻回部同士を掛渡して連結する連結部と、前記巻回部同士の間において、前記幹線から前記枝線が分岐する分岐箇所の少なくとも一部を覆う覆い部とが設けられたことを特徴とする。
【0009】
上記所定方向は、上記幹線が延設される延設方向であり、換言すると幹線の長手方向となる。
上記ワイヤーハーネスは、被覆電線や被覆電線の束の他、光ファイバーケーブルなどの通信用ケーブルや通信用ケーブルの束、被覆電線と通信用ケーブルの束などを含む。
【0010】
上記固定部は、例えば、巻回部の主面に設けられた面ファスナや、巻回部に設けられた結束バンドであってもよい。さらには、巻回部の主面に設けられ、互いに嵌合できる凹部と凸部とで構成されたいわゆるスナップボタンなどであってもよい。なお、上記凹部及び凸部については、数に特に限定はなく、例えば凹部が複数設けられ、凸部が1つのみ設けられていてもよいし、凸部が複数設けられ、凹部が1つのみ設けられていてもよい。さらには、凹部及び凸部の双方が複数設けられていてもよい。
(【0011】以降は省略されています)
この特許をJ-PlatPat(特許庁公式サイト)で参照する
関連特許
古河電気工業株式会社
融着機
1か月前
古河電気工業株式会社
コネクタ付き電線
28日前
古河電気工業株式会社
光ファイバケーブル
今日
古河電気工業株式会社
光ファイバケーブル
今日
古河電気工業株式会社
ワイヤハーネス組立体
1か月前
古河電気工業株式会社
融着機、ピッチ変換部材
今日
古河電気工業株式会社
ケーブル及びケーブルシステム
1か月前
古河電気工業株式会社
保護部材及びワイヤーハーネス
1か月前
古河電気工業株式会社
通信システム、プログラム及び通信方法
1か月前
古河電気工業株式会社
通信システム、プログラム及び通信方法
1か月前
古河電気工業株式会社
通信システム、プログラム及び通信方法
1か月前
古河電気工業株式会社
通信システム、プログラム及び通信方法
1か月前
古河電気工業株式会社
光ファイバ心線および光ファイバ心線の製造方法
15日前
古河電気工業株式会社
分岐部保護具及び分岐部保護具付きワイヤーハーネス
今日
古河電気工業株式会社
端子付き電線及びその製造方法、並びにコネクタ付き電線
28日前
古河電気工業株式会社
端子付き電線及びその製造方法、並びにコネクタ付き電線
28日前
古河電気工業株式会社
端子付き電線およびその製造方法、ならびにコネクタ付き電線
28日前
株式会社UACJ
磁気ディスク用アルミニウム合金板及び磁気ディスク
1か月前
古河電気工業株式会社
端子付き電線およびその製造方法、電線用端子、ならびにコネクタ付き電線
28日前
古河AS株式会社
結束具及びこれを利用する電線束並びにワイヤハーネス
2日前
古河電気工業株式会社
皮膜除去方法および皮膜除去装置
1か月前
古河電気工業株式会社
絶縁電線、コイル、電気・電子機器、及び電気・電子機器の製造方法
9日前
古河ネットワークソリューション株式会社
プロキシサーバ配下における通信可視化装置、通信可視化方法、及び通信可視化プログラム
23日前
古河電気工業株式会社
接合用フィルム、半導体モジュール、インバータ、電子機器及び半導体モジュールの製造方法
今日
古河電気工業株式会社
磁気ディスク用基板及び磁気ディスク用基板の熱拡散率測定方法、磁気ディスク用基板の検査方法、磁気ディスク用基板の製造方法、ならびに磁気ディスク
1か月前
個人
高圧電気機器の開閉器
16日前
個人
電気を重力で発電装置
29日前
キヤノン電子株式会社
モータ
1か月前
キヤノン電子株式会社
モータ
28日前
日星電気株式会社
ケーブル組立体
1か月前
コーセル株式会社
電源装置
1か月前
株式会社アイドゥス企画
減反モータ
16日前
トヨタ自動車株式会社
モータ
28日前
株式会社デンソー
端子台
9日前
株式会社デンソー
回転機
1か月前
株式会社デンソー
回転電機
今日
続きを見る
他の特許を見る