TOP
|
特許
|
意匠
|
商標
特許ウォッチ
Twitter
他の特許を見る
公開番号
2025175494
公報種別
公開特許公報(A)
公開日
2025-12-03
出願番号
2024081635
出願日
2024-05-20
発明の名称
結束具及びこれを利用する電線束並びにワイヤハーネス
出願人
古河AS株式会社
,
古河電気工業株式会社
代理人
個人
,
個人
,
個人
主分類
H02G
3/04 20060101AFI20251126BHJP(電力の発電,変換,配電)
要約
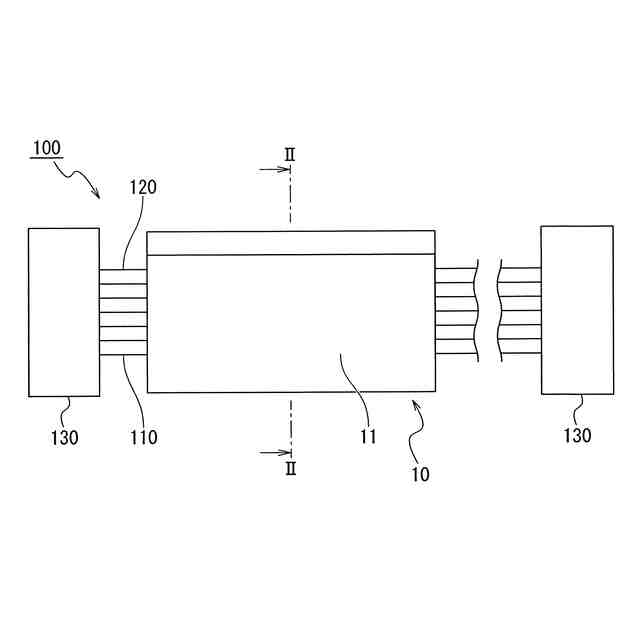
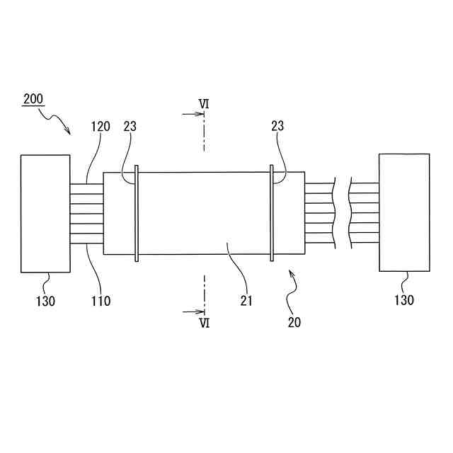
【課題】第一の金属材料製の心線を有する第一の電線と、第二の金属材料製の心線を有する第二の電線とが束ねられた電線束から第一の金属材料と第二の金属材料とを容易に分別できる手段を提供する。
【解決手段】銅製の心線111を有する銅電線110と、アルミニウム製の心線121を有するアルミニウム電線120とを束ねる結束具20であって、銅電線110及びアルミニウム電線120を束ねるように包囲する巻装シート21と、巻装シート21の内面に設けられて銅電線110とアルミニウム電線120との間を仕切るように当該間に介在し、アルミニウム電線120を包囲するように拘束すると共に、アルミニウム電線120を装入可能とする切れ込み22aを形成された留め部材22と、巻装シート21を固定保持する結束バンド23と、を備える。
【選択図】図6
特許請求の範囲
【請求項1】
第一の金属材料製の心線を有する第一の電線と、第二の金属材料製の心線を有する第二の電線とを束ねる結束具であって、
前記第一の電線及び前記第二の電線を束ねるように包囲する巻装シートと、
前記第一の電線及び前記第二の電線を包囲する前記巻装シートの内面に設けられて前記第一の電線と前記第二の電線との間を仕切るように当該間に介在する仕切部材と、
前記第一の電線及び前記第二の電線を束ねる前記巻装シートを固定保持する固定保持手段と、
を備えていることを特徴とする結束具。
続きを表示(約 790 文字)
【請求項2】
前記固定保持手段は、
前記巻装シートの、包囲した前記第一の電線及び前記第二の電線の径方向に位置する一方端側に形成され、当該一方端の縁に沿って長手方向を向けたスリットと、
前記巻装シートの、包囲した前記第一の電線及び前記第二の電線の径方向に位置する他方端側に形成され、前記スリットに保持されるように差し込み可能なフラップと、
を備えていることを特徴とする請求項1に記載の結束具。
【請求項3】
前記固定保持手段は、結束バンド又は面ファスナである
ことを特徴とする請求項1に記載の結束具。
【請求項4】
前記仕切部材は、
前記第一の電線又は前記第二の電線を包囲するように拘束すると共に、前記第一の電線又は前記第二の電線を装入可能とする切れ込みを形成された留め部材である
ことを特徴とする請求項1に記載の結束具。
【請求項5】
前記第一の電線は、前記第一の金属材料が銅又は銅合金である銅電線であり、
前記第二の電線は、前記第二の金属材料がアルミニウム又はアルミニウム合金であるアルミニウム電線である
ことを特徴とする請求項1に記載の結束具。
【請求項6】
前記第一の電線と、
前記第二の電線と、
前記第一の電線と前記第二の電線とを束ねる請求項1から5のいずれか一項に記載の結束具と、
を備えていることを特徴とする電線束。
【請求項7】
前記第一の電線と、
前記第二の電線と、
前記第一の電線及び前記第二の電線の端部に接続されたコネクタと、
前記第一の電線と前記第二の電線とを束ねる請求項1から5のいずれか一項に記載の結束具と、
を備えていることを特徴とするワイヤハーネス。
発明の詳細な説明
【技術分野】
【0001】
本発明は、結束具及びこれを利用する電線束並びにワイヤハーネスに関する。
続きを表示(約 1,300 文字)
【背景技術】
【0002】
廃棄処分される自動車は、部品毎に解体されて材料別に分けられて再利用されている。例えば、ワイヤハーネスは、車両から取り外された後、端部のコネクタ等が取り除かれ、電線束がシュレッダで破砕されることにより、心線部分の銅金属と、絶縁層部分の樹脂とに容易に分別できることが下記特許文献1にて提案されている。
【先行技術文献】
【特許文献】
【0003】
特開2002-313164号公報
【発明の概要】
【発明が解決しようとする課題】
【0004】
近年、銅製の心線の電線と共に、アルミニウム製の心線の電線も併せて束ねたワイヤハーネスが利用されている。このようなワイヤハーネスにおいては、電線束をシュレッダで破砕すると、銅金属とアルミニウム金属とが混在してしまい、分別に多大な労力を要してしまっていた。
【0005】
このような問題は、銅製の心線の電線とアルミニウム製の心線の電線とを束ねたワイヤハーネスに限らず、第一の金属材料製の心線を有する第一の電線と、第二の金属材料製の心線を有する第二の電線とが束ねられた電線束であれば、上述した場合と同様にして生じ得ることである。
【0006】
このようなことから、本発明は、第一の金属材料製の心線を有する第一の電線と、第二の金属材料製の心線を有する第二の電線とが束ねられた電線束から第一の金属材料と第二の金属材料とを容易に分別できる手段を提供することを目的とする。
【課題を解決するための手段】
【0007】
前述した課題を解決するための、本発明は、第一の金属材料製の心線を有する第一の電線と、第二の金属材料製の心線を有する第二の電線とを束ねる結束具であって、前記第一の電線及び前記第二の電線を束ねるように包囲する巻装シートと、前記第一の電線及び前記第二の電線を包囲する前記巻装シートの内面に設けられて前記第一の電線と前記第二の電線との間を仕切るように当該間に介在する仕切部材と、前記第一の電線及び前記第二の電線を束ねる前記巻装シートを固定保持する固定保持手段と、を備えていることを特徴とする結束具である。
【0008】
また、本発明は、上述した結束具において、前記固定保持手段が、前記巻装シートの、包囲した前記第一の電線及び前記第二の電線の径方向に位置する一方端側に形成され、当該一方端の縁に沿って長手方向を向けたスリットと、前記巻装シートの、包囲した前記第一の電線及び前記第二の電線の径方向に位置する他方端側に形成され、前記スリットに保持されるように差し込み可能なフラップと、を備えていると、好ましい。
【0009】
また、本発明は、上述した結束具において、前記固定保持手段が、結束バンド又は面ファスナであると、好ましい。
【0010】
また、本発明は、上述した結束具において、前記仕切部材が、前記第一の電線又は前記第二の電線を包囲するように拘束すると共に、前記第一の電線又は前記第二の電線を装入可能とする切れ込みを形成された留め部材であると、好ましい。
(【0011】以降は省略されています)
この特許をJ-PlatPat(特許庁公式サイト)で参照する
関連特許
古河電気工業株式会社
端子
1か月前
古河電気工業株式会社
コネクタ付き電線
27日前
古河電気工業株式会社
コネクタ接続構造
1か月前
古河電気工業株式会社
レーダ装置の配置構造
1か月前
古河電気工業株式会社
ワイヤハーネス組立体
1か月前
古河電気工業株式会社
フラットケーブル組立体
1か月前
古河電気工業株式会社
ワイヤハーネス用コネクタ
1か月前
古河電気工業株式会社
コネクタ及びコネクタ接続構造
1か月前
古河AS株式会社
結束具及びこれを利用する電線束並びにワイヤハーネス
1日前
古河電気工業株式会社
保護部材及びワイヤーハーネス
1か月前
古河電気工業株式会社
グロメット及びグロメット付ハーネス
1か月前
古河電気工業株式会社
センサシステム、センシング方法およびプログラム
1か月前
古河電気工業株式会社
止水カバー付グロメット及び止水カバー付ハーネス
1か月前
古河電気工業株式会社
端子付き電線及びその製造方法、並びにコネクタ付き電線
27日前
古河電気工業株式会社
端子付き電線及びその製造方法、並びにコネクタ付き電線
27日前
古河電気工業株式会社
端子付き電線およびその製造方法、ならびにコネクタ付き電線
27日前
古河電気工業株式会社
フラットケーブル組立体、回転コネクタ装置、及び、スライドドアハーネス
1か月前
古河電気工業株式会社
端子付き電線およびその製造方法、電線用端子、ならびにコネクタ付き電線
27日前
古河電気工業株式会社
樹脂組成物、樹脂被覆材、絶縁電線、絶縁電線の製造方法、自動車用ワイヤーハーネス及び自動車用ワイヤーハーネスの製造方法
1か月前
個人
高圧電気機器の開閉器
15日前
個人
電気を重力で発電装置
28日前
キヤノン電子株式会社
モータ
27日前
キヤノン電子株式会社
モータ
1か月前
日星電気株式会社
ケーブル組立体
1か月前
コーセル株式会社
電源装置
1か月前
株式会社アイドゥス企画
減反モータ
15日前
トヨタ自動車株式会社
モータ
27日前
株式会社デンソー
回転機
1か月前
株式会社デンソー
端子台
8日前
個人
二次電池繰返パルス放電器用印刷基板
1か月前
株式会社デンソー
電力変換装置
1か月前
本田技研工業株式会社
回転電機
1日前
ローム株式会社
半導体集積回路
6日前
株式会社ミツバ
回転電機
1か月前
株式会社デンソー
非接触受電装置
1か月前
矢崎総業株式会社
給電装置
7日前
続きを見る
他の特許を見る