TOP
|
特許
|
意匠
|
商標
特許ウォッチ
Twitter
他の特許を見る
10個以上の画像は省略されています。
公開番号
2025153276
公報種別
公開特許公報(A)
公開日
2025-10-10
出願番号
2024055665
出願日
2024-03-29
発明の名称
コネクタ及びコネクタ接続構造
出願人
古河電気工業株式会社
,
古河AS株式会社
代理人
個人
,
個人
,
個人
,
個人
,
個人
主分類
H01R
13/6581 20110101AFI20251002BHJP(基本的電気素子)
要約
【課題】シールド体の態様を問わずシールド体と筐体とを電気的に接続できるコネクタ及びコネクタ接続構造を提供することを目的としている。
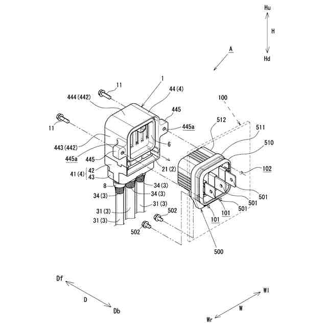
【解決手段】ハーネス側コネクタ1は、先端にハーネス側端子30が設けられた三本の電線31と、ハーネス側端子30を内部に収容する、導電性を有するアウターシェル4と、電磁ノイズを遮蔽するシールド34とが設けられ、アウターシェル4に、導入される電線31に沿って突出するとともに、導電性を有する本体側突出部424及びカバー側突出部431が設けられ、本体側突出部424及びカバー側突出部431は、シールド34と接続可能に構成されている。
【選択図】図1
特許請求の範囲
【請求項1】
先端に端子が設けられた複数の電線と、
前記電線が導入されるとともに、前記端子を内部に収容する、導電性を有する筐体と、
前記電線を囲繞し、電磁ノイズを遮蔽するシールド体とが設けられ、
前記筐体に、
導入される前記電線に沿って突出するとともに、導電性を有する突出部が設けられ、
前記突出部が、前記シールド体と接続可能に構成された
コネクタ。
続きを表示(約 640 文字)
【請求項2】
前記突出部は、
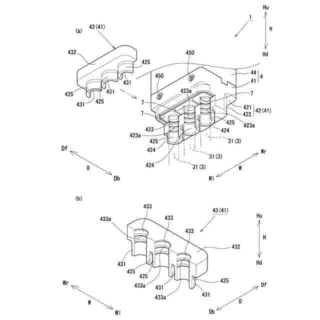
複数の前記電線に対応して複数設けられた
請求項1に記載のコネクタ。
【請求項3】
前記突出部は、
前記電線のそれぞれを挿通可能な筒状に形成された
請求項2に記載のコネクタ。
【請求項4】
筒状に形成された前記突出部は、
前記筐体に設けられたベース部と、
前記ベース部に対して脱着可能に構成されたカバー部とが備えられた
請求項3に記載のコネクタ。
【請求項5】
複数の前記カバー部を連結して一体化する連結部が設けられた
請求項4に記載のコネクタ。
【請求項6】
筒状に形成された前記突出部の外面にかぶせた前記シールド体を固定する固定具が設けられた
請求項3に記載のコネクタ。
【請求項7】
前記突出部の突出方向における先端側に、前記電線の挿通方向に交差する交差方向に突出し、前記固定具の抜け出しを防止する抜け出し防止部が設けられた
請求項6に記載のコネクタ。
【請求項8】
複数の前記突出部のそれぞれに設けられた前記抜け出し防止部は、前記交差方向に整列された
請求項7に記載のコネクタ。
【請求項9】
請求項1乃至8に記載のいずれかのコネクタと、
前記コネクタと接続される第二コネクタとが備えられた
コネクタ接続構造。
発明の詳細な説明
【技術分野】
【0001】
この発明は、例えば、シールド体と電気的に接続されるコネクタ及び当該コネクタを用いたコネクタ接続構造に関する。
続きを表示(約 1,600 文字)
【背景技術】
【0002】
従来、自動車などに搭載される電装品類は、それぞれに装着されたコネクタを介して互いに接続される。このようなコネクタは、ワイヤーハーネスを構成する電線に接続された端子を収容している。そして、かかるコネクタと相手側コネクタとが接続すると、互いの端子同士が連結して電気的に接続されることとなる。
【0003】
上述のようなコネクタに接続される電線には、外部からの電磁ノイズを遮断、もしくは電線より生じる電磁ノイズを外部に漏洩させないための導電性を有するシールド体が備えられており、電磁ノイズによる電装品類の誤動作を防止している。このようなシールド体を備えたコネクタとして、例えば特許文献1に開示されているコネクタがある。
【0004】
ところで、上述の電線のシールド体は、シールド電線における絶縁被覆層の内部に配置されている場合や、絶縁被覆層の内部にシールド体を備えず、絶縁被覆層の外側に外装されている場合など、様々な態様で備えられている。そして、電線の外側をシールド体が外装しているものであっても、複数の電線に対して一つのシールド体でまとめて外装する場合や、複数の電線のそれぞれを複数のシールド体で外装するといった場合がある。そのため、シールド体の様々な態様に応じたコネクタをそれぞれ用意する必要があり、部品点数の増加につながっていた。
【先行技術文献】
【特許文献】
【0005】
特開2017-208307号公報
【発明の概要】
【発明が解決しようとする課題】
【0006】
この発明は、シールド体の態様を問わずシールド体と筐体とを電気的に接続できるコネクタ及びコネクタ接続構造を提供することを目的としている。
【課題を解決するための手段】
【0007】
この発明は、先端に端子が設けられた複数の電線と、前記電線が導入されるとともに、前記端子を内部に収容する、導電性を有する筐体と、前記電線を囲繞し、電磁ノイズを遮蔽するシールド体とが設けられ、前記筐体に、導入される前記電線に沿って突出するとともに、導電性を有する突出部が設けられ、前記突出部が、前記シールド体と接続可能に構成されたコネクタであることを特徴とする。
またこの発明は、上述のコネクタと、前記コネクタと接続される第二コネクタとが備えられたコネクタ接続構造であることを特徴とする。
【0008】
上記シールド体は、例えば、銅線などの金属線を編み上げたいわゆる編組シールドであってもよいし、金属箔などで構成されたいわゆるフォイルシールドなどであってもよい。
上記突出部は、電線に沿って筐体から突出していれば形状に限定はない。例えば、電線における外周の一部を囲繞するように突出していてもよいし、電線に沿って延出した棒状や板状などであってもよい。
【0009】
この発明により、シールド体の態様を問わずシールド体と筐体とを電気的に接続できるコネクタを構成することができる。
詳述すると、先端に端子が設けられた複数の電線と、電線が導入されるとともに端子を内部に収容する導電性を有する筐体とが備えられたコネクタにおいて、筐体に設けられ、導入される電線に沿って突出するとともに導電性を有する突出部と、電磁ノイズを遮蔽するシールド体とが接続可能に構成されている。
【0010】
そのため、絶縁被覆層の内部に配置されたシールド体を有するシールド電線であっても、絶縁被覆層の内部にシールド体を備えず、絶縁被覆層の外側にシールド体が外装されている電線であっても、突出部に対してシールド体を接触させるだけで、電線におけるシールド体の配置や態様を問わずに導電性を有する突出部とシールド体とを電気的に接続することができる。
(【0011】以降は省略されています)
この特許をJ-PlatPat(特許庁公式サイト)で参照する
関連特許
古河電気工業株式会社
銅線
2日前
古河電気工業株式会社
端子
7日前
古河電気工業株式会社
端子
6日前
古河電気工業株式会社
複合ケーブル
7日前
古河電気工業株式会社
複合ケーブル
7日前
古河電気工業株式会社
コネクタ接続構造
6日前
古河電気工業株式会社
光半導体モジュール
6日前
古河電気工業株式会社
ワイヤハーネス組立体
1日前
古河電気工業株式会社
レーダ装置の配置構造
6日前
古河電気工業株式会社
電子部品加工用テープ
6日前
古河電気工業株式会社
ウエハ加工用粘着テープ
7日前
古河電気工業株式会社
フラットケーブル組立体
6日前
古河電気工業株式会社
光モジュール、光接続構造
7日前
古河電気工業株式会社
ワイヤハーネス用コネクタ
6日前
古河電気工業株式会社
レーザ装置および制御方法
6日前
古河電気工業株式会社
半導体ウェハ表面保護用テープ
6日前
古河電気工業株式会社
コネクタ及びコネクタ接続構造
6日前
古河電池株式会社
双極型蓄電池
7日前
古河電気工業株式会社
グロメット及びグロメット付ハーネス
2日前
古河樹脂加工株式会社
木質配合樹脂管
6日前
古河電気工業株式会社
通信システム、プログラム及び通信方法
7日前
古河電気工業株式会社
フェルールホルダ、光接続構造、光モジュール
7日前
古河電気工業株式会社
センサシステム、センシング方法およびプログラム
6日前
古河電気工業株式会社
止水カバー付グロメット及び止水カバー付ハーネス
2日前
古河樹脂加工株式会社
配管固定具および配管固定構造
7日前
古河電池株式会社
双極型蓄電池及び双極型蓄電池の製造方法
7日前
古河電池株式会社
双極型蓄電池用バイプレート、双極型蓄電池
8日前
株式会社UACJ
磁気ディスク用アルミニウム合金板及び磁気ディスク
今日
古河電気工業株式会社
フラットケーブル組立体、回転コネクタ装置、及び、スライドドアハーネス
6日前
古河電気工業株式会社
フィルム状接着剤、その硬化フィルムを具備する積層レンズ、フィルム状接着剤用のドープ
7日前
古河電気工業株式会社
樹脂組成物、樹脂被覆材、絶縁電線、絶縁電線の製造方法、自動車用ワイヤーハーネス及び自動車用ワイヤーハーネスの製造方法
6日前
古河電気工業株式会社
フィルム状接着剤、接着剤用組成物、ダイシング・ダイアタッチフィルム、並びに半導体パッケージ及び半導体パッケージの製造方法
7日前
日本発條株式会社
積層体
17日前
個人
フレキシブル電気化学素子
6日前
ローム株式会社
半導体装置
15日前
株式会社ユーシン
操作装置
6日前
続きを見る
他の特許を見る