TOP
|
特許
|
意匠
|
商標
特許ウォッチ
Twitter
他の特許を見る
10個以上の画像は省略されています。
公開番号
2025168708
公報種別
公開特許公報(A)
公開日
2025-11-12
出願番号
2024073364
出願日
2024-04-30
発明の名称
プロキシサーバ配下における通信可視化装置、通信可視化方法、及び通信可視化プログラム
出願人
古河ネットワークソリューション株式会社
,
古河電気工業株式会社
代理人
個人
,
個人
主分類
H04L
43/026 20220101AFI20251105BHJP(電気通信技術)
要約
【課題】端末がプロキシサーバを介して通信する環境においても、端末の接続先のサービスの名称をフローデータに紐づけることにより、通信の可視化を実現すること。
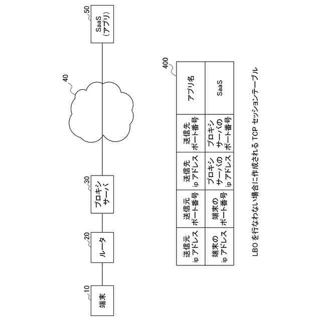
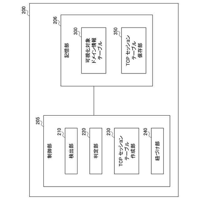
【解決手段】検出部210は、端末が送信するCONNECTメソッドを覗き見して、端末の接続先のドメイン名を検出する。判定部220は、検出したドメイン名に基づいて、端末の接続先のサービスの名称が可視化の対象であるか否か判定する。端末の接続先のサービスの名称が可視化の対象である場合に、TCPセッションテーブル作成部230は、端末の接続先のサービスの名称を含むようにTCPセッションテーブルを作成する。紐づけ部240は、sFlowなどのフローデータ収集手段により収集されたフローデータを、TCPセッションテーブル保存部350に保存されているTCPセッションテーブルと紐づける。
【選択図】図4
特許請求の範囲
【請求項1】
端末がプロキシサーバを介して通信する環境において、前記端末と前記プロキシサーバとの間に配置される通信可視化装置であって、
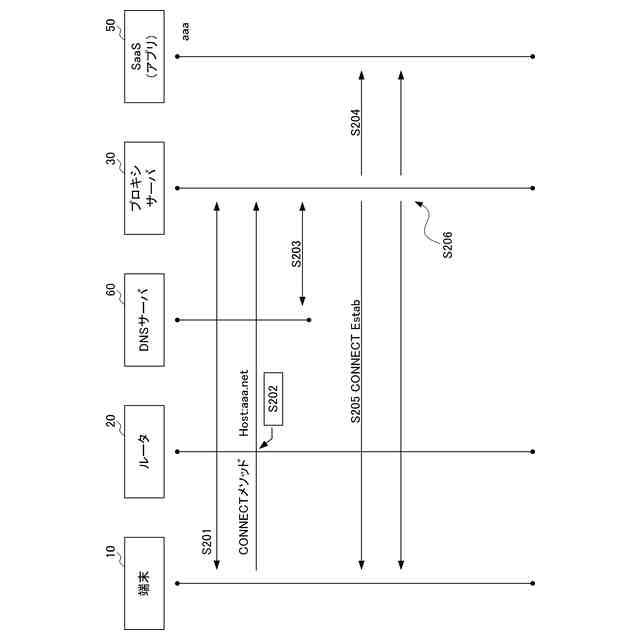
前記端末と前記プロキシサーバ間の通信を覗き見して、端末がアクセスしようとしている接続先のドメイン名を検出する検出部と、
前記端末と前記プロキシサーバとの間の通信を覗き見して得られたドメイン名を用いて、前記端末がアクセスしようとしている接続先が提供するサービスの名称を含むTCPセッションテーブルを作成するTCPセッションテーブル作成部と、
前記TCPセッションテーブルを参照することにより、フローデータ収集手段により収集された、少なくとも送信元のIPアドレス、送信先のIPアドレスを含む通信のフローデータに、前記サービスの名称を紐づける紐づけ部と、
を備えた通信可視化装置。
続きを表示(約 760 文字)
【請求項2】
前記紐づけ部は、送信元のIPアドレス、送信元のポート番号、送信先のIPアドレス、及び送信先のポート番号が共通であるフローデータとTCPセッションテーブルとを紐づける、請求項1に記載の通信可視化装置。
【請求項3】
前記TCPセッションテーブル作成部が作成したTCPセッションテーブルをデータプレーンに登録する、請求項1に記載の通信可視化装置。
【請求項4】
前記検出部が検出したドメイン名に基づいて、前記端末がアクセスしようとしている接続先が提供するサービスが可視化の対象であるか否か判定する判定部をさらに備え、
前記サービスが可視化の対象である場合に、前記TCPセッションテーブル作成部がTCPセッションテーブルを作成する、請求項1に記載の通信可視化装置。
【請求項5】
端末とプロキシサーバ間の通信を覗き見して、端末がアクセスしようとしている接続先のドメイン名を検出する検出ステップと、
前記端末と前記プロキシサーバとの間の通信を覗き見して得られたドメイン名を用いて、前記端末がアクセスしようとしている接続先が提供するサービスの名称を含むTCPセッションテーブルを作成するTCPセッションテーブル作成ステップと、
前記TCPセッションテーブルを参照することにより、フローデータ収集手段により収集された、少なくとも送信元のIPアドレス、送信先のIPアドレスを含む通信のフローデータに、前記サービスの名称を紐づける紐づけステップと、
をコンピュータが実行する通信可視化方法。
【請求項6】
請求項1から請求項4のいずれかに記載の通信可視化装置として、コンピュータを機能させるための通信可視化プログラム。
発明の詳細な説明
【技術分野】
【0001】
本発明は、プロキシサーバが存在する環境において、通信状況を可視化する装置に関する。
続きを表示(約 1,300 文字)
【背景技術】
【0002】
近年、企業、学校など、様々な場所からインターネットにアクセスし、様々なサービスを利用することが一般的な状況になってきている。それに伴い、セキュリティやネットワークの維持管理の観点から、通信状況を見える化する技術が普及しつつある。
その技術の1つにRFC3176で標準化されたsFlowという技術がある。sFlowを用いることにより、通信に関するデータをフロー単位で収集することができる。そのsFlowを用いた可視化ツールも既に存在し、ネットワークの運用に貢献している。
なお、フロー単位で収集された通信に関するデータは、「フローデータ」と呼ばれている。
【先行技術文献】
【特許文献】
【0003】
特許第7178522号公報
【発明の概要】
【発明が解決しようとする課題】
【0004】
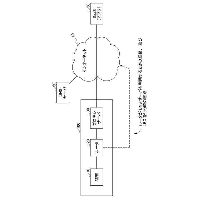
sFlowを用いた見える化は、sFlowで収集したフローデータの送信先IPアドレスからドメイン情報を得て、そのドメイン情報に基づいてアクセス先を特定し、見える化で利用しているケースが多い。企業や学校にプロキシサーバがある環境では、フローデータの送信先IPアドレスがプロキシサーバとなる。このため、アクセス先が特定できないという問題がある。
【0005】
また、プロキシサーバを経由した後、sFlowによるフローデータの取得を実施すると、アクセス先の情報は特定できるが、通信元のIPアドレスがすべてプロキシサーバとなってしまうため、誰がアクセスしているのか分からないという課題があった。
【0006】
また、性能面に関しては、ルータがプロキシサーバの機能を代用した場合、端末とルータ間、及びルータとクラウドサービス間という2つのセッションを一度終端する必要があり、コントロールプレーンを介して通信することになる。この結果、コントロールプレーンの性能で、通信全体の性能が制限されることになる。
【0007】
つまり、ルータは、転送専用のプロセス(すなわち、データプレーン)を利用することにより高速転送を実現しているが、コントロールプレーンを介して通信することにより、十分な性能が出せなくなる。
【0008】
また、HTTPSのセッションを一度終端すると、証明書などの管理も発生し、より多くの処理が必要になる。
【0009】
本発明は、プロキシサーバが存在する環境においても、通信の性能を低下させずに、sFlowが収集したフローデータのアクセス先を特定できるようにすることによって、通信状況を可視化することを目的とする。
【課題を解決するための手段】
【0010】
本発明者らは、CONNECTメソッドが含んでいるドメイン情報から得られるサービスの名称(例えば、アプリケーションプログラムの名称)を、TCPセッションテーブルと共に保存しておくことにより、sFlowで収集されたフローデータにサービスの名称を紐づけることを見出し、本発明を完成するに至った。
(【0011】以降は省略されています)
この特許をJ-PlatPat(特許庁公式サイト)で参照する
関連特許
個人
イヤーピース
8日前
個人
イヤーマフ
22日前
個人
監視カメラシステム
1か月前
個人
スイッチシステム
16日前
キーコム株式会社
光伝送線路
1か月前
WHISMR合同会社
収音装置
2か月前
個人
スキャン式車載用撮像装置
1か月前
サクサ株式会社
中継装置
1か月前
サクサ株式会社
中継装置
1か月前
キヤノン株式会社
撮像装置
2か月前
アイホン株式会社
電気機器
1か月前
株式会社リコー
画像形成装置
24日前
サクサ株式会社
無線システム
1か月前
キヤノン電子株式会社
画像読取装置
16日前
キヤノン電子株式会社
画像読取装置
1か月前
個人
映像表示装置、及びARグラス
17日前
キヤノン電子株式会社
画像読取装置
8日前
株式会社リコー
画像形成装置
2か月前
サクサ株式会社
無線通信装置
1か月前
個人
ワイヤレスイヤホン対応耳掛け
1か月前
キヤノン電子株式会社
画像読取装置
2か月前
サクサ株式会社
無線通信装置
1か月前
株式会社リコー
画像形成装置
2か月前
株式会社リコー
画像形成装置
3か月前
ヤマハ株式会社
放音制御装置
16日前
キヤノン株式会社
画像処理装置
11日前
ブラザー工業株式会社
読取装置
3か月前
個人
発信機及び発信方法
1か月前
キヤノン株式会社
撮像システム
1か月前
キヤノン電子株式会社
シート搬送装置
8日前
日本電気株式会社
海底分岐装置
1か月前
有限会社フィデリックス
マイクロフォン
1か月前
株式会社NTTドコモ
端末
1か月前
大日本印刷株式会社
写真撮影装置
1か月前
株式会社松平商会
携帯機器カバー
2か月前
シャープ株式会社
端末装置
29日前
続きを見る
他の特許を見る