TOP
|
特許
|
意匠
|
商標
特許ウォッチ
Twitter
他の特許を見る
10個以上の画像は省略されています。
公開番号
2025153402
公報種別
公開特許公報(A)
公開日
2025-10-10
出願番号
2024055877
出願日
2024-03-29
発明の名称
コネクタ接続構造
出願人
古河電気工業株式会社
,
古河AS株式会社
代理人
弁理士法人酒井国際特許事務所
主分類
G02B
6/36 20060101AFI20251002BHJP(光学)
要約
【課題】長手方向に対して交差する方向の制振性や耐振性を向上させること。
【解決手段】少なくとも1つの接続部を備えた第1コネクタと、第1コネクタと接続可能に構成された、第1コネクタと対になる第2コネクタとを有するコネクタであって、第1コネクタと第2コネクタとの接続部の周囲に設けられた制振部材を備える。制振部材は、第1コネクタと第2コネクタとが嵌合された状態の場合であって、接続部の周囲の全体に設けられる。接続部の周囲に設けられた制振部材は、衝撃を抑制可能に構成された弾性体または緩衝材などからなる材料から構成されるか、第1コネクタと第2コネクタとの接続部を収納するハウジングを備え、制振部材は、ハウジングに充填された弾性体または緩衝材などからなる材料から構成される。
【選択図】図4
特許請求の範囲
【請求項1】
少なくとも1つの接続部を備えた第1コネクタと、前記第1コネクタと接続可能に構成された、前記第1コネクタと対になる第2コネクタとを有するコネクタ接続構造であって、
前記第1コネクタと前記第2コネクタとの接続部の周囲に設けられた制振部材を備える
ことを特徴とするコネクタ接続構造。
続きを表示(約 420 文字)
【請求項2】
前記制振部材は、前記第1コネクタと前記第2コネクタとが嵌合された状態で、前記接続部の周囲の全体に設けられている
ことを特徴とする請求項1に記載のコネクタ接続構造。
【請求項3】
前記接続部の周囲に設けられた前記制振部材は、衝撃を抑制可能に構成された弾性体または緩衝材から構成される
ことを特徴とする請求項1または2に記載のコネクタ接続構造。
【請求項4】
前記第1コネクタと前記第2コネクタとの前記接続部を収納するハウジングを備え、前記制振部材は、前記ハウジングに充填された弾性体または緩衝材からなる材料から構成される
ことを特徴とする請求項1または2に記載のコネクタ接続構造。
【請求項5】
前記制振部材は、少なくとも2通りの制振特性が異なる材料からなる積層構造から構成される
ことを特徴とする請求項4に記載のコネクタ接続構造。
発明の詳細な説明
【技術分野】
【0001】
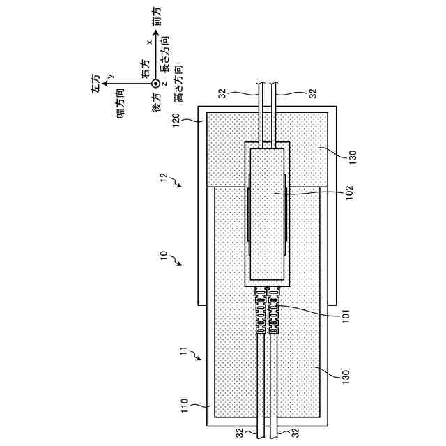
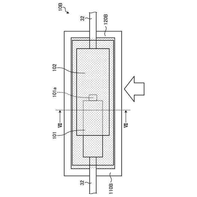
本発明は、コネクタ接続構造に関する。
続きを表示(約 1,100 文字)
【背景技術】
【0002】
特許文献1には、第一突合面と第二突合面の間をゲル状透光体またはゴム状透光体によって埋めた構成の光コネクタが記載されている。
【先行技術文献】
【特許文献】
【0003】
特開2017-78819号公報
【発明の概要】
【発明が解決しようとする課題】
【0004】
しかしながら、上述した従来技術においては、光コネクタの長手方向に対して交差した径方向の制振性の向上を図ることが困難であるという問題があった。そのため、光プラグなどの第1コネクタと光アダプタなどの第2コネクタとが接続されて構成されたコネクタ接続構造において径方向に対する制振性や耐振性を向上させる技術が求められていた。
【0005】
本発明は、上記に鑑みてなされたものであって、その目的は、長手方向に対して交差する方向の制振性や耐振性を向上させることができるコネクタ接続構造を提供することにある。
【課題を解決するための手段】
【0006】
上述した課題を解決し、上記目的を達成するために、本発明に係るコネクタ接続構造は、少なくとも1つの接続部を備えた第1コネクタと、前記第1コネクタと接続可能に構成された、前記第1コネクタと対になる第2コネクタとを有するコネクタ接続構造であって、前記第1コネクタと前記第2コネクタとの接続部の周囲に設けられた制振部材を備えることを特徴とする。
【0007】
本発明の一態様に係るコネクタ接続構造は、上記の発明において、前記制振部材は、前記第1コネクタと前記第2コネクタとが嵌合された状態で、前記接続部の周囲の全体に設けられていることを特徴とする。
【0008】
本発明の一態様に係るコネクタ接続構造は、上記の発明において、前記接続部の周囲に設けられた前記制振部材は、衝撃を抑制可能に構成された弾性体または緩衝材から構成されることを特徴とする。
【0009】
本発明の一態様に係るコネクタ接続構造は、上記の発明において、前記第1コネクタと前記第2コネクタとの前記接続部を収納するハウジングを備え、前記制振部材は、前記ハウジングに充填された弾性体または緩衝材からなる材料から構成されることを特徴とする。
【0010】
本発明の一態様に係るコネクタ接続構造は、上記の発明において、前記制振部材は、少なくとも2通りの制振特性が異なる材料からなる積層構造から構成されることを特徴とする。
【発明の効果】
(【0011】以降は省略されています)
この特許をJ-PlatPat(特許庁公式サイト)で参照する
関連特許
古河電気工業株式会社
融着機
1か月前
古河電気工業株式会社
コネクタ付き電線
28日前
古河電気工業株式会社
ケーブル及びケーブルシステム
1か月前
古河電気工業株式会社
保護部材及びワイヤーハーネス
1か月前
古河電気工業株式会社
通信システム、プログラム及び通信方法
1か月前
古河電気工業株式会社
通信システム、プログラム及び通信方法
1か月前
古河電気工業株式会社
通信システム、プログラム及び通信方法
1か月前
古河電気工業株式会社
通信システム、プログラム及び通信方法
1か月前
古河電気工業株式会社
光ファイバ心線および光ファイバ心線の製造方法
15日前
古河電気工業株式会社
端子付き電線及びその製造方法、並びにコネクタ付き電線
28日前
古河電気工業株式会社
端子付き電線及びその製造方法、並びにコネクタ付き電線
28日前
古河電気工業株式会社
端子付き電線およびその製造方法、ならびにコネクタ付き電線
28日前
株式会社UACJ
磁気ディスク用アルミニウム合金板及び磁気ディスク
1か月前
古河AS株式会社
結束具及びこれを利用する電線束並びにワイヤハーネス
2日前
古河電気工業株式会社
端子付き電線およびその製造方法、電線用端子、ならびにコネクタ付き電線
28日前
古河電気工業株式会社
皮膜除去方法および皮膜除去装置
1か月前
古河電気工業株式会社
絶縁電線、コイル、電気・電子機器、及び電気・電子機器の製造方法
9日前
古河ネットワークソリューション株式会社
プロキシサーバ配下における通信可視化装置、通信可視化方法、及び通信可視化プログラム
23日前
古河電気工業株式会社
磁気ディスク用基板及び磁気ディスク用基板の熱拡散率測定方法、磁気ディスク用基板の検査方法、磁気ディスク用基板の製造方法、ならびに磁気ディスク
1か月前
株式会社シグマ
結像光学系
28日前
アイカ工業株式会社
反射防止フィルム
2日前
豊田合成株式会社
調光装置
15日前
株式会社コシナ
投射ズームレンズ
21日前
日東電工株式会社
導光部材
28日前
日本精機株式会社
ヘッドアップディスプレイ
28日前
キヤノン株式会社
表示装置
7日前
日本精機株式会社
ヘッドアップディスプレイ装置
28日前
京セラ株式会社
アイソレータ
7日前
マクセル株式会社
映像表示装置
21日前
株式会社リコー
光走査装置及び画像形成装置
28日前
レーザーテック株式会社
光学装置及び調整方法
28日前
マクセル株式会社
空中浮遊映像表示装置
15日前
株式会社小糸製作所
画像投影装置
15日前
株式会社小糸製作所
画像生成装置
23日前
株式会社小糸製作所
画像表示装置
23日前
株式会社小糸製作所
画像生成装置
9日前
続きを見る
他の特許を見る