TOP
|
特許
|
意匠
|
商標
特許ウォッチ
Twitter
他の特許を見る
10個以上の画像は省略されています。
公開番号
2025163912
公報種別
公開特許公報(A)
公開日
2025-10-30
出願番号
2024067550
出願日
2024-04-18
発明の名称
通信システム、プログラム及び通信方法
出願人
古河電気工業株式会社
代理人
個人
,
個人
主分類
H04W
36/22 20090101AFI20251023BHJP(電気通信技術)
要約
【課題】通信環境が変化する場合であっても、無線通信の信頼性を担保できる通信システム、プログラム及び通信方法を提供すること。
【解決手段】通信システム100は、予定経路情報を取得する経路情報取得部104と、基地局情報を取得する基地局情報取得部105と、HO先基地局への切替を実行させる受信電波強度の切替用閾値を取得する閾値取得部107と、HO予測エリアを取得するHO予測エリア取得部108と、HO予測エリアに自車両81が到着する予定到着時刻を予測する到着時刻予測部109と、HO予測エリアに到達するまでに、HO予測エリアでの基地局72からの電波の受信電波強度を予測する受信電波強度予測部110と、予測された受信電波強度と切替用閾値R0との比較結果に基づいて、移動通信支援情報を生成して出力する出力処理部112と、を備える。
【選択図】図8
特許請求の範囲
【請求項1】
移動体に搭載され、無線回線を介して基地局との間でデータを送受信する無線通信部を備える通信システムであって、
入力された情報に基づいて、移動体が移動する予定の経路に関する経路情報が生成され、前記経路情報を取得する経路情報取得部と、
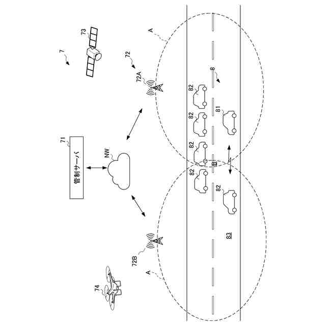
取得した前記経路情報に含まれている経路の通信エリアをカバーする複数の基地局それぞれの位置情報を含む基地局情報を取得する基地局情報取得部と、
前記無線通信部に新たな接続先となる基地局への切替を実行させる受信電波強度の切替用閾値を取得する閾値取得部と、
少なくとも前記位置情報に基づいて、前記経路情報に含まれている経路において、前記無線通信部が現在接続している基地局を他の基地局に切り替えるハンドオーバの発生が予測されるハンドオーバ予測エリアを取得するハンドオーバ予測エリア取得部と、
前記ハンドオーバ予測エリアに移動体が到着する到着時刻を予測する到着時刻予測部と、
前記ハンドオーバ予測エリアに到達するまでに、前記到着時刻における前記ハンドオーバ予測エリアでの前記基地局からの電波の受信電波強度を予測する受信電波強度予測部と、
前記受信電波強度予測部によって予測された前記受信電波強度と前記切替用閾値との比較結果に基づいて、移動通信支援情報を生成して出力する出力処理部と、を備える通信システム。
続きを表示(約 1,400 文字)
【請求項2】
前記出力処理部は、前記予測された受信電波強度が前記切替用閾値以下である場合に、前記無線通信部と前記基地局との間の通信品質の劣化を予報する情報を前記移動通信支援情報として出力する請求項1に記載の通信システム。
【請求項3】
前記出力処理部は、前記予測された受信電波強度が前記切替用閾値以下である場合に、前記ハンドオーバ予測エリアを回避する回避経路を生成し、生成した回避経路を前記移動通信支援情報として出力する請求項1に記載の通信システム。
【請求項4】
前記移動体の移動情報を検出する車内センサと、前記移動体の周囲の状況を示す情報を検出する車外センサと、を更に備え、
前記出力処理部は、前記車内センサ及び前記車外センサの少なくともいずれかによって検出された情報を加味して、前記回避経路を生成する請求項3に記載の通信システム。
【請求項5】
前記予測された受信電波強度が前記切替用閾値以下であり、前記無線通信部による外部とのデータの送受信により実行される前記移動体の機能を制限する必要がある場合に、その機能を制限する機能調整部を更に備える請求項1に記載の通信システム。
【請求項6】
前記出力処理部は、前記機能調整部による前記移動体の機能の制限を予報する前記移動通信支援情報を出力した場合に、制限される機能の継続又は停止を前記移動体の運転者に選択させるための選択情報を前記移動通信支援情報として出力する請求項5に記載の通信システム。
【請求項7】
前記移動体は、自動運転車両であり、
前記機能調整部は、前記移動体の機能の制限が予報された機能が自動運転に関わる機能である場合に、自動運転レベルを変更し、
前記出力処理部は、前記機能調整部によって自動運転レベルが変更される前に、自動運転レベルの変更を前記移動通信支援情報として出力する請求項6に記載の通信システム。
【請求項8】
前記出力処理部は、前記機能の制限が予報された機能が自動運転に関わる衝突安全機能である場合に、前記移動体の制御モードの自動制御から手動制御への切り替えを促すための情報を前記移動通信支援情報として出力する請求項7に記載の通信システム。
【請求項9】
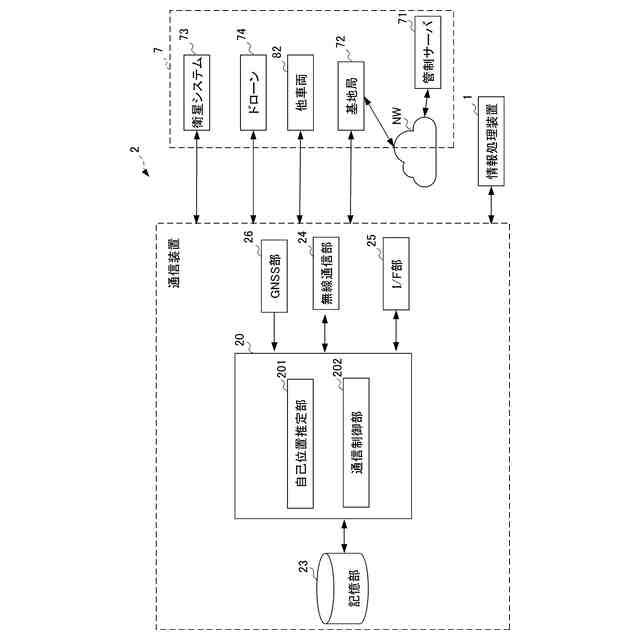
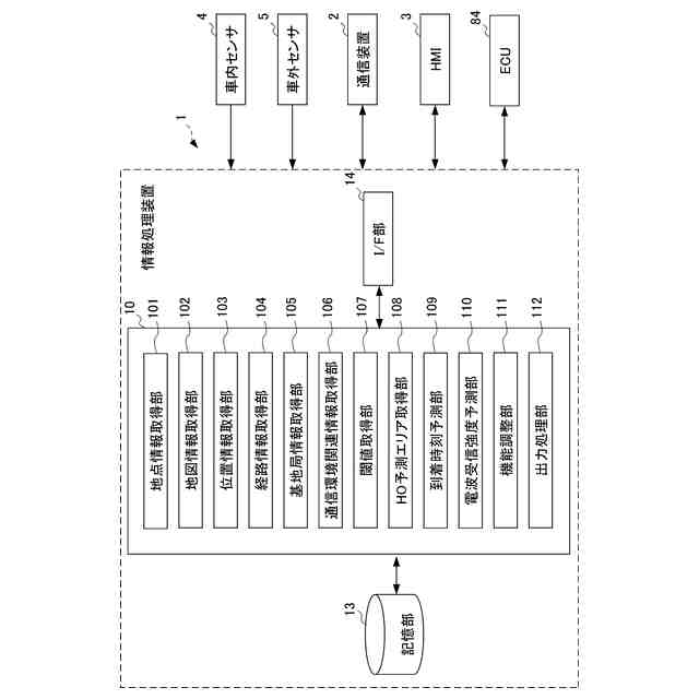
前記経路情報取得部、前記基地局情報取得部、前記閾値取得部、前記ハンドオーバ予測エリア取得部、前記到着時刻予測部、前記受信電波強度予測部、前記出力処理部を有する情報処理装置と、
外部通信装置及び前記情報処理装置と双方向通信を行う前記無線通信部を有する通信装置と、を備える請求項1に記載の通信システム。
【請求項10】
前記情報処理装置は、前記通信装置と、前記移動体の移動情報を検出する車内センサと、前記移動体の周囲の状況を検出する車外センサと、前記移動体の運転者による入力操作を受け付けるとともに、運転者に対して情報を出力する入出力装置と、通信可能であり、
前記通信装置、前記車内センサ、前記車外センサ、及び前記入出力装置から取得した情報に基づいて、前記経路情報の生成、前記ハンドオーバ予測エリアの予測、前記到着時刻の予測、前記ハンドオーバ予測エリアでの前記基地局からの受信電波強度の予測を行う請求項9に記載の通信システム。
(【請求項11】以降は省略されています)
発明の詳細な説明
【技術分野】
【0001】
本発明は、通信システム、プログラム及び通信方法に関する。
続きを表示(約 1,800 文字)
【背景技術】
【0002】
従来、自動運転等の車両の各種機能を実行するために、外部と各種データを無線通信する技術が知られている。例えば特許文献1には、自動運転支援センタとの通信が途絶した場合に、通信状況情報に基づいて、自動走行を継続するか否かの決定等を行う技術が記載されている。また特許文献2には、データの抜けがある場合に、前回受信した情報でデータ抜けを補完して支援用データを生成し、走行支援装置に出力する技術が記載されている。
【先行技術文献】
【特許文献】
【0003】
特開2021-71753号公報
特開2017-173904号公報
【発明の概要】
【発明が解決しようとする課題】
【0004】
しかしながら、特許文献1の技術では、通信の途絶の有無によって通信状態を判断しており、通信の途絶が発生するまでは通信品質の悪化を把握できない問題点がある。特許文献2ではデータ抜けが発生した場合に、データ抜けを補完し、データロスのカウント情報で信頼性を評価するため、信頼性に乏しいデータ送受信が生じるとともに、データ抜けが発生するまで通信品質低下の事態を把握できない問題点がある。このため、通信の信頼性を担保するという点で改善の余地があった。
【0005】
本発明は、通信環境が変化する場合であっても、無線通信の信頼性を担保できる通信システム、プログラム及び通信方法を提供することを目的とする。
【課題を解決するための手段】
【0006】
(1)通信システムは、移動体に搭載され、無線回線を介して基地局との間でデータを送受信する無線通信部を備える通信システムであって、入力された情報に基づいて、移動体が移動する予定の経路に関する経路情報が生成され、前記経路情報を取得する経路情報取得部と、取得した前記経路情報に含まれている経路の通信エリアをカバーする複数の基地局それぞれの位置情報を含む基地局情報を取得する基地局情報取得部と、前記無線通信部に新たな接続先となる基地局への切替を実行させる受信電波強度の切替用閾値を取得する閾値取得部と、少なくとも前記位置情報に基づいて、前記経路情報に含まれている経路において、前記無線通信部が現在接続している基地局を他の基地局に切り替えるハンドオーバの発生が予測されるハンドオーバ予測エリアを取得するハンドオーバ予測エリア取得部と、前記ハンドオーバ予測エリアに移動体が到着する到着時刻を予測する到着時刻予測部と、前記ハンドオーバ予測エリアに到達するまでに、前記到着時刻における前記ハンドオーバ予測エリアでの前記基地局からの電波の受信電波強度を予測する受信電波強度予測部と、前記受信電波強度予測部によって予測された前記受信電波強度と前記切替用閾値との比較結果に基づいて、移動通信支援情報を生成して出力する出力処理部と、を備える。
【0007】
(2)(1)に記載の通信システムにおいて、前記出力処理部は、前記予測された受信電波強度が前記切替用閾値以下である場合に、前記無線通信部と前記基地局との間の通信品質の劣化を予報する情報を前記移動通信支援情報として出力する。
【0008】
(3)(1)又は(2)に記載の通信システムにおいて、前記出力処理部は、前記予測された受信電波強度が前記切替用閾値以下である場合に、前記ハンドオーバ予測エリアを回避する回避経路を生成し、生成した回避経路を前記移動通信支援情報として出力する。
【0009】
(4)(3)に記載の通信システムは、前記移動体の移動情報を検出する車内センサと、前記移動体の周囲の状況を示す情報を検出する車外センサと、を更に備え、前記出力処理部は、前記車内センサ及び前記車外センサの少なくともいずれかによって検出された情報を加味して、前記回避経路を生成する。
【0010】
(5)(1)~(4)のいずれかに記載の通信システムは、前記予測された受信電波強度が前記切替用閾値以下であり、前記無線通信部による外部とのデータの送受信により実行される前記移動体の機能を制限する必要がある場合に、その機能を制限する機能調整部を更に備える。
(【0011】以降は省略されています)
この特許をJ-PlatPat(特許庁公式サイト)で参照する
関連特許
個人
イヤーピース
29日前
個人
イヤーマフ
1か月前
個人
監視カメラシステム
1か月前
キーコム株式会社
光伝送線路
1か月前
個人
スイッチシステム
1か月前
個人
スキャン式車載用撮像装置
1か月前
サクサ株式会社
中継装置
1か月前
サクサ株式会社
中継装置
1か月前
キヤノン株式会社
撮像装置
1日前
キヤノン株式会社
撮像装置
1日前
キヤノン株式会社
撮像装置
1日前
キヤノン株式会社
撮像装置
8日前
キヤノン電子株式会社
画像読取装置
29日前
ヤマハ株式会社
放音制御装置
1か月前
株式会社リコー
画像形成装置
1か月前
個人
映像表示装置、及びARグラス
1か月前
サクサ株式会社
無線システム
1か月前
サクサ株式会社
無線通信装置
1か月前
サクサ株式会社
無線通信装置
1か月前
キヤノン電子株式会社
画像読取装置
1か月前
キヤノン電子株式会社
画像読取装置
1か月前
個人
発信機及び発信方法
1か月前
キヤノン株式会社
画像処理装置
1か月前
キヤノン電子株式会社
シート搬送装置
29日前
キヤノン株式会社
情報処理装置
16日前
日本電気株式会社
海底分岐装置
1か月前
シャープ株式会社
端末装置
1か月前
日本セラミック株式会社
超音波送受信器
16日前
キヤノン電子株式会社
画像処理システム
1か月前
有限会社フィデリックス
マイクロフォン
2か月前
株式会社JVCケンウッド
通信システム
2か月前
株式会社NTTドコモ
端末
1か月前
株式会社NTTドコモ
端末
1か月前
沖電気工業株式会社
画像形成装置
2か月前
株式会社NTTドコモ
端末
1か月前
株式会社NTTドコモ
端末
1か月前
続きを見る
他の特許を見る